СИСТЕМА КУРСОВОЙ УСТОЙЧИВОСТИ, Diagnostic DTC:C1432

Код DTC Наименование DTC
C1432 Недопустимое напряжение питания датчика угла поворота рулевого колеса

ОПИСАНИЕ

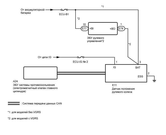
Сигналы датчика положения рулевого колеса передаются в ЭБУ системы противоскольжения (электромагнитный клапан главного цилиндра) через мультиплексную шину CAN. Когда возникает неисправность в мультиплексной шине CAN, она регистрируется функцией диагностики ошибки "нуля" датчика угла поворота рулевого колеса.

Код DTC Условие обнаружения DTC Неисправный участок
C1432 От датчика положения рулевого колеса поступает сигнал неисправности в линии питания этого датчика.
  • Предохранитель ECU-B1

  • Предохранитель ECU-IG № 2

  • Питание датчика положения рулевого колеса

  • Датчик положения рулевого колеса

  • ЭБУ рулевого управления (для моделей с VGRS)

СХЕМА ЭЛЕКТРИЧЕСКИХ СОЕДИНЕНИЙ

A01X5MGE04

ПРЕДОСТЕРЕЖЕНИЕ / ПРИМЕЧАНИЕ / УКАЗАНИЕ

Note


  • В случае замены датчика положения рулевого колеса убедитесь, что новая деталь имеет надлежащие характеристики.

  • Перед выполнением следующей процедуры проверки проверьте предохранители цепей, относящихся к данной системе.

Tech Tips

Если неисправен датчик частоты вращения или датчик рысканья в сборе, коды DTC для датчика положения рулевого колеса могут регистрироваться даже в том случае, если этот датчик функционирует нормально. Если совместно с DTC датчика положения рулевого колеса выводятся коды DTC для датчика частоты вращения или датчика рысканья, приступать к поиску и устранению неисправностей датчика положения рулевого колеса следует только после проверки и ремонта датчика частоты вращения или датчика рысканья.

ПОРЯДОК ВЫПОЛНЕНИЯ


  1. ПРОВЕРЬТЕ DTC (СИСТЕМА ПЕРЕДАЧИ ДАННЫХ CAN)


    1. Проверьте коды DTC (см. стр. Click here).

      Результат
      Результат Перейти к
      DTC для CAN не выводится А
      DTC для CAN выводится (для моделей с левосторонним рулевым управлением) B
      DTC для CAN выводится (для моделей с левосторонним рулевым управлением) C

    B
    C
    А
  2. ПРОВЕРЬТЕ ЖГУТ ПРОВОДОВ И РАЗЪЕМ (КОНТАКТ IG/ESS)


    1. Выключите зажигание.

    2. Убедитесь, что фиксирующая и соединительная части разъемов не ослаблены.

    3. A01XC26E02
      Обозначения на рисунке
      *a

      Вид спереди разъема со стороны жгута проводов:

      (к датчику положения рулевого колеса)

      Отсоедините разъем датчика положения рулевого колеса.

    4. Измерьте напряжение в соответствии со значениями, приведенными в таблице.

      Номинальное напряжение
      Подключение диагностического прибора Положение переключателя Заданные условия
      E11-1 (IG) - масса Зажигание включено 11-14 В
    5. Измерьте сопротивление в соответствии со значениями, приведенными в таблице ниже.

      Номинальное сопротивление
      Подключение диагностического прибора Условие Заданные условия
      E11-2 (ESS) - масса Всегда Менее 1 Ом

    NG
    OK
  3. ПРОВЕРЬТЕ ЖГУТ ПРОВОДОВ И РАЗЪЕМ (КОНТАКТ BAT)


    1. Выключите зажигание.

    2. A01WZGKE02
      Обозначения на рисунке
      *a

      Вид спереди разъема со стороны жгута проводов:

      (к датчику положения рулевого колеса)

      Отсоедините разъем датчика положения рулевого колеса.

    3. Измерьте напряжение в соответствии со значениями, приведенными в таблице.

      Номинальное напряжение
      Подключение диагностического прибора Условие Заданные условия
      E11-3 (BAT) - масса Всегда 11–14 В
      Результат
      Результат Следующий шаг
      OK А
      NG (для моделей с VGRS) B
      NG (для моделей без VGRS) C

    А
    C
    B
  4. ПРОВЕРЬТЕ ЖГУТ ПРОВОДОВ И РАЗЪЕМ (КОНТАКТ +BI)


    1. Выключите зажигание.

    2. A01X5DBE02
      Обозначения на рисунке
      *a

      Вид спереди разъема со стороны жгута проводов:

      (к ЭБУ рулевого управления)

      Отсоедините разъем ЭБУ рулевого управления.

    3. Измерьте напряжение в соответствии со значениями, приведенными в таблице.

      Номинальное напряжение
      Подключение диагностического прибора Условие Заданные условия
      E77-10 (+BI) - масса Всегда 11-14 В

    NG
    OK
  5. ПРОВЕРЬТЕ ЖГУТ ПРОВОДОВ И РАЗЪЕМ (ДАТЧИК ПОЛОЖЕНИЯ РУЛЕВОГО КОЛЕСА - ЭБУ РУЛЕВОГО УПРАВЛЕНИЯ)


    1. Выключите зажигание.

    2. Отсоедините разъем E11 датчика положения рулевого колеса.

    3. Отсоедините разъем E79 ЭБУ рулевого управления.

    4. Измерьте сопротивление в соответствии со значениями, приведенными в таблице ниже.

      Номинальное сопротивление
      Подключение диагностического прибора Условие Заданные условия
      E11-3 (BAT) - E79-1 (+BO) Всегда Менее 1 Ом
      E11-3 (BAT) - масса Всегда 10 кОм или более
      Результат
      Результат Перейти к
      NG А
      OK (для моделей с левосторонним рулевым управлением) B
      OK (для моделей с правосторонним рулевым управлением) C

    А
    B
    C