VEHICLE STABILITY CONTROL SYSTEM, Diagnostic DTC:C1405, C1406

DTC Code DTC Name
C1405 Open or Short in Front Speed Sensor RH Circuit
C1406 Open or Short in Front Speed Sensor LH Circuit

DESCRIPTION

Refer to DTCs C1401 and C1402.

Click here

DTC No. Detection Item DTC Detection Condition Trouble Area
C1405 Open or Short in Front Speed Sensor RH Circuit

Either of the following is detected:


  1. An open in the speed sensor signal circuit continues for 0.5 seconds or more.

  2. With the +BS terminal voltage at 9.5 V or higher, the sensor power supply voltage decreases for 0.5 seconds or more.


  • Front speed sensor RH

  • Skid control ECU (Brake actuator assembly)

  • Wire harness or connector

C1406 Open or Short in Front Speed Sensor LH Circuit

Either of the following is detected:


  1. An open in the speed sensor signal circuit continues for 0.5 seconds or more.

  2. With the +BS terminal voltage at 9.5 V or higher, the sensor power supply voltage decreases for 0.5 seconds or more.


  • Front speed sensor LH

  • Skid control ECU (Brake actuator assembly)

  • Wire harness or connector

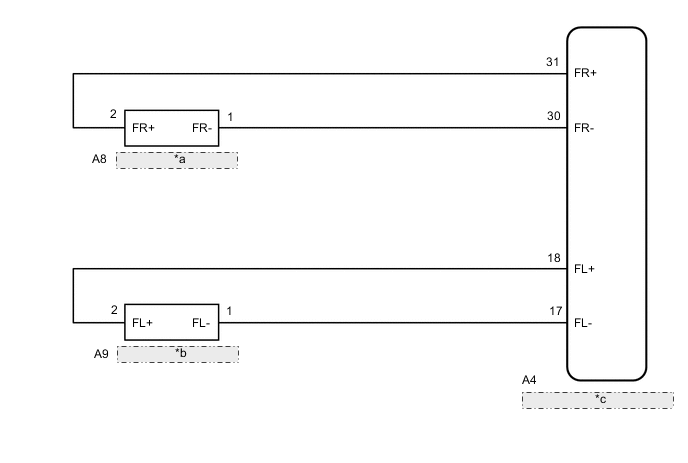
WIRING DIAGRAM

B0028E2E58
*a Front Speed Sensor RH
*b Front Speed Sensor LH
*c Skid Control ECU (Brake Actuator Assembly)

CAUTION / NOTICE / HINT

Note

When replacing the skid control ECU (brake actuator assembly), perform zero point calibration and store system information.

Click here

PROCEDURE


  1. CHECK HARNESS AND CONNECTOR (MOMENTARY INTERRUPTION)


    1. Using the GTS, check for any momentary interruption in the wire harness and connector corresponding to the DTC.

      Click here


      Chassis > ABS/VSC/TRC > Data List
      Tester Display Measurement Item Range Normal Condition Diagnostic Note
      FR Speed Open Front speed sensor RH open detection Normal or Error Normal Error: Momentary interruption
      FL Speed Open Front speed sensor LH open detection Normal or Error Normal Error: Momentary interruption

      Chassis > ABS/VSC/TRC > Data List
      Tester Display
      FR Speed Open
      FL Speed Open
      OK
      Normal (There are no momentary interruptions.)

      Tech Tips

      Perform the above inspection before removing the sensor and connector.

      Result
      Proceed to
      OK
      NG

    NG
    OK
  2. READ VALUE USING GTS (FRONT SPEED SENSOR)


    1. Turn the ignition switch off.

    2. Connect the GTS to the DLC3.

    3. Start the engine.

    4. Turn the GTS on.

    5. Enter the following menus: Chassis / ABS/VSC/TRC / Data List.

    6. According to the display on the GTS, read the Data List.


      Chassis > ABS/VSC/TRC > Data List
      Tester Display Measurement Item Range Normal Condition Diagnostic Note
      FR Wheel Speed Front wheel speed sensor RH reading

      Min.: 0 km/h (0 mph)

      Max.: 326.4 km/h (202 mph)

      Vehicle stopped: 0 km/h (0 mph) When driving at constant speed: No large fluctuations
      FL Wheel Speed Front wheel speed sensor LH reading

      Min.: 0 km/h (0 mph)

      Max.: 326.4 km/h (202 mph)

      Vehicle stopped: 0 km/h (0 mph) When driving at constant speed: No large fluctuations

      Chassis > ABS/VSC/TRC > Data List
      Tester Display
      FR Wheel Speed
      FL Wheel Speed
    7. Check that there is no difference between the speed value output from the speed sensor displayed on the GTS and the speed value displayed on the speedometer when driving the vehicle.

      Tech Tips

      Factors that affect the indicated vehicle speed include tire size, tire inflation and tire wear. The speed indicated on the speedometer has an allowable margin of error. This can be tested using a speedometer tester (calibrated chassis dynamometer). For details about testing and the margin of error, see the reference chart.

      Click here

      OK
      The speed value output from the speed sensor displayed on the GTS is the same as the actual vehicle speed measured using a speedometer tester (calibrated chassis dynamometer).

      Tech Tips

      If troubleshooting has been carried out according to the Problem Symptoms Table, refer back to the table and proceed to the next step.

      Click here

      Result
      Proceed to
      OK
      NG

    NG
    OK
  3. RECONFIRM DTC


    1. Clear the DTCs.

      Click here


      Chassis > ABS/VSC/TRC > Clear DTCs
    2. Turn the ignition switch off.

    3. Start the engine.

    4. Perform a road test

    5. Check if the same DTC is recorded.

      Click here


      Chassis > ABS/VSC/TRC > Trouble Codes
      Result
      Proceed to
      DTCs C1405 and C1406 are not output
      DTCs C1405 and/or C1406 are output

    DTCs C1405 and C1406 are not output
    DTCs C1405 and/or C1406 are output
  4. CHECK HARNESS AND CONNECTOR (BRAKE ACTUATOR ASSEMBLY - FRONT SPEED SENSOR)


    1. Turn the ignition switch off.

    2. Make sure that there is no looseness at the locking part and the connecting part of the connectors.

    3. Disconnect the A4 skid control ECU (brake actuator assembly) connector and the A8 and/or A9 front speed sensor connector.

    4. Measure the resistance according to the value(s) in the table below.

      Standard Resistance
      for RH
      Tester Connection Condition Specified Condition
      A4-31 (FR+) - A8-2 (FR+) Always Below 1 Ω
      A4-30 (FR-) - A8-1 (FR-) Always Below 1 Ω
      A4-31 (FR+) or A8-2 (FR+) - Body ground Always 10 kΩ or higher
      A4-30 (FR-) or A8-1 (FR-) - Body ground Always 10 kΩ or higher
      for LH
      Tester Connection Condition Specified Condition
      A4-18 (FL+) - A9-2 (FL+) Always Below 1 Ω
      A4-17 (FL-) - A9-1 (FL-) Always Below 1 Ω
      A4-18 (FL+) or A9-2 (FL+) - Body ground Always 10 kΩ or higher
      A4-17 (FL-) or A9-1 (FL-) - Body ground Always 10 kΩ or higher
      Result
      Proceed to
      OK
      NG

    NG
    OK
  5. INSPECT BRAKE ACTUATOR ASSEMBLY (SENSOR OUTPUT)


    1. B0027AAC11
      *A for RH
      *B for LH
      *a

      Front view of wire harness connector

      (to Front Speed Sensor)

      Reconnect the A4 skid control ECU (brake actuator assembly) connector.

    2. Turn the ignition switch to ON.

    3. Measure the voltage according to the value(s) in the table below.

      Standard Voltage
      for RH
      Tester Connection Switch Condition Specified Condition
      A8-2 (FR+) - Body ground Ignition switch ON 8 to 14 V
      for LH
      Tester Connection Switch Condition Specified Condition
      A9-2 (FL+) - Body ground Ignition switch ON 8 to 14 V
      Result
      Proceed to
      OK
      NG

    OK
    NG