AIRBAG SYSTEM, Diagnostic DTC:B163B/86, B163C/86

DTC Code DTC Name
B163B/86 Side Airbag Sensor Assembly No.2 Lost Communication (LH)
B163C/86 Side Airbag Sensor Assembly No.2 Initialization Error (LH)

DESCRIPTION

The side collision sensor LH circuit (bus 2) consists of the airbag sensor assembly and side airbag sensor assembly LH.

The side airbag sensor assembly LH detects impacts to the vehicle and sends signals to the airbag sensor assembly to determine if the airbags and pretensioners should be deployed.

These DTCs are stored when a malfunction is detected in the side collision sensor LH circuit (bus 2).

DTC No. Detection Item DTC Detection Condition Trouble Area Test Mode / Check Mode
B163B/86 Side Airbag Sensor Assembly No.2 Lost Communication (LH)
  • The airbag sensor assembly detects a line short, short to ground or B+, or an open in the side collision sensor LH circuit (bus 2).

  • Side airbag sensor assembly LH malfunction

  • Airbag sensor assembly malfunction


  • No. 2 floor wire

  • Side airbag sensor assembly LH

  • Airbag sensor assembly

Does not apply to test/check mode
B163C/86 Side Airbag Sensor Assembly No.2 Initialization Error (LH)
  • The airbag sensor assembly detects a line short, short to ground or B+, or an open in the side collision sensor LH circuit (bus 2).

  • Side airbag sensor assembly LH malfunction

  • Airbag sensor assembly malfunction


  • No. 2 floor wire

  • Side airbag sensor assembly LH

  • Airbag sensor assembly

Does not apply to test/check mode

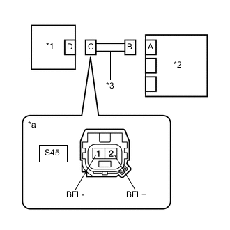
WIRING DIAGRAM

B007Y63E18
*a BFL+
*b BFL-
*c Side Airbag Sensor Assembly LH
*d Airbag Sensor Assembly

CAUTION / NOTICE / HINT

Note

After turning the engine switch off, waiting time may be required before disconnecting the cable from the negative (-) battery terminal. Therefore, make sure to read the disconnecting the cable from the negative (-) battery terminal notices before proceeding with work.

Click here

PROCEDURE


  1. CHECK CONNECTORS


    1. Turn the engine switch off.

    2. Disconnect the cable from the negative (-) battery terminal.

      CAUTION:

      Wait at least 90 seconds after disconnecting the cable from the negative (-) battery terminal to disable the SRS system.

    3. Check that the connectors are properly connected to the airbag sensor assembly and side airbag sensor assembly LH.

      OK
      The connectors are properly connected.

      Tech Tips

      If the connectors are not properly connected, reconnect the connectors and proceed to the next inspection.

    4. Disconnect the connectors from the airbag sensor assembly and side airbag sensor assembly LH.

    5. Check that the terminals of the connectors are not deformed or damaged.

      OK
      The terminals are not deformed or damaged.
      Result
      Proceed to
      OK
      NG

    NG
    OK
  2. CHECK NO. 2 FLOOR WIRE (OPEN)


    1. B007X58C02
      *1 Side Airbag Sensor Assembly LH
      *2 Airbag Sensor Assembly
      *3 No. 2 Floor Wire
      *4 Service Wire
      *a

      Front view of wire harness connector

      (to Airbag Sensor Assembly)

      *b

      Front view of wire harness connector

      (to Side Airbag Sensor Assembly LH)

      Using a service wire, connect terminals 21 (BCL+) and 22 (BCL-) of connector B.

      Note

      Do not forcibly insert the service wire into the terminals of the connector when connecting the wire.

    2. Measure the resistance according to the value(s) in the table below.

      Standard Resistance
      Tester Connection Condition Specified Condition
      S45-2 (BFL+) - S45-1 (BFL-) Always Below 1 Ω
    3. Disconnect the service wire from connector B.

      Result
      Proceed to
      OK
      NG

    NG
    OK
  3. CHECK NO. 2 FLOOR WIRE (SHORT)


    1. B007ZAQC02
      *1 Side Airbag Sensor Assembly LH
      *2 Airbag Sensor Assembly
      *3 No. 2 Floor Wire
      *a

      Front view of wire harness connector

      (to Side Airbag Sensor Assembly LH)

      Measure the resistance according to the value(s) in the table below.

      Standard Resistance
      Tester Connection Condition Specified Condition
      S45-2 (BFL+) - S45-1 (BFL-) Always 1 MΩ or higher
      Result
      Proceed to
      OK
      NG

    NG
    OK
  4. CHECK NO. 2 FLOOR WIRE (SHORT TO B+)


    1. B007ZAQC02
      *1 Side Airbag Sensor Assembly LH
      *2 Airbag Sensor Assembly
      *3 No. 2 Floor Wire
      *a

      Front view of wire harness connector

      (to Side Airbag Sensor Assembly LH)

      Connect the cable to the negative (-) battery terminal.

    2. Turn the engine switch on (IG).

    3. Measure the voltage according to the value(s) in the table below.

      Standard Voltage
      Tester Connection Condition Specified Condition
      S45-2 (BFL+) - Body ground Engine switch on (IG) Below 1 V
      S45-1 (BFL-) - Body ground Engine switch on (IG) Below 1 V
    4. Turn the engine switch off.

    5. Disconnect the cable from the negative (-) battery terminal.

      CAUTION:

      Wait at least 90 seconds after disconnecting the cable from the negative (-) battery terminal to disable the SRS system.

      Result
      Proceed to
      OK
      NG

    NG
    OK
  5. CHECK NO. 2 FLOOR WIRE (SHORT TO GROUND)


    1. B007ZAQC02
      *1 Side Airbag Sensor Assembly LH
      *2 Airbag Sensor Assembly
      *3 No. 2 Floor Wire
      *a

      Front view of wire harness connector

      (to Side Airbag Sensor Assembly LH)

      Measure the resistance according to the value(s) in the table below.

      Standard Resistance
      Tester Connection Condition Specified Condition
      S45-2 (BFL+) - Body ground Always 1 MΩ or higher
      S45-1 (BFL-) - Body ground Always 1 MΩ or higher
      Result
      Proceed to
      OK
      NG

    NG
    OK
  6. CHECK SIDE AIRBAG SENSOR ASSEMBLY LH


    1. B007XZQC01
      *1 Side Airbag Sensor Assembly RH
      *2 Airbag Sensor Assembly

      Connect the connector to the airbag sensor assembly.

    2. Interchange the side airbag sensor assembly LH with RH and connect the connectors.

    3. Connect the cable to the negative (-) battery terminal.

    4. Clear the DTCs stored in memory.

      Click here


      Body Electrical > SRS Airbag > Clear DTCs
    5. Turn the engine switch off.

    6. Turn the engine switch on (IG), and wait for at least 60 seconds.

    7. Check for DTCs.

      Click here


      Body Electrical > SRS Airbag > Trouble Codes

      Tech Tips

      Codes other than DTCs B162B/85, B162C/85, B163B/86 and B163C/86 may be output at this time, but they are not related to this check.

      Result
      Result Proceed to
      DTC B163B/86 or B163C/86 is output. A
      DTC B162B/85 or B162C/85 is output. B
      DTCs B162B/85, B162C/85, B163B/86 and B163C/86 are not output. C
    8. Turn the engine switch off.

    9. Disconnect the cable from the negative (-) battery terminal.

      CAUTION:

      Wait at least 90 seconds after disconnecting the cable from the negative (-) battery terminal to disable the SRS system.

    10. Return the side airbag sensor assembly LH and RH to their original positions and connect the connectors.


    A
    B
    C