AIRBAG SYSTEM, Diagnostic DTC:B1940/75, B1941/75, B1942/75, B1943/75

DTC Code DTC Name
B1940/75 Short in Selectable Force Limiter Squib RH Circuit
B1941/75 Open in Selectable Force Limiter Squib RH Circuit
B1942/75 Short to GND in Selectable Force Limiter Squib RH Circuit
B1943/75 Short to +B in Selectable Force Limiter Squib RH Circuit

DESCRIPTION

The selectable force limiter squib RH circuit consists of the airbag sensor assembly and front seat outer belt assembly RH.

The airbag sensor assembly uses this circuit to deploy the selectable force limiter when deployment conditions are met.

These DTCs are stored when a malfunction is detected in the selectable force limiter squib RH circuit.

DTC No. Detection Item DTC Detection Condition Trouble Area Test Mode / Check Mode
B1940/75 Short in Selectable Force Limiter Squib RH Circuit
  • The airbag sensor assembly detects a line short in the selectable force limiter squib RH circuit during the primary check.

  • Selectable force limiter squib RH malfunction

  • Airbag sensor assembly malfunction


  • Floor wire

  • Selectable force limiter squib RH (Front seat outer belt assembly RH)

  • Airbag sensor assembly

Applies to check mode
B1941/75 Open in Selectable Force Limiter Squib RH Circuit
  • The airbag sensor assembly detects an open in the selectable force limiter squib RH circuit.

  • Selectable force limiter squib RH malfunction

  • Airbag sensor assembly malfunction


  • Floor wire

  • Selectable force limiter squib RH (Front seat outer belt assembly RH)

  • Airbag sensor assembly

Applies to check mode
B1942/75 Short to GND in Selectable Force Limiter Squib RH Circuit
  • The airbag sensor assembly detects a short to ground in the selectable force limiter squib RH circuit.

  • Selectable force limiter squib RH malfunction

  • Airbag sensor assembly malfunction


  • Floor wire

  • Selectable force limiter squib RH (Front seat outer belt assembly RH)

  • Airbag sensor assembly

Applies to check mode
B1943/75 Short to +B in Selectable Force Limiter Squib RH Circuit
  • The airbag sensor assembly detects a short to B+ in the selectable force limiter squib RH circuit.

  • Selectable force limiter squib RH malfunction

  • Airbag sensor assembly malfunction


  • Floor wire

  • Selectable force limiter squib RH (Front seat outer belt assembly RH)

  • Airbag sensor assembly

Applies to check mode

WIRING DIAGRAM

B007WMTE45
*a Selectable Force Limiter Squib RH (Front Seat Outer Belt Assembly RH)
*b Airbag Sensor Assembly

CAUTION / NOTICE / HINT

Note


  • After turning the engine switch off, waiting time may be required before disconnecting the cable from the negative (-) battery terminal. Therefore, make sure to read the disconnecting the cable from the negative (-) battery terminal notices before proceeding with work.

    Click here

  • B00801E

    2 identical squib connectors are connected to the front seat outer belt assembly RH. The selectable force limiter squib RH connector is indicated by the arrow in the illustration.

Tech Tips


  • Perform the simulation method by selecting check mode (Signal Check) using the GTS.

    Click here

  • After selecting check mode (Signal Check), perform the simulation method by wiggling each connector of the airbag system or driving the vehicle on a city road or rough road.

    Click here

PROCEDURE


  1. CHECK CONNECTORS


    1. B007ZZ0C01
      *1 Front Seat Outer Belt Assembly RH
      *2 Airbag Sensor Assembly
      *3 Floor Wire

      Turn the engine switch off.

    2. Disconnect the cable from the negative (-) battery terminal.

      CAUTION:

      Wait at least 90 seconds after disconnecting the cable from the negative (-) battery terminal to disable the SRS system.

    3. Check that the connectors are properly connected to the front seat outer belt assembly RH and airbag sensor assembly.

      OK
      The connectors are properly connected.

      Tech Tips

      If the connectors are not properly connected, reconnect the connectors and proceed to the next inspection.

    4. Disconnect the connectors from the front seat outer belt assembly RH and airbag sensor assembly.

    5. Check that the terminals of the connectors are not deformed or damaged.

      OK
      The terminals are not deformed or damaged.
    6. Check that the floor wire connector (on the front seat outer belt assembly RH side) is not loose, deformed or damaged.

      OK
      The connector locking button is not disengaged, and the claw of the lock is not deformed or damaged.
    7. Check that the short springs of the activation prevention mechanism of the floor wire connector are not deformed or damaged.

      OK
      The short springs are not deformed or damaged.
      Result
      Proceed to
      OK
      NG

    NG
    OK
  2. CHECK FRONT SEAT OUTER BELT ASSEMBLY RH


    1. B007ZHCC23
      *1 Front Seat Outer Belt Assembly RH
      *2 Airbag Sensor Assembly
      *a

      Front view of wire harness connector

      (to Front Seat Outer Belt Assembly RH)

      Connect the connector to the airbag sensor assembly.

    2. Connect SST (resistance 2.1 Ω) to connector C.

      CAUTION:

      Never connect a tester to the front seat outer belt assembly RH for measurement, as this may lead to a serious injury due to pretensioner deployment.

      Note


      • Do not forcibly insert SST into the terminals of the connector when connecting it.

      • Insert SST straight into the terminals of the connector.

      SST
      09843-18061
    3. Connect the cable to the negative (-) battery terminal.

    4. Clear the DTCs stored in memory.

      Click here


      Body Electrical > SRS Airbag > Clear DTCs
    5. Turn the engine switch off.

    6. Turn the engine switch on (IG), and wait for at least 60 seconds.

    7. Check for DTCs.

      Click here


      Body Electrical > SRS Airbag > Trouble Codes
      OK
      DTC B1940/75, B1941/75, B1942/40 or B1943/75 is not output.

      Tech Tips

      Codes other than DTCs B1940/75, B1941/75, B1942/75 and B1943/75 may be output at this time, but they are not related to this check.

    8. Turn the engine switch off.

    9. Disconnect the cable from the negative (-) battery terminal.

      CAUTION:

      Wait at least 90 seconds after disconnecting the cable from the negative (-) battery terminal to disable the SRS system.

    10. Disconnect SST from connector C.

      Result
      Proceed to
      OK
      NG

    OK
    NG
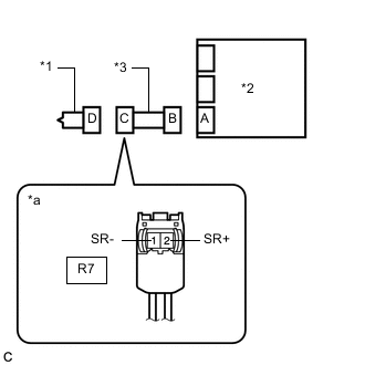
  3. CHECK FLOOR WIRE


    1. B007Y34C51
      *1 Front Seat Outer Belt Assembly RH
      *2 Airbag Sensor Assembly
      *3 Floor Wire
      *a

      Front view of wire harness connector

      (to Front Seat Outer Belt Assembly RH)

      Disconnect the floor wire from the airbag sensor assembly.

    2. Check for a short to B+ in the circuit.


      1. Connect the cable to the negative (-) battery terminal.

      2. Turn the engine switch on (IG).

      3. Measure the voltage according to the value(s) in the table below.

        Standard Voltage
        Tester Connection Condition Specified Condition
        R7-2 (SR+) - Body ground Engine switch on (IG) Below 1 V
        R7-1 (SR-) - Body ground Engine switch on (IG) Below 1 V
      4. Turn the engine switch off.

      5. Disconnect the cable from the negative (-) battery terminal.

        CAUTION:

        Wait at least 90 seconds after disconnecting the cable from the negative (-) battery terminal to disable the SRS system.

    3. Check for an open in the circuit.


      1. Measure the resistance according to the value(s) in the table below.

        Standard Resistance
        Tester Connection Condition Specified Condition
        R7-2 (SR+) - R7-1 (SR-) Always Below 1 Ω
    4. Check for a short to ground in the circuit.


      1. Measure the resistance according to the value(s) in the table below.

        Standard Resistance
        Tester Connection Condition Specified Condition
        R7-2 (SR+) - Body ground Always 1 MΩ or higher
        R7-1 (SR-) - Body ground Always 1 MΩ or higher
    5. Check for a short in the circuit.


      1. Release the activation prevention mechanism built into connector B.

        Click here

      2. Measure the resistance according to the value(s) in the table below.

        Standard Resistance
        Tester Connection Condition Specified Condition
        R7-2 (SR+) - R7-1 (SR-) Always 1 MΩ or higher
      3. Restore the released activation prevention mechanism of connector B to the original condition.

      Result
      Proceed to
      OK
      NG

    NG
    OK
  4. CHECK DTC


    1. B007Y54C01
      *1 Front Seat Outer Belt Assembly RH
      *2 Airbag Sensor Assembly

      Connect the connectors to the front seat outer belt assembly RH and airbag sensor assembly.

    2. Connect the cable to the negative (-) battery terminal.

    3. Clear the DTCs stored in memory.

      Click here


      Body Electrical > SRS Airbag > Clear DTCs
    4. Turn the engine switch off.

    5. Turn the engine switch on (IG), and wait for at least 60 seconds.

    6. Check for DTCs.

      Click here


      Body Electrical > SRS Airbag > Trouble Codes
      OK
      DTC B1940/75, B1941/75, B1942/75 or B1943/75 is not output.

      Tech Tips

      Codes other than DTCs B1940/75, B1941/75, B1942/75 and B1943/75 may be output at this time, but they are not related to this check.

      Result
      Proceed to
      OK
      NG

    OK
    NG