OCCUPANT CLASSIFICATION SYSTEM, Diagnostic DTC:B1782

DTC Code DTC Name
B1782 Rear Occupant Classification Sensor LH Circuit Malfunction

DESCRIPTION

The rear occupant classification sensor LH circuit consists of the occupant detection ECU and rear occupant classification sensor LH.

DTC B1782 is stored when a malfunction is detected in the rear occupant classification sensor LH circuit.

DTC No. Detection Item DTC Detection Condition Trouble Area
B1782 Rear Occupant Classification Sensor LH Circuit Malfunction
  • The occupant detection ECU detects a line short, short to ground or B+, or an open in the rear occupant classification sensor LH circuit.

  • Rear occupant classification sensor LH malfunction

  • Occupant detection ECU malfunction


  • Front seat wire RH

  • Rear occupant classification sensor LH (Front seat adjuster assembly RH)*

  • Occupant detection ECU


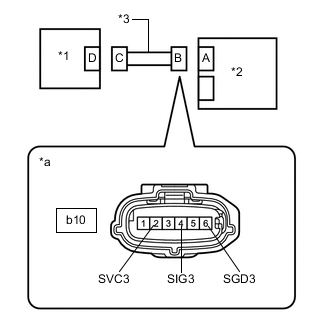
WIRING DIAGRAM

B007Y6ZE57
*a SVC
*b SGD
*c Rear Occupant Classification Sensor LH
*d Occupant Detection ECU

CAUTION / NOTICE / HINT

Note

After turning the engine switch off, waiting time may be required before disconnecting the cable from the negative (-) battery terminal. Therefore, make sure to read the disconnecting the cable from the negative (-) battery terminal notices before proceeding with work.

Click here

Tech Tips


  • When DTC B1650/32 is stored as a result of troubleshooting for the airbag system, check the DTCs stored in the occupant detection ECU. When DTC B1782 is output, perform troubleshooting for this DTC first.

  • If it is difficult to perform troubleshooting (wire harness inspection), remove the front passenger seat installation bolts to see under the seat cushion.

  • In the above case, lift and hold the seat so that it does not fall down. Hold the seat only as necessary because holding the seat for a long period of time may cause seat rail deformation.

PROCEDURE


  1. CHECK CONNECTORS


    1. Turn the engine switch off.

    2. Disconnect the cable from the negative (-) battery terminal.

    3. Check that the connectors are properly connected to the occupant detection ECU and rear occupant classification sensor LH.

      OK
      The connectors are properly connected.

      Tech Tips

      If the connectors are not properly connected, reconnect the connectors and proceed to the next inspection.

    4. Disconnect the connectors from the occupant detection ECU and rear occupant classification sensor LH.

    5. Check that the terminals of the connectors are not deformed or damaged.

      OK
      The terminals are not deformed or damaged.
      Result
      Proceed to
      OK
      NG

    NG
    OK
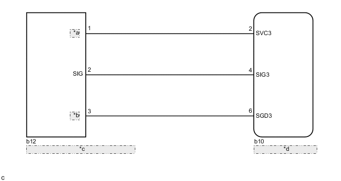
  2. CHECK FRONT SEAT WIRE RH (SHORT TO B+)


    1. B007WM3C11
      *1 Rear Occupant Classification Sensor LH
      *2 Occupant Detection ECU
      *3 Front Seat Wire RH
      *a

      Front view of wire harness connector

      (to Occupant Detection ECU)

      Connect the cable to the negative (-) battery terminal.

    2. Turn the engine switch on (IG).

    3. Measure the voltage according to the value(s) in the table below.

      Standard Voltage
      Tester Connection Condition Specified Condition
      b10-2 (SVC3) - Body ground Engine switch on (IG) Below 1 V
      b10-4 (SIG3) - Body ground Engine switch on (IG) Below 1 V
      b10-6 (SGD3) - Body ground Engine switch on (IG) Below 1 V
    4. Turn the engine switch off.

    5. Disconnect the cable from the negative (-) battery terminal.

      Result
      Proceed to
      OK
      NG

    NG
    OK
  3. CHECK FRONT SEAT WIRE RH (OPEN)


    1. B007YN0C04
      *1 Rear Occupant Classification Sensor LH
      *2 Occupant Detection ECU
      *3 Front Seat Wire RH
      *4 Service Wire
      *a

      Front view of wire harness connector

      (to Occupant Detection ECU)

      *b

      Front view of wire harness connector

      (to Rear Occupant Classification Sensor LH)

      Using service wires, connect terminals 1 (SVC) and 3 (SGD), and terminals 2 (SIG) and 3 (SGD) of connector C.

      Note

      Do not forcibly insert the service wire into the terminals of the connector when connecting the wire.

    2. Measure the resistance according to the value(s) in the table below.

      Standard Resistance
      Tester Connection Condition Specified Condition
      b10-2 (SVC3) - b10-6 (SGD3) Always Below 1 Ω
      b10-4 (SIG3) - b10-6 (SGD3) Always Below 1 Ω
    3. Disconnect the service wires from connector C.

      Result
      Proceed to
      OK
      NG

    NG
    OK
  4. CHECK FRONT SEAT WIRE RH (SHORT)


    1. B007WM3C11
      *1 Rear Occupant Classification Sensor LH
      *2 Occupant Detection ECU
      *3 Front Seat Wire RH
      *a

      Front view of wire harness connector

      (to Occupant Detection ECU)

      Measure the resistance according to the value(s) in the table below.

      Standard Resistance
      Tester Connection Condition Specified Condition
      b10-2 (SVC3) - b10-6 (SGD3) Always 1 MΩ or higher
      b10-4 (SIG3) - b10-6 (SGD3) Always 1 MΩ or higher
      b10-2 (SVC3) - b10-4 (SIG3) Always 1 MΩ or higher
      Result
      Proceed to
      OK
      NG

    NG
    OK
  5. CHECK FRONT SEAT WIRE RH (SHORT TO GROUND)


    1. B007WM3C11
      *1 Rear Occupant Classification Sensor LH
      *2 Occupant Detection ECU
      *3 Front Seat Wire RH
      *a

      Front view of wire harness connector

      (to Occupant Detection ECU)

      Measure the resistance according to value(s) in the table below.

      Standard Resistance
      Tester Connection Condition Specified Condition
      b10-2 (SVC3) - Body ground Always 1 MΩ or higher
      b10-4 (SIG3) - Body ground Always 1 MΩ or higher
      b10-6 (SGD3) - Body ground Always 1 MΩ or higher
      Result
      Proceed to
      OK
      NG

    NG
    OK
  6. CHECK DTC


    1. Connect the connectors to the occupant detection ECU and rear occupant classification sensor LH.

    2. Connect the cable to the negative (-) battery terminal.

    3. Clear the DTCs stored in the occupant detection ECU.

      Click here


      Body Electrical > Occupant Detection > Clear DTCs
    4. Clear the DTCs stored in the airbag sensor assembly.

      Click here


      Body Electrical > SRS Airbag > Clear DTCs
    5. Turn the engine switch off.

    6. Turn the engine switch on (IG), and wait for at least 10 seconds.

    7. Check for DTCs.

      Click here


      Body Electrical > Occupant Detection > Trouble Codes
      OK
      DTC B1782 is not output.

      Tech Tips

      Codes other than DTC B1782 may be output at this time, but they are not related to this check.

    8. Turn the engine switch off.

      Result
      Proceed to
      OK
      NG

    OK
    NG
  7. CHECK OCCUPANT DETECTION ECU


    1. Disconnect the cable from the negative (-) battery terminal.

    2. Replace the occupant detection ECU with a known good one.

      Click here

      Tech Tips

      Perform the following inspection using known good parts from another vehicle if possible.

    3. Connect the cable to the negative (-) battery terminal.

    4. Clear the DTCs stored in the occupant detection ECU.

      Click here


      Body Electrical > Occupant Detection > Clear DTCs
    5. Clear the DTCs stored in the airbag sensor assembly.

      Click here


      Body Electrical > SRS Airbag > Clear DTCs
    6. Turn the engine switch off.

    7. Turn the engine switch on (IG), and wait for at least 10 seconds.

    8. Check for DTCs.

      Click here


      Body Electrical > Occupant Detection > Trouble Codes
      OK
      DTC B1782 is not output.

      Tech Tips

      Codes other than DTC B1782 may be output at this time, but they are not related to this check.

    9. Turn the engine switch off.

    10. Disconnect the cable from the negative (-) battery terminal.

    11. Restore the occupant detection ECU that was installed for testing to its original location.

      Click here

      Result
      Proceed to
      OK
      NG

    NG
    OK
  8. REPLACE OCCUPANT DETECTION ECU


    1. Turn the engine switch off.

    2. Disconnect the cable from the negative (-) battery terminal.

    3. Replace the occupant detection ECU with a new one.

      Click here

    4. Connect the cable to the negative (-) battery terminal.

      Result
      Proceed to
      NEXT

    NEXT
  9. PERFORM ZERO POINT CALIBRATION


    1. Using the GTS, perform Zero Point Calibration.

      Click here


      Body Electrical > Occupant Detection > Utility
      Tester Display
      Zero Point Calibration
      Result
      Proceed to
      NEXT

    NEXT
  10. REPLACE FRONT SEAT ADJUSTER ASSEMBLY RH


    1. Turn the engine switch off.

    2. Disconnect the cable from the negative (-) battery terminal.

    3. Replace the front seat adjuster assembly RH.

      Click here

    4. Connect the cable to the negative (-) battery terminal.

      Result
      Proceed to
      NEXT

    NEXT
  11. PERFORM ZERO POINT CALIBRATION


    1. Using the GTS, perform Zero Point Calibration.

      Click here


      Body Electrical > Occupant Detection > Utility
      Tester Display
      Zero Point Calibration
      Result
      Proceed to
      NEXT

    NEXT
  12. REPLACE FRONT SEAT ADJUSTER ASSEMBLY RH


    1. Replace the front seat adjuster assembly RH.

      Click here

      Note

      Replace the front seat wire RH at the same time.

      Tech Tips

      When the front seat wire RH has a short to B+, the rear occupant classification sensor LH will be damaged. Therefore, replace the front seat wire RH and the front seat adjuster assembly RH, which includes the rear occupant classification sensor LH.

    2. Connect the cable to the negative (-) battery terminal.

      Result
      Proceed to
      NEXT

    NEXT
  13. PERFORM ZERO POINT CALIBRATION


    1. Using the GTS, perform Zero Point Calibration.

      Click here


      Body Electrical > Occupant Detection > Utility
      Tester Display
      Zero Point Calibration
      Result
      Proceed to
      NEXT

    NEXT