DESCRIPTION
The ECU receives engine operation signals from the L terminal of the generator assembly. If this circuit is open, the ECU will determine that the engine operation signals indicate that the engine is running. If this circuit is shorted, the ECU will determine that the engine operation signals indicate that the engine is stopped, and the heater assembly will not operate.
WIRING DIAGRAM
PROCEDURE
INSPECT GENERATOR BRUSH HOLDER ASSEMBLY
Remove the generator assembly.
for 1AD-FTV (for 130 A Type) Click here
for 1AD-FTV (for 100 A Type) Click here
for 2AD-FHV (for 130 A Type) Click here
for 2AD-FHV (for 100 A Type) Click here
for 2AD-FTV (for 130 A Type) Click here
for 2AD-FTV (for 100 A Type) Click here
Using a vernier caliper, measure the brush length.
| Standard exposed length |
|---|
| 10.5 to 11.5 mm (0.374 to 0.453 in.) |
| Minimum exposed length |
|---|
| 4.5 mm (0.177 in.) |
| NG |
|
REPLACE GENERATOR BRUSH HOLDER ASSEMBLY Click here |
| OK |
|
INSPECT GENERATOR ROTOR ASSEMBLY
Remove the generator assembly.
for 1AD-FTV (for 130 A Type) Click here
for 1AD-FTV (for 100 A Type) Click here
for 2AD-FHV (for 130 A Type) Click here
for 2AD-FHV (for 100 A Type) Click here
for 2AD-FTV (for 130 A Type) Click here
for 2AD-FTV (for 100 A Type) Click here
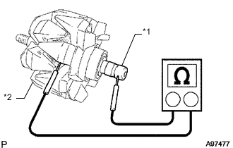
Check the rotor for an open circuit.
| *1 | Slip Ring |
Measure the resistance according to the value(s) in the table below.
| Standard Resistance | ||||||
|---|---|---|---|---|---|---|
|
Check if the rotor is grounded.
| *1 | Slip Ring |
| *2 | Rotor Core |
Measure the resistance according to the value(s) in the table below.
| Standard Resistance | ||||||
|---|---|---|---|---|---|---|
|
Check that the slip rings are not rough or scored.
Using a vernier caliper, measure the slip ring diameter.
| Standard diameter |
|---|
| 14.2 to 14.4 mm (0.559 to 0.567 in.) |
| Minimum diameter |
|---|
| 14.0 mm (0.551 in.) |
Check that the generator rotor bearing is not rough or worn, and that it rotates smoothly.
| OK |
|---|
| The results are as specified. |
| NG |
|
REPLACE GENERATOR ROTOR ASSEMBLY Click here |
| OK |
|
INSPECT GENERATOR DRIVE END FRAME BEARING
Remove the generator assembly.
for 1AD-FTV (for 130 A Type) Click here
for 1AD-FTV (for 100 A Type) Click here
for 2AD-FHV (for 130 A Type) Click here
for 2AD-FHV (for 100 A Type) Click here
for 2AD-FTV (for 130 A Type) Click here
for 2AD-FTV (for 100 A Type) Click here
Check that the generator drive end frame bearing is not rough or worn, and that it rotates smoothly.
| OK |
|---|
| The generator drive end frame bearing is normal. |
| NG |
|
REPLACE GENERATOR DRIVE END FRAME BEARING Click here |
| OK |
|
INSPECT GENERATOR PULLEY
Remove the generator assembly.
for 1AD-FTV (for 130 A Type) Click here
for 1AD-FTV (for 100 A Type) Click here
for 2AD-FHV (for 130 A Type) Click here
for 2AD-FHV (for 100 A Type) Click here
for 2AD-FTV (for 130 A Type) Click here
for 2AD-FTV (for 100 A Type) Click here
| *1 | Free |
| *2 | Lock |
Hold the center of the generator pulley and confirm that the outer ring turns counterclockwise and does not turn clockwise.
| OK |
|---|
| The generator pulley is normal. |
| NG |
|
REPLACE GENERATOR PULLEY Click here |
| OK |
|
CHECK HARNESS AND CONNECTOR (HEATER ASSEMBLY - GENERATOR)
| *1 | Front view of wire harness connector (to Heater Assembly) |
| *2 | Front view of wire harness connector (to Generator Assembly) |
Disconnect the A54 heater assembly connector.
Measure the voltage according to the value(s) in the table below.
| Standard Voltage | ||||||
|---|---|---|---|---|---|---|
|
Disconnect the B16 generator assembly connector.
Measure the resistance according to the value(s) in the table below.
| Standard Resistance | |||||||||
|---|---|---|---|---|---|---|---|---|---|
|
| OK |
|
PROCEED TO NEXT SUSPECTED AREA SHOWN IN PROBLEM SYMPTOMS TABLE Click here |
| NG |
|
REPAIR OR REPLACE HARNESS OR CONNECTOR |
REPLACE GENERATOR BRUSH HOLDER ASSEMBLY
Replace the generator brush holder assembly.
for 1AD-FTV (for 130 A Type) Click here
for 1AD-FTV (for 100 A Type) Click here
for 2AD-FHV (for 130 A Type) Click here
for 2AD-FHV (for 100 A Type) Click here
for 2AD-FTV (for 130 A Type) Click here
for 2AD-FTV (for 100 A Type) Click here
| NEXT |
|
END |
REPLACE GENERATOR ROTOR ASSEMBLY
Replace the generator rotor assembly.
for 1AD-FTV (for 130 A Type) Click here
for 1AD-FTV (for 100 A Type) Click here
for 2AD-FHV (for 130 A Type) Click here
for 2AD-FHV (for 100 A Type) Click here
for 2AD-FTV (for 130 A Type) Click here
for 2AD-FTV (for 100 A Type) Click here
| NEXT |
|
END |
REPLACE GENERATOR DRIVE END FRAME BEARING
Replace the generator drive end frame bearing.
for 1AD-FTV (for 130 A Type) Click here
for 1AD-FTV (for 100 A Type) Click here
for 2AD-FHV (for 130 A Type) Click here
for 2AD-FHV (for 100 A Type) Click here
for 2AD-FTV (for 130 A Type) Click here
for 2AD-FTV (for 100 A Type) Click here
| NEXT |
|
END |
REPLACE GENERATOR PULLEY
Replace the generator pulley.
for 1AD-FTV (for 130 A Type) Click here
for 1AD-FTV (for 100 A Type) Click here
for 2AD-FHV (for 130 A Type) Click here
for 2AD-FHV (for 100 A Type) Click here
for 2AD-FTV (for 130 A Type) Click here
for 2AD-FTV (for 100 A Type) Click here
| NEXT |
|
END |