СИСТЕМА ПЕРЕДАЧИ ДАННЫХ CAN Проверьте шину CAN на короткое замыкание на GND (для моделей с правосторонним рулевым управлением)

ОПИСАНИЕ

Между главной шиной CAN и GND может быть короткое замыкание, если между контактами 6 (CANH) и 4 (CG) или контактами 14 (CANL) и 4 (CG) разъема DLC3 нет сопротивления.

Признак Неисправный участок
Между контактами 6 (CANH) и 4 (CG) или контактами 14 (CANL) и 4 (CG) разъема DLC3 нет сопротивления.
  • Короткое замыкание на GND в главной шине CAN

  • Короткое замыкание на GND во вспомогательной шине CAN

  • ECM

  • ЭБУ сертификации (ЭБУ электронного ключа зажигания)

  • Щиток приборов

  • ЭБУ рулевого управления с усилителем

  • Центральный датчик системы SRS в сборе

  • ЭБУ системы противоскольжения (блок управления рабочими цилиндрами тормозов в сборе)

  • Датчик угла поворота рулевого колеса

  • Датчик рысканья

  • Главный ЭБУ кузова (бортовой ЭБУ сети мультиплексной связи)

  • ЭБУ распределения питания

  • Приемник мультимедийного модуля в сборе

  • Разъем распределительного блока шины CAN № 1

  • Разъем распределительного блока шины CAN № 2

СХЕМА ЭЛЕКТРИЧЕСКИХ СОЕДИНЕНИЙ

A019M16E05
A019MWGE04

ПОСЛЕДОВАТЕЛЬНОСТЬ ПРОВЕРКИ

Note


  • Выключите зажигание перед измерением сопротивления между главными и вспомогательными шинами CAN.

  • Выключите зажигание перед проверкой короткого замыкания шины CAN на массу.

  • После выключения зажигания убедитесь, что система оповещения о ключе, оставленном в замке зажигания, и система оповещения о невыключенном освещении не активированы.

  • Перед измерением сопротивления оставьте автомобиль на 1 минуту "как он есть", не трогая выключатель зажигания, другие переключатели и двери. Если необходимо открыть какую-либо дверь для проверки разъемов, откройте двери и не закрывайте их.

Tech Tips


  • Управление выключателем зажигания, какими-либо выключателями или дверями приводит к обмену данными между ЭБУ и датчиками по шине CAN. При осуществлении обмена данными сопротивление изменяется.

  • Если DTC регистрируется при непродолжительном движении на автомобиле даже после удаления кодов DTC, неисправность может возникать вследствие вибрации автомобиля. В подобных случаях необходимо пошевелить разъемы ЭБУ или жгутов проводов во время проверки, чтобы установить причину неисправности.

ПОРЯДОК ВЫПОЛНЕНИЯ


  1. ПРОВЕРЬТЕ ШИНУ CAN НА КОРОТКОЕ ЗАМЫКАНИЕ НА GND (РАЗЪЕМ РАСПРЕДЕЛИТЕЛЬНОГО БЛОКА ШИНЫ CAN № 1 - РАЗЪЕМ РАСПРЕДЕЛИТЕЛЬНОГО БЛОКА ШИНЫ CAN № 2)


    1. Выключите зажигание.

    2. A019M7SE62
      Обозначения на рисунке
      *1

      Вид спереди разъема со стороны жгута проводов:

      (к разъему распределительного блока шины CAN № 1)

      *2 К разъему распределительного блока шины CAN № 2

      Отсоедините разъем распределительного блока шины CAN № 1.

    3. A019K7ZE02
      Обозначения на рисунке
      *3 DLC3

      Измерьте сопротивление в соответствии со значениями, приведенными в таблице ниже.

      Номинальное сопротивление
      Подключение диагностического прибора Положение переключателя Заданные условия
      F17-6 (CANH) - F17-4 (CG) Зажигание выключено 200 Ом или более
      F17-14 (CANL) - F17-4 (CG) Зажигание выключено 200 Ом или более

    NG
    OK
  2. ПРОВЕРЬТЕ ШИНУ CAN НА КОРОТКОЕ ЗАМЫКАНИЕ НА GND (РАЗЪЕМ РАСПРЕДЕЛИТЕЛЬНОГО БЛОКА ШИНЫ CAN № 1)

    A019L1GE64

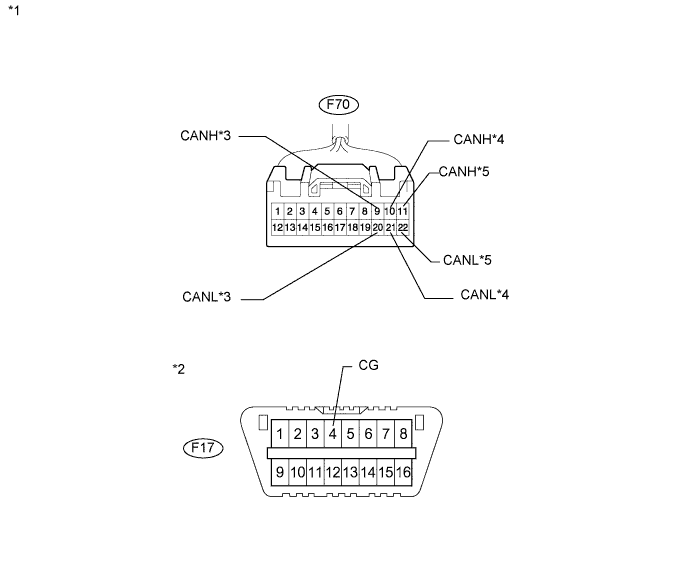
    1. Измерьте сопротивление в соответствии со значениями, приведенными в таблице ниже.

      Номинальное сопротивление
      Подключение диагностического прибора Условия Номинальное сопротивление Куда подсоединить
      F70-5 (CANH) - F17-4 (CG) Зажигание выключено 200 Ом или более Главный ЭБУ кузова
      F70-16 (CANL) - F17-4 (CG) Зажигание выключено 200 Ом или более
      F70-6 (CANH) - F17-4 (CG) Зажигание выключено 200 Ом или более ECM
      F70-17 (CANL) - F17-4 (CG) Зажигание выключено 200 Ом или более
      F70-8 (CANH) - F17-4 (CG) Зажигание выключено 200 Ом или более Приемник мультимедийного модуля в сборе
      F70-19 (CANL) - F17-4 (CG) Зажигание выключено 200 Ом или более
      Обозначения на рисунке
      *1 Вид спереди разъема со стороны жгута проводов (к разъему распределительного блока шины CAN № 1)
      *2 DLC3
      *3 К главному ЭБУ кузова
      *4 К ECM
      *5 на приемник мультимедийного модуля в сборе
      Результат
      Результат Перейти к
      OK А
      NG (вспомогательная шина CAN со стороны главного ЭБУ кузова) B
      NG (главная шина ECM) C
      NG (вспомогательная шина приемника мультимедийного модуля в сборе) D

    B
    C
    D
    А
  3. ПРОВЕРЬТЕ ШИНУ CAN НА КОРОТКОЕ ЗАМЫКАНИЕ НА GND (РАЗЪЕМ РАСПРЕДЕЛИТЕЛЬНОГО БЛОКА ШИНЫ CAN № 1)

    A019L1GE55

    1. Измерьте сопротивление в соответствии со значениями, приведенными в таблице ниже.

      Номинальное сопротивление
      Подключение диагностического прибора Условия Номинальное сопротивление Куда подсоединить
      F70-9 (CANH) - F17-4 (CG) Зажигание выключено 200 Ом или более ЭБУ распределения питания
      F70-20 (CANL) - F17-4 (CG) Зажигание выключено 200 Ом или более
      F70-10 (CANH) - F17-4 (CG) Зажигание выключено 200 Ом или более Центральный блок управления системы SRS
      F70-21 (CANL) - F17-4 (CG) Зажигание выключено 200 Ом или более
      F70-11 (CANH) - F17-4 (CG) Зажигание выключено 200 Ом или более Датчик рысканья
      F70-22 (CANL) - F17-4 (CG) Зажигание выключено 200 Ом или более
      Обозначения на рисунке
      *1 Вид спереди разъема со стороны жгута проводов (к разъему распределительного блока шины CAN № 1)
      *2 DLC3
      *3 к ЭБУ распределения питания
      *4 К центральному блоку управления системы SRS
      *5 К датчику рысканья
      Результат
      Результат Перейти к
      OK А
      NG (вспомогательная шина ЭБУ распределения питания) B
      NG (вспомогательная шина центрального блока управления системы SRS) C
      NG (вспомогательная шина датчика рысканья) D

    B
    C
    D
    А
  4. ПРОВЕРЬТЕ ШИНУ CAN НА КОРОТКОЕ ЗАМЫКАНИЕ НА GND (РАЗЪЕМ РАСПРЕДЕЛИТЕЛЬНОГО БЛОКА ШИНЫ CAN № 2 – РАЗЪЕМ РАСПРЕДЕЛИТЕЛЬНОГО БЛОКА ШИНЫ CAN № 1)


    1. A019M7SE74
      Обозначения на рисунке
      *1

      Вид спереди разъема со стороны жгута проводов:

      (к разъему распределительного блока шины CAN № 2)

      *2 К разъему распределительного блока шины CAN № 1

      Отсоедините разъем распределительного блока шины CAN № 2.

    2. A019K7ZE02
      Обозначения на рисунке
      *3 DLC3

      Измерьте сопротивление в соответствии со значениями, приведенными в таблице ниже.

      Номинальное сопротивление
      Подключение диагностического прибора Положение переключателя Заданные условия
      F17-6 (CANH) - F17-4 (CG) Зажигание выключено 200 Ом или более
      F17-14 (CANL) - F17-4 (CG) Зажигание выключено 200 Ом или более

    NG
    OK
  5. ПРОВЕРЬТЕ ШИНУ CAN НА КОРОТКОЕ ЗАМЫКАНИЕ НА GND (РАЗЪЕМ РАСПРЕДЕЛИТЕЛЬНОГО БЛОКА ШИНЫ CAN № 2)

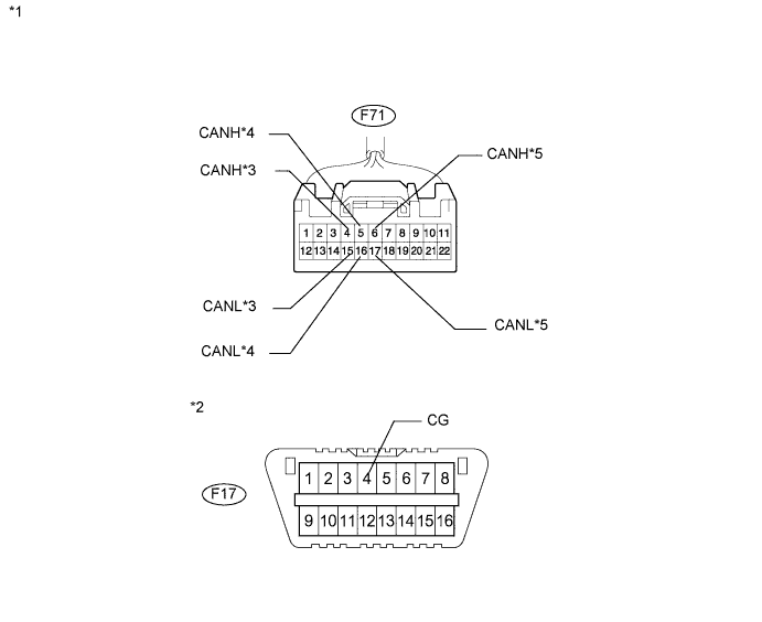
    A019L1GE65

    1. Измерьте сопротивление в соответствии со значениями, приведенными в таблице ниже.

      Номинальное сопротивление
      Подключение диагностического прибора Условия Номинальное сопротивление Куда подсоединить
      F71-1 (CANH) - F17-4 (CG) Зажигание выключено 200 Ом или более ЭБУ системы противоскольжения
      F71-12 (CANL) - F17-4 (CG) Зажигание выключено 200 Ом или более
      F71-2 (CANH) - F17-4 (CG) Зажигание выключено 200 Ом или более ЭБУ сертификации
      F71-13 (CANL) - F17-4 (CG) Зажигание выключено 200 Ом или более
      F71-3 (CANH) - F17-4 (CG) Зажигание выключено 200 Ом или более DLC3
      F71-14 (CANL) - F17-4 (CG) Зажигание выключено 200 Ом или более
      Обозначения на рисунке
      *1 Вид спереди разъема со стороны жгута проводов (к разъему распределительного блока шины CAN № 2)
      *2 DLC3
      *3 К ЭБУ системы противоскольжения
      *4 К ЭБУ сертификации
      *5 К DLC3
      Результат
      Результат Перейти к
      OK А
      NG (вспомогательная шина ЭБУ системы противоскольжения) B
      NG (главная шина ЭБУ сертификации) C
      NG (вспомогательная шина DLC3) D

    B
    C
    D
    А
  6. ПРОВЕРЬТЕ ШИНУ CAN НА КОРОТКОЕ ЗАМЫКАНИЕ НА GND (РАЗЪЕМ РАСПРЕДЕЛИТЕЛЬНОГО БЛОКА ШИНЫ CAN № 2)

    A019L1GE66

    1. Измерьте сопротивление в соответствии со значениями, приведенными в таблице ниже.

      Номинальное сопротивление
      Подключение диагностического прибора Условия Номинальное сопротивление Куда подсоединить
      F71-4 (CANH) - F17-4 (CG) Зажигание выключено 200 Ом или более Щиток приборов
      F71-15 (CANL) - F17-4 (CG) Зажигание выключено 200 Ом или более
      F71-5 (CANH) - F17-4 (CG) Зажигание выключено 200 Ом или более Датчик угла поворота рулевого колеса
      F71-16 (CANL) - F17-4 (CG) Зажигание выключено 200 Ом или более
      F71-6 (CANH) - F17-4 (CG) Зажигание выключено 200 Ом или более ЭБУ рулевого управления с усилителем
      F71-17 (CANL) - F17-4 (CG) Зажигание выключено 200 Ом или более
      Обозначения на рисунке
      *1 Вид спереди разъема со стороны жгута проводов (к разъему распределительного блока шины CAN № 2)
      *2 DLC3
      *3 К щитку приборов
      *4 К датчику угла поворота рулевого колеса
      *5 К ЭБУ рулевого управления с усилителем
      Результат
      Результат Перейти к
      OK А
      NG (вспомогательная шина щитка приборов) B
      NG (вспомогательная шина датчика угла поворота рулевого колеса) C
      NG (вспомогательная шина ЭБУ рулевого управления с усилителем) D

    B
    C
    D
    А
  7. ПРОВЕРЬТЕ ШИНУ CAN НА КОРОТКОЕ ЗАМЫКАНИЕ НА GND (РАЗЪЕМ РАСПРЕДЕЛИТЕЛЬНОГО БЛОКА ШИНЫ CAN № 1 - ГЛАВНЫЙ ЭБУ КУЗОВА)


    1. A019O5VE01
      Обозначения на рисунке
      *1

      Вид спереди разъема со стороны жгута проводов:

      (к главному ЭБУ кузова)

      Отсоедините разъем главного ЭБУ кузова.

    2. A019O1ZE70
      Обозначения на рисунке
      *2

      Вид спереди разъема со стороны жгута проводов:

      (к разъему распределительного блока шины CAN № 1)

      *3 DLC3
      *4 К главному ЭБУ кузова

      Измерьте сопротивление в соответствии со значениями, приведенными в таблице ниже.

      Номинальное сопротивление
      Подключение диагностического прибора Положение переключателя Заданные условия
      F70-5 (CANH) - F17-4 (CG) Зажигание выключено 200 Ом или более
      F70-16 (CANL) - F17-4 (CG) Зажигание выключено 200 Ом или более

    NG
    OK
  8. ПРОВЕРЬТЕ ШИНУ CAN НА КОРОТКОЕ ЗАМЫКАНИЕ НА GND (РАЗЪЕМ РАСПРЕДЕЛИТЕЛЬНОГО БЛОКА ШИНЫ CAN № 1 - ЕСМ)


    1. A019OJ1E52
      Обозначения на рисунке
      *A Для моделей с 2GR-FE
      *B Для моделей с 1AR-FE
      *1

      Вид спереди разъема со стороны жгута проводов:

      (к ECM)

      Отсоедините разъем ЭБУ.

    2. A019M8NE04
      Обозначения на рисунке
      *2

      Вид спереди разъема со стороны жгута проводов:

      (к разъему распределительного блока шины CAN № 1)

      *3 DLC3
      *4 К ECM

      Измерьте сопротивление в соответствии со значениями, приведенными в таблице ниже.

      Номинальное сопротивление
      Подключение диагностического прибора Положение переключателя Заданные условия
      F70-6 (CANH) - F17-4 (CG) Зажигание выключено 200 Ом или более
      F70-17 (CANL) - F17-4 (CG) Зажигание выключено 200 Ом или более
      Результат
      Результат Перейти к
      OK (для моделей с 2GR-FE) А
      OK (для моделей с 1AR-FE) B
      NG C

    B
    C
    А
  9. ПРОВЕРЬТЕ ШИНУ CAN НА КОРОТКОЕ ЗАМЫКАНИЕ НА МАССУ (РАЗЪЕМ РАСПРЕДЕЛИТЕЛЬНОГО БЛОКА ШИНЫ CAN № 1 - БЛОК ПРИЕМНИКА МУЛЬТИМЕДИЙНОЙ СИСТЕМЫ)


    1. A019MXHE14
      Обозначения на рисунке
      *1

      Вид спереди разъема со стороны жгута проводов:

      (на приемник мультимедийного модуля в сборе)

      Отсоедините разъем от приемника мультимедийного модуля в сборе.

    2. A019O1ZE94
      Обозначения на рисунке
      *2

      Вид спереди разъема со стороны жгута проводов:

      (к разъему распределительного блока шины CAN № 1)

      *3 DLC3
      *4 на приемник мультимедийного модуля в сборе

      Измерьте сопротивление в соответствии со значениями, приведенными в таблице ниже.

      Номинальное сопротивление
      Подключение диагностического прибора Положение переключателя Заданные условия
      F70-8 (CANH) - F17-4 (CG) Зажигание выключено 200 Ом или более
      F70-19 (CANL) - F17-4 (CG) Зажигание выключено 200 Ом или более

    NG
    OK
  10. ПРОВЕРЬТЕ ШИНУ CAN НА КОРОТКОЕ ЗАМЫКАНИЕ НА GND (РАЗЪЕМ РАСПРЕДЕЛИТЕЛЬНОГО БЛОКА ШИНЫ CAN № 1 - ЭБУ РАСПРЕДЕЛЕНИЯ ПИТАНИЯ)


    1. A019M6TE26
      Обозначения на рисунке
      *1

      Вид сзади разъема со стороны жгута проводов

      (к ЭБУ распределения питания)

      Отсоедините разъем ЭБУ распределения питания.

    2. A019O1ZE72
      Обозначения на рисунке
      *2

      Вид спереди разъема со стороны жгута проводов:

      (к разъему распределительного блока шины CAN № 1)

      *3 DLC3
      *4 К ЭБУ распределения питания

      Измерьте сопротивление в соответствии со значениями, приведенными в таблице ниже.

      Номинальное сопротивление
      Подключение диагностического прибора Положение переключателя Заданные условия
      F70-9 (CANH) - F17-4 (CG) Зажигание выключено 200 Ом или более
      F70-20 (CANL) - F17-4 (CG) Зажигание выключено 200 Ом или более

    NG
    OK
  11. ПРОВЕРЬТЕ ШИНУ CAN НА КОРОТКОЕ ЗАМЫКАНИЕ НА GND (РАЗЪЕМ РАСПРЕДЕЛИТЕЛЬНОГО БЛОКА ШИНЫ CAN № 1 - ЦЕНТРАЛЬНЫЙ БЛОК УПРАВЛЕНИЯ СИСТЕМЫ SRS)


    1. A019O0VE11
      Обозначения на рисунке
      *1

      Вид спереди разъема со стороны жгута проводов:

      (к центральному блоку управления системы SRS)

      Отсоедините разъем центрального блока управления системы SRS.

    2. A019O1ZE73
      Обозначения на рисунке
      *2

      Вид спереди разъема со стороны жгута проводов:

      (к разъему распределительного блока шины CAN № 1)

      *3 DLC3
      *4 К центральному блоку управления системы SRS

      Измерьте сопротивление в соответствии со значениями, приведенными в таблице ниже.

      Номинальное сопротивление
      Подключение диагностического прибора Положение переключателя Заданные условия
      F70-10 (CANH) - F17-4 (CG) Зажигание выключено 200 Ом или более
      F70-21 (CANL) - F17-4 (CG) Зажигание выключено 200 Ом или более

    NG
    OK
  12. ПРОВЕРЬТЕ ШИНУ CAN НА КОРОТКОЕ ЗАМЫКАНИЕ НА GND (РАЗЪЕМ РАСПРЕДЕЛИТЕЛЬНОГО БЛОКА ШИНЫ CAN № 1 - ДАТЧИК РЫСКАНЬЯ)


    1. A019KM6E11
      Обозначения на рисунке
      *1

      Вид спереди разъема со стороны жгута проводов:

      (к датчику рысканья)

      Отсоедините разъем датчика рысканья.

    2. A019O1ZE74
      Обозначения на рисунке
      *2

      Вид спереди разъема со стороны жгута проводов:

      (к разъему распределительного блока шины CAN № 1)

      *3 DLC3
      *4 К датчику рысканья

      Измерьте сопротивление в соответствии со значениями, приведенными в таблице ниже.

      Номинальное сопротивление
      Подключение диагностического прибора Положение переключателя Заданные условия
      F70-11 (CANH) - F17-4 (CG) Зажигание выключено 200 Ом или более
      F70-22 (CANL) - F17-4 (CG) Зажигание выключено 200 Ом или более

    NG
    OK
  13. ПРОВЕРЬТЕ ШИНУ CAN НА КОРОТКОЕ ЗАМЫКАНИЕ НА GND (РАЗЪЕМ РАСПРЕДЕЛИТЕЛЬНОГО БЛОКА ШИНЫ CAN № 2 - ЭБУ СИСТЕМЫ ПРОТИВОСКОЛЬЖЕНИЯ)


    1. A019MT5E01
      Обозначения на рисунке
      *1

      Вид спереди разъема со стороны жгута проводов:

      (к ЭБУ системы противоскольжения)

      Отсоедините разъем ЭБУ системы противоскольжения.

    2. A019O1ZE75
      Обозначения на рисунке
      *2

      Вид спереди разъема со стороны жгута проводов:

      (к разъему распределительного блока шины CAN № 2)

      *3 DLC3
      *4 К ЭБУ системы противоскольжения

      Измерьте сопротивление в соответствии со значениями, приведенными в таблице ниже.

      Номинальное сопротивление
      Подключение диагностического прибора Положение переключателя Заданные условия
      F71-1 (CANH) - F17-4 (CG) Зажигание выключено 200 Ом или более
      F71-12 (CANL) - F17-4 (CG) Зажигание выключено 200 Ом или более

    NG
    OK
  14. ПРОВЕРЬТЕ ШИНУ CAN НА КОРОТКОЕ ЗАМЫКАНИЕ НА GND (РАЗЪЕМ РАСПРЕДЕЛИТЕЛЬНОГО БЛОКА ШИНЫ CAN № 2 - ЭБУ СЕРТИФИКАЦИИ)


    1. A019N51E06
      Обозначения на рисунке
      *1

      Вид спереди разъема со стороны жгута проводов:

      (к ЭБУ сертификации)

      Отсоедините разъем ЭБУ сертификации.

    2. A019O1ZE76
      Обозначения на рисунке
      *2

      Вид спереди разъема со стороны жгута проводов:

      (к разъему распределительного блока шины CAN № 2)

      *3 DLC3
      *4 К ЭБУ сертификации

      Измерьте сопротивление в соответствии со значениями, приведенными в таблице ниже.

      Номинальное сопротивление
      Подключение диагностического прибора Положение переключателя Заданные условия
      F71-2 (CANH) - F17-4 (CG) Зажигание выключено 200 Ом или более
      F71-13 (CANL) - F17-4 (CG) Зажигание выключено 200 Ом или более

    NG
    OK
  15. ПРОВЕРЬТЕ ШИНЫ CAN НА КОРОТКОЕ ЗАМЫКАНИЕ НА GND (РАЗЪЕМ РАСПРЕДЕЛИТЕЛЬНОГО БЛОКА ШИНЫ CAN № 2 - ЩИТОК ПРИБОРОВ)


    1. A019NZDE03
      Обозначения на рисунке
      *1

      Вид спереди разъема со стороны жгута проводов:

      (к щитку приборов)

      Отсоедините разъем щитка приборов.

    2. A019O1ZE95
      Обозначения на рисунке
      *2

      Вид спереди разъема со стороны жгута проводов:

      (к разъему распределительного блока шины CAN № 2)

      *3 DLC3
      *4 К щитку приборов

      Измерьте сопротивление в соответствии со значениями, приведенными в таблице ниже.

      Номинальное сопротивление
      Подключение диагностического прибора Положение переключателя Заданные условия
      F71-4 (CANH) - F17-4 (CG) Зажигание выключено 200 Ом или более
      F71-15 (CANL) - F17-4 (CG) Зажигание выключено 200 Ом или более

    NG
    OK
  16. ПРОВЕРЬТЕ ШИНУ CAN НА КОРОТКОЕ ЗАМЫКАНИЕ НА GND (РАЗЪЕМ РАСПРЕДЕЛИТЕЛЬНОГО БЛОКА ШИНЫ CAN № 2 - ДАТЧИК УГЛА ПОВОРОТА РУЛЕВОГО КОЛЕСА)


    1. A019MNQE27
      *1

      Вид спереди разъема со стороны жгута проводов:

      (к датчику угла поворота рулевого колеса)

      Отсоедините разъем датчика угла поворота рулевого колеса.

    2. A019O1ZE96
      Обозначения на рисунке
      *2

      Вид спереди разъема со стороны жгута проводов:

      (к разъему распределительного блока шины CAN № 2)

      *3 DLC3
      *4 К датчику угла поворота рулевого колеса

      Измерьте сопротивление в соответствии со значениями, приведенными в таблице ниже.

      Номинальное сопротивление
      Подключение диагностического прибора Положение переключателя Заданные условия
      F71-5 (CANH) - F17-4 (CG) Зажигание выключено 200 Ом или более
      F71-16 (CANL) - F17-4 (CG) Зажигание выключено 200 Ом или более

    NG
    OK
  17. ПРОВЕРЬТЕ ШИНУ CAN НА КОРОТКОЕ ЗАМЫКАНИЕ НА GND (РАЗЪЕМ РАСПРЕДЕЛИТЕЛЬНОГО БЛОКА ШИНЫ CAN № 2 - ЭБУ РУЛЕВОГО УПРАВЛЕНИЯ С УСИЛИТЕЛЕМ)


    1. A019OZNE09
      Обозначения на рисунке
      *1

      Вид спереди разъема со стороны жгута проводов:

      (к ЭБУ рулевого управления с усилителем)

      Отсоедините разъем ЭБУ рулевого управления с усилителем.

    2. A019O1ZE97
      Обозначения на рисунке
      *2

      Вид спереди разъема со стороны жгута проводов:

      (к разъему распределительного блока шины CAN № 2)

      *3 DLC3
      *4 К ЭБУ рулевого управления с усилителем

      Измерьте сопротивление в соответствии со значениями, приведенными в таблице ниже.

      Номинальное сопротивление
      Подключение диагностического прибора Положение переключателя Заданные условия
      F71-6 (CANH) - F17-4 (CG) Зажигание выключено 200 Ом или более
      F71-17 (CANL) - F17-4 (CG) Зажигание выключено 200 Ом или более

    NG
    OK