СИСТЕМА ПЕРЕДАЧИ ДАННЫХ CAN Проверьте шину CAN на короткое замыкание на +B (для моделей с левосторонним рулевым управлением)

ОПИСАНИЕ

Между главной шиной CAN и +В может быть короткое замыкание, если между контактами 6 (CANH) и 16 (BAT) или контактами 14 (CANL) и 16 (BAT) разъема DLC3 сопротивление отсутствует.

Признак Неисправный участок
Между контактами 6 (CANH) и 16 (BAT) или контактами 14 (CANL) и 16 (BAT) разъема DLC3 сопротивление отсутствует.
  • Короткое замыкание на +B в главной шине CAN

  • Короткое замыкание на +B во вспомогательной шине CAN

  • ECM

  • ЭБУ сертификации (ЭБУ электронного ключа зажигания)

  • Щиток приборов

  • ЭБУ рулевого управления с усилителем

  • Центральный датчик системы SRS в сборе

  • ЭБУ системы противоскольжения (блок управления рабочими цилиндрами тормозов в сборе)

  • Датчик угла поворота рулевого колеса

  • Датчик рысканья

  • Главный ЭБУ кузова (бортовой ЭБУ сети мультиплексной связи)

  • ЭБУ распределения питания

  • Приемник мультимедийной системы в сборе*1

  • Радиоприемник в сборе*2

  • Разъем распределительного блока шины CAN № 1

  • Разъем распределительного блока шины CAN № 2


СХЕМА ЭЛЕКТРИЧЕСКИХ СОЕДИНЕНИЙ

A019LM4E01
A019LN2E03

ПОСЛЕДОВАТЕЛЬНОСТЬ ПРОВЕРКИ

Note


  • Выключите зажигание перед измерением сопротивления между главными и вспомогательными шинами CAN.

  • Выключите зажигание перед проверкой короткого замыкания шины CAN на массу.

  • После выключения зажигания убедитесь, что система оповещения о ключе, оставленном в замке зажигания, и система оповещения о невыключенном освещении не активированы.

  • Перед измерением сопротивления оставьте автомобиль на 1 минуту "как он есть", не трогая выключатель зажигания, другие переключатели и двери. Если необходимо открыть какую-либо дверь для проверки разъемов, откройте двери и не закрывайте их.

Tech Tips


  • Управление выключателем зажигания, какими-либо выключателями или дверями приводит к обмену данными между ЭБУ и датчиками по шине CAN. При осуществлении обмена данными сопротивление изменяется.

  • Если DTC регистрируется при непродолжительном движении на автомобиле даже после удаления кодов DTC, неисправность может возникать вследствие вибрации автомобиля. В подобных случаях необходимо пошевелить разъемы ЭБУ или жгутов проводов во время проверки, чтобы установить причину неисправности.

ПОРЯДОК ВЫПОЛНЕНИЯ


  1. ПРОВЕРЬТЕ ШИНУ CAN НА КОРОТКОЕ ЗАМЫКАНИЕ НА +B (РАЗЪЕМ РАСПРЕДЕЛИТЕЛЬНОГО БЛОКА ШИНЫ CAN № 1 - РАЗЪЕМ РАСПРЕДЕЛИТЕЛЬНОГО БЛОКА ШИНЫ CAN № 2)


    1. Отсоедините провод от отрицательного (-) вывода аккумуляторной батареи.

    2. A019M7SE62
      Обозначения на рисунке
      *1

      Вид спереди разъема со стороны жгута проводов:

      (к разъему распределительного блока шины CAN № 1)

      *2 К разъему распределительного блока шины CAN № 2

      Отсоедините разъем распределительного блока шины CAN № 1.

    3. A019K7ZE01
      Обозначения на рисунке
      *3 DLC3

      Измерьте сопротивление в соответствии со значениями, приведенными в таблице ниже.

      Номинальное сопротивление
      Подключение диагностического прибора Условия Номинальное сопротивление
      F17-6 (CANH) - F17-16 (BAT) Провод отсоединен от отрицательного (-) вывода аккумуляторной батареи 6 кОм или более
      F17-14 (CANL) - F17-16 (BAT) Провод отсоединен от отрицательного (-) вывода аккумуляторной батареи 6 кОм или более

    NG
    OK
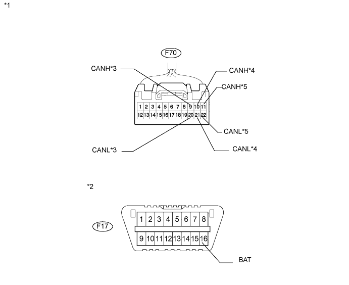
  2. ПРОВЕРЬТЕ ШИНУ CAN НА КОРОТКОЕ ЗАМЫКАНИЕ НА +B (РАЗЪЕМ РАСПРЕДЕЛИТЕЛЬНОГО БЛОКА ШИНЫ CAN № 1)

    A019L1GE49

    1. Измерьте сопротивление в соответствии со значениями, приведенными в таблице ниже.

      Номинальное сопротивление
      Подключение диагностического прибора Условия Номинальное сопротивление Куда подсоединить
      F70-1 (CANH) - F17-16 (BAT) Провод отсоединен от отрицательного (-) вывода аккумуляторной батареи 6 кОм или более ЭБУ рулевого управления с усилителем
      F70-12 (CANL) - F17-16 (BAT) Провод отсоединен от отрицательного (-) вывода аккумуляторной батареи 6 кОм или более
      F70-2 (CANH) - F17-16 (BAT) Провод отсоединен от отрицательного (-) вывода аккумуляторной батареи 6 кОм или более Датчик угла поворота рулевого колеса
      F70-13 (CANL) - F17-16 (BAT) Провод отсоединен от отрицательного (-) вывода аккумуляторной батареи 6 кОм или более
      F70-3 (CANH) - F17-16 (BAT) Провод отсоединен от отрицательного (-) вывода аккумуляторной батареи 6 кОм или более DLC3
      F70-14 (CANL) - F17-16 (BAT) Провод отсоединен от отрицательного (-) вывода аккумуляторной батареи 6 кОм или более
      Результат
      Результат Перейти к
      OK А
      NG (вспомогательная шина ЭБУ рулевого управления с усилителем) B
      NG (вспомогательная шина датчика угла поворота рулевого колеса) C
      NG (вспомогательная шина DLC3) D
      Обозначения на рисунке
      *1 Вид спереди разъема со стороны жгута проводов (к разъему распределительного блока шины CAN № 1)
      *2 DLC3
      *3 К ЭБУ рулевого управления с усилителем
      *4 К датчику угла поворота рулевого колеса
      *5 К DLC3

    B
    C
    D
    А
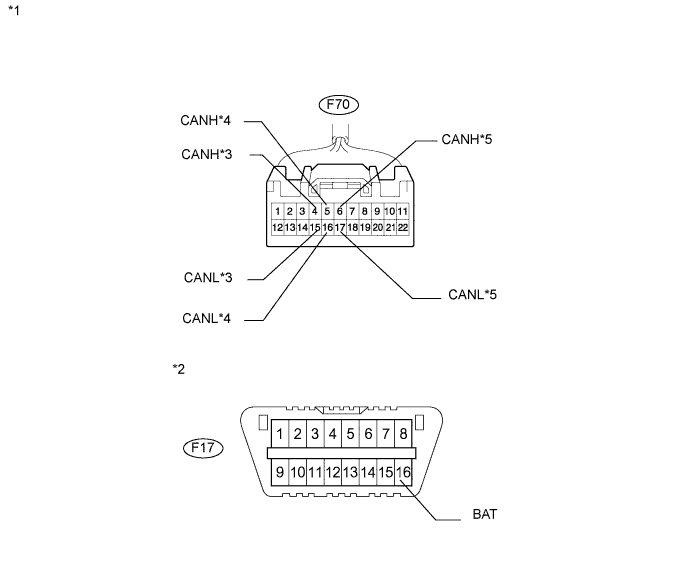
  3. ПРОВЕРЬТЕ ШИНУ CAN НА КОРОТКОЕ ЗАМЫКАНИЕ НА +B (РАЗЪЕМ РАСПРЕДЕЛИТЕЛЬНОГО БЛОКА ШИНЫ CAN № 1)

    A019L1GE50

    1. Измерьте сопротивление в соответствии со значениями, приведенными в таблице ниже.

      Номинальное сопротивление
      Подключение диагностического прибора Условия Номинальное сопротивление Куда подсоединить
      F70-4 (CANH) - F17-16 (BAT) Провод отсоединен от отрицательного (-) вывода аккумуляторной батареи 6 кОм или более Щиток приборов
      F70-15 (CANL) - F17-16 (BAT) Провод отсоединен от отрицательного (-) вывода аккумуляторной батареи 6 кОм или более
      F70-5 (CANH) - F17-16 (BAT) Провод отсоединен от отрицательного (-) вывода аккумуляторной батареи 6 кОм или более Главный ЭБУ кузова
      F70-16 (CANL) - F17-16 (BAT) Провод отсоединен от отрицательного (-) вывода аккумуляторной батареи 6 кОм или более
      F70-6 (CANH) - F17-16 (BAT) Провод отсоединен от отрицательного (-) вывода аккумуляторной батареи 6 кОм или более ECM
      F70-17 (CANL) - F17-16 (BAT) Провод отсоединен от отрицательного (-) вывода аккумуляторной батареи 6 кОм или более
      Обозначения на рисунке
      *1 Вид спереди разъема со стороны жгута проводов (к разъему распределительного блока шины CAN № 1)
      *2 DLC3
      *3 К щитку приборов
      *4 К главному ЭБУ кузова
      *5 К ECM
      Результат
      Результат Перейти к
      OK А
      NG (вспомогательная шина щитка приборов) B
      NG (вспомогательная шина CAN со стороны главного ЭБУ кузова) C
      NG (главная шина ECM) D

    B
    C
    D
    А
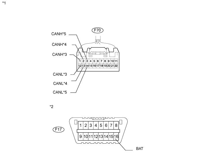
  4. ПРОВЕРЬТЕ ШИНУ CAN НА КОРОТКОЕ ЗАМЫКАНИЕ НА +B (РАЗЪЕМ РАСПРЕДЕЛИТЕЛЬНОГО БЛОКА ШИНЫ CAN № 1)

    A019L1GE51

    1. Измерьте сопротивление в соответствии со значениями, приведенными в таблице ниже.

      Номинальное сопротивление
      Подключение диагностического прибора Условия Номинальное сопротивление Куда подсоединить
      F70-9 (CANH) - F17-16 (BAT) Провод отсоединен от отрицательного (-) вывода аккумуляторной батареи 6 кОм или более ЭБУ распределения питания
      F70-20 (CANL) - F17-16 (BAT) Провод отсоединен от отрицательного (-) вывода аккумуляторной батареи 6 кОм или более
      F70-10 (CANH) - F17-16 (BAT) Провод отсоединен от отрицательного (-) вывода аккумуляторной батареи 6 кОм или более Центральный блок управления системы SRS
      F70-21 (CANL) - F17-16 (BAT) Провод отсоединен от отрицательного (-) вывода аккумуляторной батареи 6 кОм или более
      F70-11 (CANH) - F17-16 (BAT) Провод отсоединен от отрицательного (-) вывода аккумуляторной батареи 6 кОм или более Датчик рысканья
      F70-22 (CANL) - F17-16 (BAT) Провод отсоединен от отрицательного (-) вывода аккумуляторной батареи 6 кОм или более
      Обозначения на рисунке
      *1 Вид спереди разъема со стороны жгута проводов (к разъему распределительного блока шины CAN № 1)
      *2 DLC3
      *3 к ЭБУ распределения питания
      *4 к центральному блоку управления системы SRS
      *5 к датчику рысканья
      Результат
      Результат Перейти к
      OK А
      NG (вспомогательная шина ЭБУ распределения питания) B
      NG (вспомогательная шина центрального блока управления системы SRS) C
      NG (вспомогательная шина датчика рысканья) D

    B
    C
    D
    А
  5. ПРОВЕРЬТЕ ШИНУ CAN НА КОРОТКОЕ ЗАМЫКАНИЕ НА B+ (РАЗЪЕМ РАСПРЕДЕЛИТЕЛЬНОГО БЛОКА ШИНЫ CAN № 2 - РАЗЪЕМ РАСПРЕДЕЛИТЕЛЬНОГО БЛОКА ШИНЫ CAN № 1)


    1. A019M7SE74
      Обозначения на рисунке
      *1

      Вид спереди разъема со стороны жгута проводов:

      (к разъему распределительного блока шины CAN № 2)

      *2 К разъему распределительного блока шины CAN № 1

      Отсоедините разъем распределительного блока шины CAN № 2.

    2. A019K7ZE01
      Обозначения на рисунке
      *3 DLC3

      Измерьте сопротивление в соответствии со значениями, приведенными в таблице ниже.

      Номинальное сопротивление
      Подключение диагностического прибора Условия Номинальное сопротивление
      F17-6 (CANH) - F17-16 (BAT) Провод отсоединен от отрицательного (-) вывода аккумуляторной батареи 6 кОм или более
      F17-14 (CANL) - F17-16 (BAT) Провод отсоединен от отрицательного (-) вывода аккумуляторной батареи 6 кОм или более

    NG
    OK
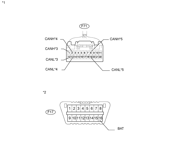
  6. ПРОВЕРЬТЕ ШИНУ CAN НА КОРОТКОЕ ЗАМЫКАНИЕ НА B+ (РАЗЪЕМ РАСПРЕДЕЛИТЕЛЬНОГО БЛОКА ШИНЫ CAN № 2)

    A019L1GE52

    1. Измерьте сопротивление в соответствии со значениями, приведенными в таблице ниже.

      Номинальное сопротивление
      Подключение диагностического прибора Условия Номинальное сопротивление Куда подсоединить
      F71-1 (CANH) - F17-16 (BAT) Провод отсоединен от отрицательного (-) вывода аккумуляторной батареи 6 кОм или более ЭБУ системы противоскольжения
      F71-12 (CANL) - F17-16 (BAT) Провод отсоединен от отрицательного (-) вывода аккумуляторной батареи 6 кОм или более
      F71-2 (CANH) - F17-16 (BAT) Провод отсоединен от отрицательного (-) вывода аккумуляторной батареи 6 кОм или более ЭБУ сертификации
      F71-13 (CANL) - F17-16 (BAT) Провод отсоединен от отрицательного (-) вывода аккумуляторной батареи 6 кОм или более
      F71-8 (CANH) - F17-16 (BAT) Провод отсоединен от отрицательного (-) вывода аккумуляторной батареи 6 кОм или более
      • Приемник мультимедийного модуля в сборе

      • Радиоприемник в сборе

      F71-19 (CANL) - F17-16 (BAT) Провод отсоединен от отрицательного (-) вывода аккумуляторной батареи 6 кОм или более
      Обозначения на рисунке
      *1 Вид спереди разъема со стороны жгута проводов (к разъему распределительного блока шины CAN № 2)
      *2 DLC3
      *3 К ЭБУ системы противоскольжения
      *4 К ЭБУ сертификации
      *5
      • на приемник мультимедийного модуля в сборе

      • к блоку радиоприемника

      Результат
      Результат Перейти к
      OK А
      NG (вспомогательная шина ЭБУ системы противоскольжения) B
      NG (главная шина ЭБУ сертификации) C

      • NG (вспомогательная шина приемника мультимедийного модуля в сборе)

      • NG (вспомогательная шина блока радиоприемника)

      D

    B
    C
    D
    А
  7. ПРОВЕРЬТЕ ШИНУ CAN НА КОРОТКОЕ ЗАМЫКАНИЕ НА +B (РАЗЪЕМ РАСПРЕДЕЛИТЕЛЬНОГО БЛОКА ШИНЫ CAN № 1 - ЭБУ РУЛЕВОГО УПРАВЛЕНИЯ С УСИЛИТЕЛЕМ)


    1. A019OZNE09
      Обозначения на рисунке
      *1

      Вид спереди разъема со стороны жгута проводов:

      (к ЭБУ рулевого управления с усилителем)

      Отсоедините разъем ЭБУ рулевого управления с усилителем.

    2. A019O1ZE56
      Обозначения на рисунке
      *2

      Вид спереди разъема со стороны жгута проводов:

      (к разъему распределительного блока шины CAN № 1)

      *3 DLC3
      *4 К ЭБУ рулевого управления с усилителем

      Измерьте сопротивление в соответствии со значениями, приведенными в таблице ниже.

      Номинальное сопротивление
      Подключение диагностического прибора Условия Номинальное сопротивление
      F70-1 (CANH) - F17-16 (BAT) Провод отсоединен от отрицательного (-) вывода аккумуляторной батареи 6 кОм или более
      F70-12 (CANL) - F17-16 (BAT) Провод отсоединен от отрицательного (-) вывода аккумуляторной батареи 6 кОм или более

    NG
    OK
  8. ПРОВЕРЬТЕ ШИНУ CAN НА КОРОТКОЕ ЗАМЫКАНИЕ НА +B (РАЗЪЕМ РАСПРЕДЕЛИТЕЛЬНОГО БЛОКА ШИНЫ CAN № 1 - ДАТЧИК УГЛА ПОВОРОТА РУЛЕВОГО КОЛЕСА)


    1. A019MNQE27
      Обозначения на рисунке
      *1

      Вид спереди разъема со стороны жгута проводов:

      (к датчику угла поворота рулевого колеса)

      Отсоедините разъем датчика угла поворота рулевого колеса.

    2. A019O1ZE57
      Обозначения на рисунке
      *2

      Вид спереди разъема со стороны жгута проводов:

      (к разъему распределительного блока шины CAN № 1)

      *3 DLC3
      *4 К датчику угла поворота рулевого колеса

      Измерьте сопротивление в соответствии со значениями, приведенными в таблице ниже.

      Номинальное сопротивление
      Подключение диагностического прибора Условия Номинальное сопротивление
      F70-2 (CANH) - F17-16 (BAT) Провод отсоединен от отрицательного (-) вывода аккумуляторной батареи 6 кОм или более
      F70-13 (CANL) - F17-16 (BAT) Провод отсоединен от отрицательного (-) вывода аккумуляторной батареи 6 кОм или более

    NG
    OK
  9. ПРОВЕРЬТЕ ШИНУ CAN НА КОРОТКОЕ ЗАМЫКАНИЕ НА +B (РАЗЪЕМ РАСПРЕДЕЛИТЕЛЬНОГО БЛОКА ШИНЫ CAN № 1 - ЩИТОК ПРИБОРОВ)


    1. A019NZDE03
      *1

      Вид спереди разъема со стороны жгута проводов:

      (к щитку приборов)

      Отсоедините разъем щитка приборов.

    2. A019O1ZE58
      Обозначения на рисунке
      *2

      Вид спереди разъема со стороны жгута проводов:

      (к разъему распределительного блока шины CAN № 1)

      *3 DLC3
      *4 К щитку приборов

      Измерьте сопротивление в соответствии со значениями, приведенными в таблице ниже.

      Номинальное сопротивление
      Подключение диагностического прибора Условия Номинальное сопротивление
      F70-4 (CANH) - F17-16 (BAT) Провод отсоединен от отрицательного (-) вывода аккумуляторной батареи 6 кОм или более
      F70-15 (CANL) - F17-16 (BAT) Провод отсоединен от отрицательного (-) вывода аккумуляторной батареи 6 кОм или более

    NG
    OK
  10. ПРОВЕРЬТЕ ШИНУ CAN НА КОРОТКОЕ ЗАМЫКАНИЕ НА +B (РАЗЪЕМ РАСПРЕДЕЛИТЕЛЬНОГО БЛОКА ШИНЫ CAN № 1 - ГЛАВНЫЙ ЭБУ КУЗОВА)


    1. A019O5VE01
      Обозначения на рисунке
      *1

      Вид спереди разъема со стороны жгута проводов:

      (к главному ЭБУ кузова)

      Отсоедините разъем главного ЭБУ кузова.

    2. A019O1ZE59
      Обозначения на рисунке
      *2

      Вид спереди разъема со стороны жгута проводов:

      (к разъему распределительного блока шины CAN № 1)

      *3 DLC3
      *4 К главному ЭБУ кузова

      Измерьте сопротивление в соответствии со значениями, приведенными в таблице ниже.

      Номинальное сопротивление
      Подключение диагностического прибора Условия Номинальное сопротивление
      F70-5 (CANH) - F17-16 (BAT) Провод отсоединен от отрицательного (-) вывода аккумуляторной батареи 6 кОм или более
      F70-16 (CANL) - F17-16 (BAT) Провод отсоединен от отрицательного (-) вывода аккумуляторной батареи 6 кОм или более

    NG
    OK
  11. ПРОВЕРЬТЕ ШИНУ CAN НА КОРОТКОЕ ЗАМЫКАНИЕ НА +B (РАЗЪЕМ РАСПРЕДЕЛИТЕЛЬНОГО БЛОКА ШИНЫ CAN № 1 - ЕСМ)


    1. A019OJ1E52
      Обозначения на рисунке
      *A Для моделей с 2GR-FE
      *B Для моделей с 1AR-FE
      *1

      Вид спереди разъема со стороны жгута проводов:

      (к ECM)

      Отсоедините разъем ЭБУ.

    2. A019O1ZE60
      Обозначения на рисунке
      *2

      Вид спереди разъема со стороны жгута проводов:

      (к разъему распределительного блока шины CAN № 1)

      *3 DLC3
      *4 К ECM

      Измерьте сопротивление в соответствии со значениями, приведенными в таблице ниже.

      Номинальное сопротивление
      Подключение диагностического прибора Условия Номинальное сопротивление
      F70-6 (CANH) - F17-16 (BAT) Провод отсоединен от отрицательного (-) вывода аккумуляторной батареи 6 кОм или более
      F70-17 (CANL) - F17-16 (BAT) Провод отсоединен от отрицательного (-) вывода аккумуляторной батареи 6 кОм или более
      Результат
      Результат Перейти к
      OK (для моделей с 2GR-FE) А
      OK (для моделей с 1AR-FE) B
      NG C

    B
    C
    А
  12. ПРОВЕРЬТЕ ШИНУ CAN НА КОРОТКОЕ ЗАМЫКАНИЕ НА +B (РАЗЪЕМ РАСПРЕДЕЛИТЕЛЬНОГО БЛОКА ШИНЫ CAN № 1 - ЭБУ РАСПРЕДЕЛЕНИЯ ПИТАНИЯ)


    1. A019M6TE26
      Обозначения на рисунке
      *1

      Вид сзади разъема со стороны жгута проводов

      (к ЭБУ распределения питания)

      Отсоедините разъем ЭБУ распределения питания.

    2. A019O1ZE61
      Обозначения на рисунке
      *2

      Вид спереди разъема со стороны жгута проводов:

      (к разъему распределительного блока шины CAN № 1)

      *3 DLC3
      *4 к ЭБУ распределения питания

      Измерьте сопротивление в соответствии со значениями, приведенными в таблице ниже.

      Номинальное сопротивление
      Подключение диагностического прибора Условия Номинальное сопротивление
      F70-9 (CANH) - F17-16 (BAT) Провод отсоединен от отрицательного (-) вывода аккумуляторной батареи 6 кОм или более
      F70-20 (CANL) - F17-16 (BAT) Провод отсоединен от отрицательного (-) вывода аккумуляторной батареи 6 кОм или более

    NG
    OK
  13. ПРОВЕРЬТЕ ШИНУ CAN НА КОРОТКОЕ ЗАМЫКАНИЕ НА +B (РАЗЪЕМ РАСПРЕДЕЛИТЕЛЬНОГО БЛОКА ШИНЫ CAN № 1 - ЦЕНТРАЛЬНЫЙ БЛОК УПРАВЛЕНИЯ СИСТЕМЫ SRS)


    1. A019O0VE11
      Обозначения на рисунке
      *1

      Вид спереди разъема со стороны жгута проводов:

      (к центральному блоку управления системы SRS)

      Отсоедините разъем центрального блока управления системы SRS.

    2. A019O1ZE62
      Обозначения на рисунке
      *2

      Вид спереди разъема со стороны жгута проводов:

      (к разъему распределительного блока шины CAN № 1)

      *3 DLC3
      *4 К центральному блоку управления системы SRS

      Измерьте сопротивление в соответствии со значениями, приведенными в таблице ниже.

      Номинальное сопротивление
      Подключение диагностического прибора Условия Номинальное сопротивление
      F70-10 (CANH) - F17-16 (BAT) Провод отсоединен от отрицательного (-) вывода аккумуляторной батареи 6 кОм или более
      F70-21 (CANL) - F17-16 (BAT) Провод отсоединен от отрицательного (-) вывода аккумуляторной батареи 6 кОм или более

    NG
    OK
  14. ПРОВЕРЬТЕ ШИНУ CAN НА КОРОТКОЕ ЗАМЫКАНИЕ НА +B (РАЗЪЕМ РАСПРЕДЕЛИТЕЛЬНОГО БЛОКА ШИНЫ CAN № 1 – ДАТЧИК РЫСКАНЬЯ)


    1. A019KM6E11
      Обозначения на рисунке
      *1

      Вид спереди разъема со стороны жгута проводов:

      (к датчику рысканья)

      Отсоедините разъем датчика рысканья.

    2. A019O1ZE63
      Обозначения на рисунке
      *2

      Вид спереди разъема со стороны жгута проводов:

      (к разъему распределительного блока шины CAN № 1)

      *3 DLC3
      *4 К датчику рысканья

      Измерьте сопротивление в соответствии со значениями, приведенными в таблице ниже.

      Номинальное сопротивление
      Подключение диагностического прибора Условия Номинальное сопротивление
      F70-11 (CANH) - F17-16 (BAT) Провод отсоединен от отрицательного (-) вывода аккумуляторной батареи 6 кОм или более
      F70-22 (CANL) - F17-16 (BAT) Провод отсоединен от отрицательного (-) вывода аккумуляторной батареи 6 кОм или более

    NG
    OK
  15. ПРОВЕРЬТЕ ШИНУ CAN НА КОРОТКОЕ ЗАМЫКАНИЕ НА +B (РАЗЪЕМ РАСПРЕДЕЛИТЕЛЬНОГО БЛОКА ШИНЫ CAN № 2 - ЭБУ СИСТЕМЫ ПРОТИВОСКОЛЬЖЕНИЯ)


    1. A019MT5E01
      Обозначения на рисунке
      *1

      Вид спереди разъема со стороны жгута проводов:

      (к ЭБУ системы противоскольжения)

      Отсоедините разъем ЭБУ системы противоскольжения.

    2. A019O1ZE64
      Обозначения на рисунке
      *2

      Вид спереди разъема со стороны жгута проводов:

      (к разъему распределительного блока шины CAN № 2)

      *3 DLC3
      *4 К ЭБУ системы противоскольжения

      Измерьте сопротивление в соответствии со значениями, приведенными в таблице ниже.

      Номинальное сопротивление
      Подключение диагностического прибора Условия Номинальное сопротивление
      F71-1 (CANH) - F17-16 (BAT) Провод отсоединен от отрицательного (-) вывода аккумуляторной батареи 6 кОм или более
      F71-12 (CANL) - F17-16 (BAT) Провод отсоединен от отрицательного (-) вывода аккумуляторной батареи 6 кОм или более

    NG
    OK
  16. ПРОВЕРЬТЕ ШИНУ CAN НА КОРОТКОЕ ЗАМЫКАНИЕ НА +B (РАЗЪЕМ РАСПРЕДЕЛИТЕЛЬНОГО БЛОКА ШИНЫ CAN № 2 - ЭБУ СЕРТИФИКАЦИИ)


    1. A019N51E06
      Обозначения на рисунке
      *1

      Вид спереди разъема со стороны жгута проводов:

      (к ЭБУ сертификации)

      Отсоедините разъем ЭБУ сертификации.

    2. A019O1ZE65
      Обозначения на рисунке
      *2

      Вид спереди разъема со стороны жгута проводов:

      (к разъему распределительного блока шины CAN № 2)

      *3 DLC3
      *4 К ЭБУ сертификации

      Измерьте сопротивление в соответствии со значениями, приведенными в таблице ниже.

      Номинальное сопротивление
      Подключение диагностического прибора Условия Номинальное сопротивление
      F71-2 (CANH) - F17-16 (BAT) Провод отсоединен от отрицательного (-) вывода аккумуляторной батареи 6 кОм или более
      F71-13 (CANL) - F17-16 (BAT) Провод отсоединен от отрицательного (-) вывода аккумуляторной батареи 6 кОм или более

    NG
    OK
  17. ПРОВЕРЬТЕ ШИНУ CAN НА КОРОТКОЕ ЗАМЫКАНИЕ НА ЦЕПЬ ПОЛОЖИТЕЛЬНОГО ВЫВОДА АККУМУЛЯТОРНОЙ БАТАРЕИ (РАЗЪЕМ РАСПРЕДЕЛИТЕЛЬНОГО БЛОКА ШИНЫ CAN № 2 - БЛОК МУЛЬТИМЕДИЙНОГО МОДУЛЯ В СБОРЕ ИЛИ РАДИОПРИЕМНИК)


    1. Для моделей с системой навигации


      1. A019MXHE14
        Обозначения на рисунке
        *1

        Вид спереди разъема со стороны жгута проводов:

        (на приемник мультимедийного модуля в сборе)

        Отсоедините разъем от приемника мультимедийного модуля в сборе.

    2. автомобили с аудиовизуальной системой (и с многофункциональным дисплеем)


      1. A019PE7E03
        Обозначения на рисунке
        *2

        Вид спереди разъема со стороны жгута проводов:

        (к радиоприемнику в сборе)

        Отсоедините разъем радиоприемника.

    3. A019N3IE01
      Обозначения на рисунке
      *3

      Вид спереди разъема со стороны жгута проводов:

      (к разъему распределительного блока шины CAN № 2)

      *4 DLC3
      *5
      • на приемник мультимедийного модуля в сборе

      • к блоку радиоприемника

      Измерьте сопротивление в соответствии со значениями, приведенными в таблице ниже.

      Номинальное сопротивление
      Подключение диагностического прибора Условия Номинальное сопротивление
      F71-8 (CANH) - F17-16 (BAT) Провод отсоединен от отрицательного (-) вывода аккумуляторной батареи 6 кОм или более
      F71-19 (CANL) - F17-16 (BAT) Провод отсоединен от отрицательного (-) вывода аккумуляторной батареи 6 кОм или более
      Результат
      Результат Перейти к
      OK (для моделей с системой навигации) А
      OK (автомобили с аудиовизуальной системой (и с многофункциональным дисплеем)) B
      NG C

    B
    C
    А