СИСТЕМА ПЕРЕДАЧИ ДАННЫХ CAN Проверьте шину CAN на короткое замыкание (для моделей с левосторонним рулевым управлением)

ОПИСАНИЕ

Между проводами главной шины CAN и/или вспомогательных шин CAN может быть короткое замыкание, если сопротивление между контактами 6 (CANH) и 14 (CANL) разъема DLC3 составляет менее 54 Ом.

Признак Неисправный участок
Сопротивление между контактами 6 (CANH) и 14 (CANL) разъема DLC3 менее 54 Ом
  • Короткое замыкание в главной шине CAN

  • Короткое замыкание во вспомогательной шине CAN

  • ECM

  • ЭБУ сертификации (ЭБУ электронного ключа зажигания)

  • Щиток приборов

  • ЭБУ рулевого управления с усилителем

  • Центральный датчик системы SRS в сборе

  • ЭБУ системы противоскольжения (блок управления рабочими цилиндрами тормозов в сборе)

  • Датчик угла поворота рулевого колеса

  • Датчик рысканья

  • Главный ЭБУ кузова (бортовой ЭБУ сети мультиплексной связи)

  • ЭБУ распределения питания

  • Приемник мультимедийной системы в сборе*1

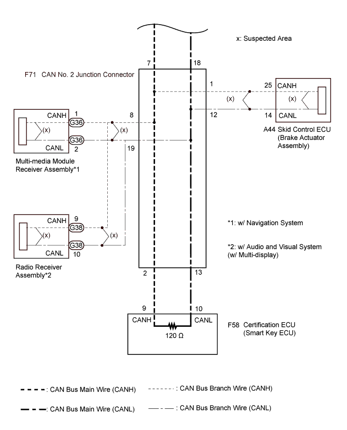
  • Радиоприемник в сборе*2

  • Разъем распределительного блока шины CAN № 1

  • Разъем распределительного блока шины CAN № 2


СХЕМА ЭЛЕКТРИЧЕСКИХ СОЕДИНЕНИЙ

A019LM4E01
A019LN2E03

ПОСЛЕДОВАТЕЛЬНОСТЬ ПРОВЕРКИ

Note


  • Выключите зажигание перед измерением сопротивления между главными и вспомогательными шинами CAN.

  • Выключите зажигание перед проверкой короткого замыкания шины CAN на массу.

  • После выключения зажигания убедитесь, что система оповещения о ключе, оставленном в замке зажигания, и система оповещения о невыключенном освещении не активированы.

  • Перед измерением сопротивления оставьте автомобиль на 1 минуту "как он есть", не трогая выключатель зажигания, другие переключатели и двери. Если необходимо открыть какую-либо дверь для проверки разъемов, откройте двери и не закрывайте их.

Tech Tips


  • Управление выключателем зажигания, какими-либо выключателями или дверями приводит к обмену данными между ЭБУ и датчиками по шине CAN. При осуществлении обмена данными сопротивление изменяется.

  • Если DTC регистрируется при непродолжительном движении на автомобиле даже после удаления кодов DTC, неисправность может возникать вследствие вибрации автомобиля. В подобных случаях необходимо пошевелить разъемы ЭБУ или жгутов проводов во время проверки, чтобы установить причину неисправности.

ПОРЯДОК ВЫПОЛНЕНИЯ


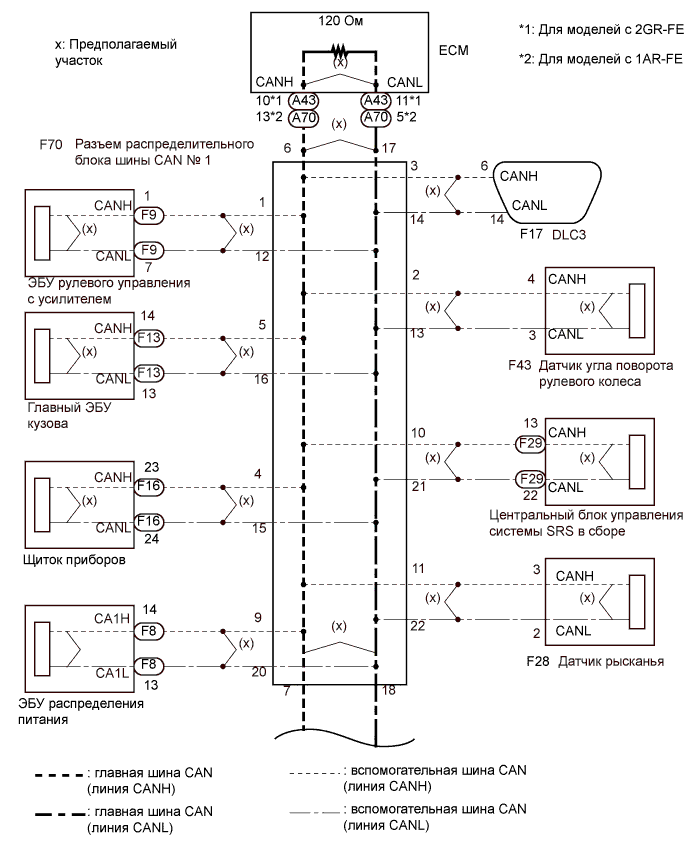
  1. ПРОВЕРЬТЕ ШИНУ CAN НА КОРОТКОЕ ЗАМЫКАНИЕ (РАЗЪЕМ РАСПРЕДЕЛИТЕЛЬНОГО БЛОКА ШИНЫ CAN № 1 - РАЗЪЕМ РАСПРЕДЕЛИТЕЛЬНОГО БЛОКА ШИНЫ CAN № 2)


    1. Выключите зажигание.

    2. A019M7SE62
      Текст на рисунке
      *1

      Вид спереди разъема со стороны жгута проводов:

      (к разъему распределительного блока шины CAN № 1)

      *2 К разъему распределительного блока шины CAN № 2

      Отсоедините разъем распределительного блока шины CAN № 1.

    3. Измерьте сопротивление в соответствии со значениями, приведенными в таблице ниже.

      Номинальное сопротивление
      Подключение диагностического прибора Положение переключателя Заданные условия
      F70-7 (CANH) - F70-18 (CANL) Зажигание выключено 108-132 Ом

    NG
    OK
  2. ПРОВЕРЬТЕ ШИНУ CAN НА КОРОТКОЕ ЗАМЫКАНИЕ (РАЗЪЕМ РАСПРЕДЕЛИТЕЛЬНОГО БЛОКА ШИНЫ CAN № 1 - ЕСМ)


    1. A019P6ME25
      Обозначения на рисунке
      *1

      Вид спереди разъема со стороны жгута проводов:

      (к разъему распределительного блока шины CAN № 1)

      *2 К ECM

      Измерьте сопротивление в соответствии со значениями, приведенными в таблице ниже.

      Номинальное сопротивление
      Подключение диагностического прибора Положение переключателя Заданные условия
      F70-6 (CANH) - F70-17 (CANL) Зажигание выключено 108 - 132 Ом

    NG
    OK
  3. ПРОВЕРЬТЕ ШИНУ CAN НА КОРОТКОЕ ЗАМЫКАНИЕ (РАЗЪЕМ РАСПРЕДЕЛИТЕЛЬНОГО БЛОКА ШИНЫ CAN № 1 - DLC3)


    1. A019M7SE64
      Обозначения на рисунке
      *1

      Вид спереди разъема со стороны жгута проводов:

      (к разъему распределительного блока шины CAN № 1)

      *2 К DLC3

      Измерьте сопротивление в соответствии со значениями, приведенными в таблице ниже.

      Номинальное сопротивление
      Подключение диагностического прибора Положение переключателя Заданные условия
      F70-3 (CANH) - F70-14 (CANL) Зажигание выключено 1 МОм или более

    NG
    OK
  4. ПРОВЕРЬТЕ ШИНУ CAN НА КОРОТКОЕ ЗАМЫКАНИЕ (РАЗЪЕМ РАСПРЕДЕЛИТЕЛЬНОГО БЛОКА ШИНЫ CAN № 1 - ЩИТОК ПРИБОРОВ)


    1. A019NZDE03
      Обозначения на рисунке
      *1

      Вид спереди разъема со стороны жгута проводов:

      (к щитку приборов)

      Отсоедините разъем щитка приборов.

    2. A019M7SE65
      Обозначения на рисунке
      *2

      Вид спереди разъема со стороны жгута проводов:

      (к разъему распределительного блока шины CAN № 1)

      *3 К щитку приборов

      Измерьте сопротивление в соответствии со значениями, приведенными в таблице ниже.

      Номинальное сопротивление
      Подключение диагностического прибора Положение переключателя Заданные условия
      F70-4 (CANH) - F70-15 (CANL) Зажигание выключено 1 МОм или более

    NG
    OK
  5. ПРОВЕРЬТЕ ШИНУ CAN НА КОРОТКОЕ ЗАМЫКАНИЕ (РАЗЪЕМ РАСПРЕДЕЛИТЕЛЬНОГО БЛОКА ШИНЫ CAN № 1 - ДАТЧИК УГЛА ПОВОРОТА РУЛЕВОГО КОЛЕСА)


    1. A019MNQE27
      Обозначения на рисунке
      *1

      Вид спереди разъема со стороны жгута проводов:

      (к датчику угла поворота рулевого колеса)

      Отсоедините разъем датчика угла поворота рулевого колеса.

    2. A019M7SE66
      Обозначения на рисунке
      *2

      Вид спереди разъема со стороны жгута проводов:

      (к разъему распределительного блока шины CAN № 1)

      *3 К датчику угла поворота рулевого колеса

      Измерьте сопротивление в соответствии со значениями, приведенными в таблице ниже.

      Номинальное сопротивление
      Подключение диагностического прибора Положение переключателя Заданные условия
      F70-2 (CANH) - F70-13 (CANL) Зажигание выключено 1 МОм или более

    NG
    OK
  6. ПРОВЕРЬТЕ ШИНУ CAN НА КОРОТКОЕ ЗАМЫКАНИЕ (РАЗЪЕМ РАСПРЕДЕЛИТЕЛЬНОГО БЛОКА ШИНЫ CAN № 1 - ЭБУ РУЛЕВОГО УПРАВЛЕНИЯ С УСИЛИТЕЛЕМ)


    1. A019OZNE09
      Обозначения на рисунке
      *1

      Вид спереди разъема со стороны жгута проводов:

      (к ЭБУ рулевого управления с усилителем)

      Отсоедините разъем ЭБУ рулевого управления с усилителем.

    2. A019M7SE69
      Обозначения на рисунке
      *2

      Вид спереди разъема со стороны жгута проводов:

      (к разъему распределительного блока шины CAN № 1)

      *3 К ЭБУ рулевого управления с усилителем

      Измерьте сопротивление в соответствии со значениями, приведенными в таблице ниже.

      Номинальное сопротивление
      Подключение диагностического прибора Положение переключателя Заданные условия
      F70-1 (CANH) - F70-12 (CANL) Зажигание выключено 1 МОм или более

    NG
    OK
  7. ПРОВЕРЬТЕ ШИНУ CAN НА КОРОТКОЕ ЗАМЫКАНИЕ (РАЗЪЕМ РАСПРЕДЕЛИТЕЛЬНОГО БЛОКА ШИНЫ CAN № 1 - ДАТЧИК РЫСКАНЬЯ)


    1. A019KM6E11
      Обозначения на рисунке
      *1

      Вид спереди разъема со стороны жгута проводов:

      (к датчику рысканья)

      Отсоедините разъем датчика рысканья.

    2. A019M7SE68
      Обозначения на рисунке
      *2

      Вид спереди разъема со стороны жгута проводов:

      (к разъему распределительного блока шины CAN № 1)

      *3 К датчику рысканья

      Измерьте сопротивление в соответствии со значениями, приведенными в таблице ниже.

      Номинальное сопротивление
      Подключение диагностического прибора Положение переключателя Заданные условия
      F70-11 (CANH) - F70-22 (CANL) Зажигание выключено 1 МОм или более

    NG
    OK
  8. ПРОВЕРЬТЕ ШИНУ CAN НА КОРОТКОЕ ЗАМЫКАНИЕ (РАЗЪЕМ РАСПРЕДЕЛИТЕЛЬНОГО БЛОКА № 1 - ЭБУ РАСПРЕДЕЛЕНИЯ ПИТАНИЯ)


    1. A019M6TE26
      Обозначения на рисунке
      *1

      Вид сзади разъема со стороны жгута проводов

      (к ЭБУ распределения питания)

      Отсоедините разъем ЭБУ распределения питания.

    2. A019M7SE67
      Обозначения на рисунке
      *2

      Вид спереди разъема со стороны жгута проводов:

      (к разъему распределительного блока шины CAN № 1)

      *3 к ЭБУ распределения питания

      Измерьте сопротивление в соответствии со значениями, приведенными в таблице ниже.

      Номинальное сопротивление
      Подключение диагностического прибора Положение переключателя Заданные условия
      F70-9 (CANH) - F70-20 (CANL) Зажигание выключено 1 МОм или более

    NG
    OK
  9. ПРОВЕРЬТЕ ШИНУ CAN НА КОРОТКОЕ ЗАМЫКАНИЕ (РАЗЪЕМ РАСПРЕДЕЛИТЕЛЬНОГО БЛОКА ШИНЫ CAN № 1 - ЦЕНТРАЛЬНЫЙ БЛОК УПРАВЛЕНИЯ СИСТЕМЫ SRS)


    1. A019O0VE11
      Обозначения на рисунке
      *1

      Вид спереди разъема со стороны жгута проводов:

      (к центральному блоку управления системы SRS)

      Отсоедините разъем центрального блока управления системы SRS.

    2. A019M7SE70
      Обозначения на рисунке
      *2

      Вид спереди разъема со стороны жгута проводов:

      (к разъему распределительного блока шины CAN № 1)

      *3 К центральному блоку управления системы SRS

      Измерьте сопротивление в соответствии со значениями, приведенными в таблице ниже.

      Номинальное сопротивление
      Подключение диагностического прибора Положение переключателя Заданные условия
      F70-10 (CANH) - F70-21 (CANL) Зажигание выключено 1 МОм или более

    NG
    OK
  10. ПРОВЕРЬТЕ ШИНУ CAN НА КОРОТКОЕ ЗАМЫКАНИЕ (РАЗЪЕМ РАСПРЕДЕЛИТЕЛЬНОГО БЛОКА ШИНЫ CAN № 1 - ГЛАВНЫЙ ЭБУ КУЗОВА)


    1. A019O5VE01
      Обозначения на рисунке
      *1

      Вид спереди разъема со стороны жгута проводов:

      (к главному ЭБУ кузова)

      Отсоедините разъем главного ЭБУ кузова.

    2. A019M7SE71
      Обозначения на рисунке
      *2

      Вид спереди разъема со стороны жгута проводов:

      (к разъему распределительного блока шины CAN № 1)

      *3 К главному ЭБУ кузова

      Измерьте сопротивление в соответствии со значениями, приведенными в таблице ниже.

      Номинальное сопротивление
      Подключение диагностического прибора Положение переключателя Заданные условия
      F70-5 (CANH) - F70-16 (CANL) Зажигание выключено 1 МОм или более

    NG
    OK
  11. ПРОВЕРЬТЕ ШИНЫ CAN НА КОРОТКОЕ ЗАМЫКАНИЕ (РАЗЪЕМ РАСПРЕДЕЛИТЕЛЬНОГО БЛОКА ГЛАВНОЙ ШИНЫ CAN № 1)


    1. Подсоедините разъем распределительного блока шины CAN № 1.

    2. A019KCZE93
      Обозначения на рисунке
      *1 DLC3

      Измерьте сопротивление в соответствии со значениями, приведенными в таблице ниже.

      Номинальное сопротивление
      Подключение диагностического прибора Положение переключателя Заданные условия
      F17-6 (CANH) - F17-14 (CANL) Зажигание выключено 54 - 69 Ом

      Note

      Сопротивление необходимо измерять после подсоединения ЭБУ (ECM и ЭБУ сертификации), соединенных главной шиной, и разъемов распределительного блока шины CAN № 1 и № 2.


    NG
    OK
  12. ПРОВЕРЬТЕ ШИНЫ CAN НА КОРОТКОЕ ЗАМЫКАНИЕ (ЩИТОК ПРИБОРОВ)


    1. Подсоедините разъем щитка приборов.

    2. A019KCZE93
      Обозначения на рисунке
      *1 DLC3

      Измерьте сопротивление в соответствии со значениями, приведенными в таблице ниже.

      Номинальное сопротивление
      Подключение диагностического прибора Положение переключателя Заданные условия
      F17-6 (CANH) - F17-14 (CANL) Зажигание выключено 54 - 69 Ом

    NG
    OK
  13. ПРОВЕРЬТЕ ЛИНИИ ШИНЫ CAN НА КОРОТКОЕ ЗАМЫКАНИЕ (ДАТЧИК УГЛА ПОВОРОТА РУЛЕВОГО КОЛЕСА)


    1. Подсоедините разъем датчика угла поворота рулевого колеса.

    2. A019KCZE93
      Обозначения на рисунке
      *1 DLC3

      Измерьте сопротивление в соответствии со значениями, приведенными в таблице ниже.

      Номинальное сопротивление
      Подключение диагностического прибора Положение переключателя Заданные условия
      F17-6 (CANH) - F17-14 (CANL) Зажигание выключено 54 - 69 Ом

    NG
    OK
  14. ПРОВЕРЬТЕ ЛИНИИ ШИНЫ CAN НА КОРОТКОЕ ЗАМЫКАНИЕ (ЭБУ РУЛЕВОГО УПРАВЛЕНИЯ С УСИЛИТЕЛЕМ)


    1. Подсоедините разъем ЭБУ рулевого управления с усилителем.

    2. A019KCZE93
      Обозначения на рисунке
      *1 DLC3

      Измерьте сопротивление в соответствии со значениями, приведенными в таблице ниже.

      Номинальное сопротивление
      Подключение диагностического прибора Положение переключателя Заданные условия
      F17-6 (CANH) - F17-14 (CANL) Зажигание выключено 54 - 69 Ом

    NG
    OK
  15. ПРОВЕРЬТЕ ЛИНИИ ШИНЫ CAN НА КОРОТКОЕ ЗАМЫКАНИЕ (ДАТЧИК РЫСКАНЬЯ)


    1. Подсоедините разъем датчика рысканья.

    2. A019KCZE93
      Обозначения на рисунке
      *1 DLC3

      Измерьте сопротивление в соответствии со значениями, приведенными в таблице ниже.

      Номинальное сопротивление
      Подключение диагностического прибора Положение переключателя Заданные условия
      F17-6 (CANH) - F17-14 (CANL) Зажигание выключено 54 - 69 Ом

    NG
    OK
  16. ПРОВЕРЬТЕ ШИНЫ CAN НА КОРОТКОЕ ЗАМЫКАНИЕ (ЭБУ РАСПРЕДЕЛЕНИЯ ПИТАНИЯ)


    1. Подсоедините разъем ЭБУ распределения питания.

    2. A019KCZE93
      Обозначения на рисунке
      *1 DLC3

      Измерьте сопротивление в соответствии со значениями, приведенными в таблице ниже.

      Номинальное сопротивление
      Подключение диагностического прибора Положение переключателя Заданные условия
      F17-6 (CANH) - F17-14 (CANL) Зажигание выключено 54 - 69 Ом

    NG
    OK
  17. ПРОВЕРЬТЕ ЛИНИИ ШИНЫ CAN НА КОРОТКОЕ ЗАМЫКАНИЕ (ЦЕНТРАЛЬНЫЙ БЛОК УПРАВЛЕНИЯ СИСТЕМЫ SRS)


    1. Подсоедините разъем центрального блока управления системы SRS.

    2. A019KCZE93
      Обозначения на рисунке
      *1 DLC3

      Измерьте сопротивление в соответствии со значениями, приведенными в таблице ниже.

      Номинальное сопротивление
      Подключение диагностического прибора Положение переключателя Заданные условия
      F17-6 (CANH) - F17-14 (CANL) Зажигание выключено 54 - 69 Ом

    NG
    OK
  18. ПРОВЕРЬТЕ ШИНУ CAN НА КОРОТКОЕ ЗАМЫКАНИЕ (РАЗЪЕМ РАСПРЕДЕЛИТЕЛЬНОГО БЛОКА ШИНЫ CAN № 2 - РАЗЪЕМ РАСПРЕДЕЛИТЕЛЬНОГО БЛОКА ШИНЫ CAN № 1)


    1. Подсоедините разъем распределительного блока шины CAN № 1.

    2. A019M7SE74
      Обозначения на рисунке
      *1

      Вид спереди разъема со стороны жгута проводов:

      (к разъему распределительного блока шины CAN № 2)

      *2 К разъему распределительного блока шины CAN № 1

      Отсоедините разъем распределительного блока шины CAN № 2.

    3. Измерьте сопротивление в соответствии со значениями, приведенными в таблице ниже.

      Номинальное сопротивление
      Подключение диагностического прибора Положение переключателя Заданные условия
      F71-7 (CANH) - F71-18 (CANL) Зажигание выключено 108 - 132 Ом

    NG
    OK
  19. ПРОВЕРЬТЕ ШИНУ CAN НА КОРОТКОЕ ЗАМЫКАНИЕ (РАЗЪЕМ РАСПРЕДЕЛИТЕЛЬНОГО БЛОКА ШИНЫ CAN № 2 - ЭБУ СЕРТИФИКАЦИИ)


    1. A019M7SE72
      Обозначения на рисунке
      *1

      Вид спереди разъема со стороны жгута проводов:

      (к разъему распределительного блока шины CAN № 2)

      *2 К ЭБУ сертификации

      Измерьте сопротивление в соответствии со значениями, приведенными в таблице ниже.

      Номинальное сопротивление
      Подключение диагностического прибора Положение переключателя Заданные условия
      F71-2 (CANH) - F71-13 (CANL) Зажигание выключено 108 - 132 Ом

    NG
    OK
  20. ПРОВЕРЬТЕ ШИНУ CAN НА КОРОТКОЕ ЗАМЫКАНИЕ (РАЗЪЕМ РАСПРЕДЕЛИТЕЛЬНОГО БЛОКА ШИНЫ CAN № 2 - ЭБУ СИСТЕМЫ ПРОТИВОСКОЛЬЖЕНИЯ)


    1. A019MT5E01
      Обозначения на рисунке
      *1

      Вид спереди разъема со стороны жгута проводов:

      (к ЭБУ системы противоскольжения)

      Отсоедините разъем ЭБУ системы противоскольжения.

    2. A019M7SE73
      Обозначения на рисунке
      *2

      Вид спереди разъема со стороны жгута проводов:

      (к разъему распределительного блока шины CAN № 2)

      *3 К ЭБУ системы противоскольжения

      Измерьте сопротивление в соответствии со значениями, приведенными в таблице ниже.

      Номинальное сопротивление
      Подключение диагностического прибора Положение переключателя Заданные условия
      F71-1 (CANH) - F71-12 (CANL) Зажигание выключено 1 МОм или более
      Результат
      Результат Перейти к

      • OK (для моделей с системой навигации)

      • OK (автомобили с аудиовизуальной системой (и с многофункциональным дисплеем))

      А

      • OK (для моделей без системы навигации)

      • OK (автомобили без аудиовизуальной системы (с многофункциональным дисплеем))

      B
      NG C

    B
    C
    А
  21. ПРОВЕРЬТЕ ШИНУ CAN НА КОРОТКОЕ ЗАМЫКАНИЕ (РАЗЪЕМ РАСПРЕДЕЛИТЕЛЬНОГО БЛОКА ШИНЫ CAN № 2 - БЛОК МУЛЬТИМЕДИЙНОГО МОДУЛЯ В СБОРЕ ИЛИ РАДИОПРИЕМНИК)


    1. Для моделей с системой навигации


      1. A019MXHE14
        Обозначения на рисунке
        *1

        Вид спереди разъема со стороны жгута проводов:

        (на приемник мультимедийного модуля в сборе)

        Отсоедините разъем от приемника мультимедийного модуля в сборе.

    2. автомобили с аудиовизуальной системой (и с многофункциональным дисплеем)


      1. A019PE7E03
        Обозначения на рисунке
        *2

        Вид спереди разъема со стороны жгута проводов:

        (к радиоприемнику в сборе)

        Отсоедините разъем радиоприемника.

    3. A019K5NE01
      Обозначения на рисунке
      *3

      Вид спереди разъема со стороны жгута проводов:

      (к разъему распределительного блока шины CAN № 2)

      *4
      • на приемник мультимедийного модуля в сборе

      • к блоку радиоприемника

      Измерьте сопротивление в соответствии со значениями, приведенными в таблице ниже.

      Номинальное сопротивление
      Подключение диагностического прибора Положение переключателя Заданные условия
      F71-8 (CANH) - F71-19 (CANL) Зажигание выключено 1 МОм или более

    NG
    OK
  22. ПРОВЕРЬТЕ ШИНЫ CAN НА КОРОТКОЕ ЗАМЫКАНИЕ (РАЗЪЕМ РАСПРЕДЕЛИТЕЛЬНОГО БЛОКА ШИНЫ CAN № 2)


    1. Подсоедините разъемы распределительного блока шины CAN № 1 и № 2.

    2. A019KCZE93
      Обозначения на рисунке
      *1 DLC3

      Измерьте сопротивление в соответствии со значениями, приведенными в таблице ниже.

      Note

      Сопротивление необходимо измерять после подсоединения ЭБУ (ECM и ЭБУ сертификации), соединенных главной шиной, и разъемов распределительного блока шины CAN № 1 и № 2.

      Номинальное сопротивление
      Подключение диагностического прибора Положение переключателя Заданные условия
      F17-6 (CANH) - F17-14 (CANL) Зажигание выключено 54 - 69 Ом
      Результат
      Результат Перейти к

      • OK (для моделей с системой навигации)

      • OK (автомобили с аудиовизуальной системой (и с многофункциональным дисплеем))

      А

      • OK (для моделей без системы навигации)

      • OK (автомобили без аудиовизуальной системы (с многофункциональным дисплеем))

      B
      NG C

    B
    C
    А
  23. ПРОВЕРЬТЕ ЛИНИИ ШИНЫ CAN НА КОРОТКОЕ ЗАМЫКАНИЕ (ЭБУ СИСТЕМЫ ПРОТИВОСКОЛЬЖЕНИЯ)


    1. Подсоедините разъем ЭБУ системы противоскольжения.

    2. A019KCZE93
      Обозначения на рисунке
      *1 DLC3

      Измерьте сопротивление в соответствии со значениями, приведенными в таблице ниже.

      Номинальное сопротивление
      Подключение диагностического прибора Положение переключателя Заданные условия
      F17-6 (CANH) - F17-14 (CANL) Зажигание выключено 54 - 69 Ом
      Результат
      Результат Перейти к
      OK (для моделей с системой навигации) А
      OK (автомобили с аудиовизуальной системой (и с многофункциональным дисплеем)) B
      NG C

    B
    C
    А
  24. ПРОВЕРЬТЕ ШИНУ CAN НА КОРОТКОЕ ЗАМЫКАНИЕ (ECM)


    1. A019OJ1E52
      Обозначения на рисунке
      *A Для моделей с 2GR-FE
      *B Для моделей с 1AR-FE
      *1

      Вид спереди разъема со стороны жгута проводов:

      (к ECM)

      Отсоедините разъем ECM.

    2. A019OMLE03
      *2

      Вид спереди разъема со стороны жгута проводов:

      (к разъему распределительного блока шины CAN № 1)

      *3 К ECM

      Отсоедините разъем распределительного блока шины CAN № 1.

    3. Измерьте сопротивление в соответствии со значениями, приведенными в таблице ниже.

      Номинальное сопротивление
      Подключение диагностического прибора Положение переключателя Заданные условия
      F70-6 (CANH) - F70-17 (CANL) Зажигание выключено 1 МОм или более
      Результат
      Результат Перейти к
      OK (для моделей с 2GR-FE) А
      OK (для моделей с 1AR-FE) B
      NG C

    B
    C
    А
  25. ПРОВЕРЬТЕ ШИНЫ CAN НА КОРОТКОЕ ЗАМЫКАНИЕ (ЭБУ СЕРТИФИКАЦИИ)


    1. A019N51E06
      Обозначения на рисунке
      *1

      Вид спереди разъема со стороны жгута проводов:

      (к ЭБУ сертификации)

      Отсоедините разъем ЭБУ сертификации.

    2. A019M7SE72
      Обозначения на рисунке
      *1

      Вид спереди разъема со стороны жгута проводов:

      (к разъему распределительного блока шины CAN № 2)

      *2 К ЭБУ сертификации

      Измерьте сопротивление в соответствии со значениями, приведенными в таблице ниже.

      Номинальное сопротивление
      Подключение диагностического прибора Положение переключателя Заданные условия
      F71-2 (CANH) - F71-13 (CANL) Зажигание выключено 1 МОм или более

    NG
    OK