ОПИСАНИЕ
В главной шине CAN и/или вспомогательной шине DLC3 может быть обрыв, если сопротивление между контактами 6 (CANH) и 14 (CANL) разъема DLC3 составляет не менее 70 Ом.
| Признак | Неисправный участок |
|---|---|
| Сопротивление между контактами 6 (CANH) и 14 (CANL) разъема DLC3 составляет не менее 70 Ом. |
|
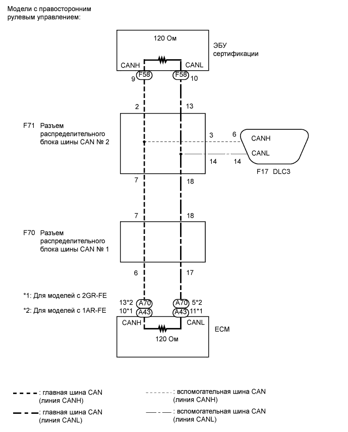
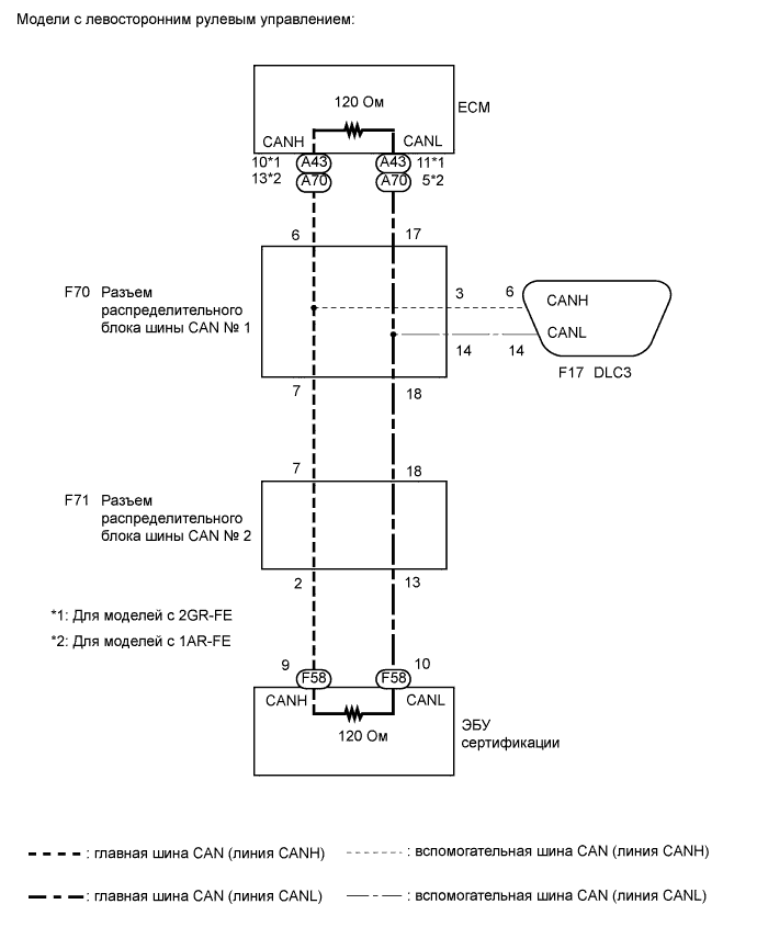
СХЕМА СОЕДИНЕНИЙ
ПОСЛЕДОВАТЕЛЬНОСТЬ ПРОВЕРКИ
Note
Выключите зажигание перед измерением сопротивления между главными и вспомогательными шинами CAN.
Выключите зажигание перед проверкой короткого замыкания шины CAN на массу.
После выключения зажигания убедитесь, что система оповещения о ключе, оставленном в замке зажигания, и система оповещения о невыключенном освещении не активированы.
Перед измерением сопротивления оставьте автомобиль на 1 минуту "как он есть", не трогая выключатель зажигания, другие переключатели и двери. Если необходимо открыть какую-либо дверь для проверки разъемов, откройте двери и не закрывайте их.
Tech Tips
Управление выключателем зажигания, какими-либо выключателями или дверями приводит к обмену данными между ЭБУ и датчиками по шине CAN. При осуществлении обмена данными сопротивление изменяется.
Если DTC регистрируется при непродолжительном движении на автомобиле даже после удаления кодов DTC, неисправность может возникать вследствие вибрации автомобиля. В подобных случаях необходимо пошевелить разъемы ЭБУ или жгутов проводов во время проверки, чтобы установить причину неисправности.
ПОРЯДОК ВЫПОЛНЕНИЯ
ПРОВЕРЬТЕ ШИНУ CAN НА ОБРЫВ (ВСПОМОГАТЕЛЬНАЯ ШИНА DLC3)
Выключите зажигание.
| *1 | DLC3 |
Измерьте сопротивление в соответствии со значениями, приведенными в таблице ниже.
| Номинальное сопротивление | ||||||
|---|---|---|---|---|---|---|
|
Note
Если измеренное значение сопротивления составляет 133 Ом или более и выводится диагностический код неисправности DTC для системы передачи данных CAN, может иметь место иная неисправность, отличная от отсоединения разъема DLC3 вспомогательной шины. В связи с этим, после ремонта неисправного участка необходимо выполнить поиск неисправности еще раз, следуя указаниям, приведенным в разделе "Процедура поиска неисправностей" (см. стр. Click here).
| NG |
|
ОТРЕМОНТИРУЙТЕ ИЛИ ЗАМЕНИТЕ ВСПОМОГАТЕЛЬНУЮ ШИНУ CAN, ПОДСОЕДИНЕННУЮ К DLC3 |
| OK |
|
ПРОВЕРЬТЕ ШИНУ CAN НА ОБРЫВ (ECM)
| *A | Для моделей с 2GR-FE |
| *B | Для моделей с 1AR-FE |
| *1 | Вид спереди разъема со стороны жгута проводов: (к ECM) |
Отсоедините разъем ЭБУ.
Измерьте сопротивление в соответствии со значениями, приведенными в таблице ниже.
| Номинальное сопротивление (для моделей с 2GR-FE) | ||||||
|---|---|---|---|---|---|---|
|
| Номинальное сопротивление (для моделей с 1AR-FE) | ||||||
|---|---|---|---|---|---|---|
|
| Результат | ||||||||
|---|---|---|---|---|---|---|---|---|
|
| B |
|
ЗАМЕНИТЕ ECM Click here |
| C |
|
ПРОВЕРЬТЕ ШИНУ CAN НА ОБРЫВ (ЭБУ СЕРТИФИКАЦИИ) Click here |
| А |
|
ЗАМЕНИТЕ ECM Click here
ПРОВЕРЬТЕ ШИНУ CAN НА ОБРЫВ (ЭБУ СЕРТИФИКАЦИИ)
Подсоедините разъем ECM.
| *1 | Вид спереди разъема со стороны жгута проводов: (к ЭБУ сертификации) |
Отсоедините разъем ЭБУ сертификации.
Измерьте сопротивление в соответствии со значениями, приведенными в таблице ниже.
| Номинальное сопротивление | ||||||
|---|---|---|---|---|---|---|
|
| NG |
|
ПРОВЕРЬТЕ ШИНУ CAN НА ОБРЫВ (РАЗЪЕМ РАСПРЕДЕЛИТЕЛЬНОГО БЛОКА ШИНЫ CAN № 1) Click here |
| OK |
|
ЗАМЕНИТЕ ЭБУ СЕРТИФИКАЦИИ
ПРОВЕРЬТЕ ШИНУ CAN НА ОБРЫВ (РАЗЪЕМ РАСПРЕДЕЛИТЕЛЬНОГО БЛОКА ШИНЫ CAN № 1)
| *1 | Вид спереди разъема со стороны жгута проводов: (к разъему распределительного блока шины CAN № 1) |
| *2 | к ECM |
Отсоедините разъем распределительного блока шины CAN № 1.
Измерьте сопротивление в соответствии со значениями, приведенными в таблице ниже.
| Номинальное сопротивление | ||||||
|---|---|---|---|---|---|---|
|
| NG |
|
ОТРЕМОНТИРУЙТЕ ИЛИ ЗАМЕНИТЕ ГЛАВНУЮ ШИНУ CAN ИЛИ РАЗЪЕМ (РАЗЪЕМ РАСПРЕДЕЛИТЕЛЬНОГО БЛОКА ШИНЫ CAN № 1 - ECM) |
| OK |
|
ПРОВЕРЬТЕ ШИНУ CAN НА ОБРЫВ (РАЗЪЕМ РАСПРЕДЕЛИТЕЛЬНОГО БЛОКА ШИНЫ CAN № 1 - РАЗЪЕМ РАСПРЕДЕЛИТЕЛЬНОГО БЛОКА ШИНЫ CAN № 2)
Снова подсоедините разъем ЭБУ сертификации.
| *1 | Вид спереди разъема со стороны жгута проводов: (к разъему распределительного блока шины CAN № 1) |
| *2 | к разъему распределительного блока шины CAN № 2 |
Измерьте сопротивление в соответствии со значениями, приведенными в таблице ниже.
| Номинальное сопротивление | ||||||
|---|---|---|---|---|---|---|
|
| NG |
|
ПРОВЕРЬТЕ ШИНУ CAN НА ОБРЫВ (РАЗЪЕМ РАСПРЕДЕЛИТЕЛЬНОГО БЛОКА ШИНЫ CAN № 2) Click here |
| OK |
|
ЗАМЕНИТЕ РАЗЪЕМ РАСПРЕДЕЛИТЕЛЬНОГО БЛОКА ШИНЫ CAN № 1
ПРОВЕРЬТЕ ШИНУ CAN НА ОБРЫВ (РАЗЪЕМ РАСПРЕДЕЛИТЕЛЬНОГО БЛОКА ШИНЫ CAN № 2)
Подсоедините разъем распределительного блока шины CAN № 1.
| *1 | Вид спереди разъема со стороны жгута проводов: (к разъему распределительного блока шины CAN № 2) |
| *2 | К ЭБУ сертификации |
| *3 | к разъему распределительного блока шины CAN № 1 |
Отсоедините разъем распределительного блока шины CAN № 2.
Измерьте сопротивление в соответствии со значениями, приведенными в таблице ниже.
| Номинальное сопротивление | ||||||||||||
|---|---|---|---|---|---|---|---|---|---|---|---|---|
|
| Результат | ||||||||
|---|---|---|---|---|---|---|---|---|
|
| B |
|
ОТРЕМОНТИРУЙТЕ ИЛИ ЗАМЕНИТЕ ГЛАВНУЮ ШИНУ CAN ИЛИ РАЗЪЕМ (РАЗЪЕМ РАСПРЕДЕЛИТЕЛЬНОГО БЛОКА ШИНЫ CAN № 2 - ЭБУ СЕРТИФИКАЦИИ) |
| C |
|
ОТРЕМОНТИРУЙТЕ ИЛИ ЗАМЕНИТЕ ПРОВОД ИЛИ РАЗЪЕМ ГЛАВНОЙ ШИНЫ CAN (РАЗЪЕМ РАСПРЕДЕЛИТЕЛЬНОГО БЛОКА ШИНЫ CAN № 1 – РАЗЪЕМ РАСПРЕДЕЛИТЕЛЬНОГО БЛОКА ШИНЫ CAN № 2) |
| А |
|
ЗАМЕНИТЕ РАЗЪЕМ РАСПРЕДЕЛИТЕЛЬНОГО БЛОКА ШИНЫ CAN № 2