СИСТЕМА АВТОМАТИЧЕСКОЙ ТРАНСМИССИИ, Diagnostic DTC:P0500

Код DTC Наименование DTC
P0500 Неисправность датчика скорости автомобиля "A"

ОПИСАНИЕ

Датчик частоты вращения определяет частоту вращения колеса и передают соответствующие сигналы в ЭБУ системы противоскольжения. ЭБУ системы противоскольжения преобразует принимаемые сигналы частоты вращения колеса в 4-импульсный сигнал и передает последний через щиток приборов в TCM. TCM определяет скорость автомобиля по частоте таких импульсных сигналов.

A019KHEE41
№ DTC

Условие обнаружения DTC


  1. Условие диагностики

  2. Состояние неисправности

  3. Момент регистрации неисправности

  4. Прочее

Неисправный участок
P0500
  1. Датчик ECT исправен, и частота вращения задающей шестерни не менее 300 об/мин.

  2. Сигнал скорости автомобиля не поступает

  3. 2 с

  4. Логика диагностирования за 1 поездку


  • Обрыв или короткое замыкание в цепи сигнала скорости автомобиля

  • Щиток приборов

  • Датчик скорости автомобиля (система управления тормозами)

  • ЭБУ системы противоскольжения (система управления тормозами)

  • TCM

ОПИСАНИЕ РАБОТЫ СИСТЕМЫ КОНТРОЛЯ

TCM считает, что автомобиль движется, когда задающая шестерня трансмиссии вращается с частотой более 300 об/мин, и истекло свыше 30 секунд с момента выключения датчика положения паркинга/нейтрали. Если при выполнении этих условий отсутствует сигнал скорости автомобиля, TCM регистрирует сбой сигнала скорости автомобиля. В этом случае TCM включает контрольную лампу MIL, и устанавливается DTC.

СХЕМА СОЕДИНЕНИЙ

См. стр. Click here

Когда выводится код DTC P0500, предположительно, существует короткое замыкание на массу в цепи контакта SPD, либо внутреннее короткое замыкание на массу в соответствующем ЭБУ.

ПОСЛЕДОВАТЕЛЬНОСТЬ ПРОВЕРКИ

ПОРЯДОК ВЫПОЛНЕНИЯ


  1. СНИМИТЕ ПОКАЗАНИЯ ПОРТАТИВНОГО ДИАГНОСТИЧЕСКОГО ПРИБОРА (VEHICLE SPEED)


    1. Совершите поездку на автомобиле и убедитесь, что спидометр на щитке приборов в сборе работает нормально.

      Tech Tips


      • Датчик скорости автомобиля работает исправно, если показания спидометра в норме.

      • Если спидометр неисправен, проверьте его в порядке, описанном для неисправности спидометра.

    2. Подсоедините портативный диагностический прибор к DLC3.

    3. Включите зажигание (IG).

    4. Включите портативный диагностический прибор.

    5. Войдите в следующие меню: Powertrain / ECT / Data List / Vehicle Speed.

      Информация на дисплее прибора Измеряемая величина / диапазон измерения Нормальное состояние Замечание по диагностике
      Vehicle Speed

      Скорость движения автомобиля /

      Мин.: 0 км/час (0 миль в час)

      Макс.: 255 км/час (158 миль в час)

      Действительная скорость автомобиля -
    6. Совершите поездку на автомобиле.

    7. Считайте значение, отображенное на портативном диагностическом приборе.

      OK
      Значения скорости автомобиля, указанные на дисплее портативного диагностического прибора и щитке приборов, равны.

    NG
    OK
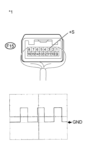
  2. ПРОВЕРЬТЕ ЩИТОК ПРИБОРОВ (ФОРМА СИГНАЛА SPD)


    1. A019NA0E40
      Обозначения на рисунке
      *1

      Устройство с подсоединенным жгутом проводов

      (щиток приборов в сборе)

      Проверьте щиток приборов с сборе с помощью осциллографа.


      1. Установите рычаг переключения передач в положение N.

      2. Поддомкратьте автомобиль.

      3. Включите зажигание (IG).

      4. Измерьте напряжение между контактом щитка приборов и массой, медленно поворачивая колесо.

        Номинальное напряжение
        Контакты для подключения диагностического прибора Положение выключателя Заданные условия
        F15-3 (+S) - масса Зажигание включено (IG) Напряжение прерывисто генерируется

        Tech Tips

        При медленном вращении колеса выходное напряжение должно переключаться, как показано на графике.


    NG
    OK
  3. ПРОВЕРЬТЕ ЖГУТ ПРОВОДОВ И РАЗЪЕМ (ЩИТОК ПРИБОРОВ В СБОРЕ – TCM)


    1. A019L7KE03
      Обозначения на рисунке
      *1

      Вид спереди разъема со стороны жгута проводов:

      (к щитку приборов в сборе)

      *2

      Вид спереди разъема со стороны жгута проводов:

      (к TCM)

      Отсоедините разъем щитка приборов.

    2. Отсоедините разъем TCM.

    3. Измерьте сопротивление в соответствии со значениями, приведенными в таблице ниже.

      Номинальное сопротивление (при проверке на обрыв)
      Подключение диагностического прибора Условие Заданные условия
      F15-3 (+S) - D2-3 (SPD) Всегда Менее 1 Ом
    4. Подсоедините разъем щитка приборов.

    5. Вновь подсоедините разъем TCM.


    NG
    OK