ADAPTIVE VARIABLE SUSPENSION SYSTEM, Diagnostic DTC:C1715, C1716, C1717, C1796, C1797, C1798

DTC Code DTC Name
C1715 Front Acceleration Sensor RH Malfunction
C1716 Front Acceleration Sensor LH Malfunction
C1717 Rear Acceleration Sensor Malfunction
C1796 Front Acceleration Sensor RH Malfunction (Test Mode DTC)
C1797 Front Acceleration Sensor LH Malfunction (Test Mode DTC)
C1798 Rear Acceleration Sensor Malfunction (Test Mode DTC)

DESCRIPTION

The acceleration sensor (up and down G sensor) detects the upward and downward acceleration of the vehicle and outputs it as a voltage to the absorber control ECU. Up and down G sensors are installed in 3 locations: 1) the absorber control ECU, 2) the driver side instrument panel, and 3) behind the inner luggage compartment trim cover RH. Each up and down G sensor independently detects the upward and downward acceleration of the vehicle. During a test mode inspection, the absorber control ECU reads the fluctuations in each sensor signal. If a sensor signal does not fluctuate, test mode DTCs C1796, C1797 and C1798 remain stored.

DTC Code Detection Condition Trouble Area
C1715

Either condition is met:


  • With the engine switch on (IG), a voltage of 5.5 V or higher, or 4.3 V or less at the power source of the front acceleration sensor RH is detected for 0.5 seconds.

  • With the engine switch on (IG), a voltage of 4.7 V or higher, or 0.3 V or less at the front acceleration sensor RH voltage input is detected for 1 second.

Absorber control ECU (houses front acceleration sensor RH)
C1796

The vehicle is stationary on a level surface and an acceleration sensor value that is within -1.96 to 1.96 m/s2is not received from the front acceleration sensor RH for 1 second or more.

C1716

Either condition is met:


  • With the engine switch on (IG), a voltage of 5.5 V or higher, or 4.3 V or less at the power source of the front acceleration sensor LH is detected for 0.5 seconds.

  • With the engine switch on (IG), a voltage of 4.7 V or higher, or 0.3 V or less at the front acceleration sensor LH voltage input is detected for 1 second.


  • Harness or connector

  • Front acceleration sensor LH

  • Absorber control ECU

C1797

The vehicle is stationary on a level surface and an acceleration sensor value that is within -1.96 to 1.96 m/s2is not received from the front acceleration sensor LH for 1 second or more.

C1717

Either condition is met:


  • With the engine switch on (IG), a voltage of 5.5 V or higher, or 4.3 V or less at the power source of the rear acceleration sensor is detected for 0.5 seconds.

  • With the engine switch on (IG), a voltage of 4.7 V or higher, or 0.3 V or less at the rear acceleration sensor voltage input is detected for 1 second.


  • Harness or connector

  • Rear acceleration sensor

  • Absorber control ECU

C1798

The vehicle is stationary on a level surface and an acceleration sensor value that is within -1.96 to 1.96 m/s2is not received from the rear acceleration sensor for 1 second or more.

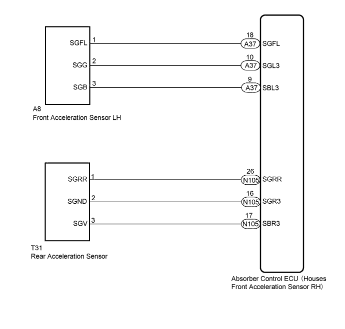
WIRING DIAGRAM

A01FH8LE01

INSPECTION PROCEDURE

Note


  • Before performing troubleshooting, inspect the connectors of related circuits.

  • If DTC C1782 (Power Source Voltage Malfunction) is output at the same time, perform troubleshooting for C1782 first Click here.

  • Before replacing the absorber control ECU, perform all of the following again: 1) symptom simulation Click here; 2) DTC inspection Click here; and 3) GTS inspection (ECU Data List or Active Test Click here. If no malfunctions are found in other areas, replace the absorber control ECU.

  • When the absorber control ECU is replaced, switch to test mode and check that all test mode DTCs are cleared when their respective deletion conditions are met Click here.

PROCEDURE


  1. READ VALUE USING GTS ((UP & DOWN) G SENSOR)


    1. Turn the engine switch off.

    2. Connect the GTS to the DLC3.

    3. Turn the engine switch on (IG).

    4. Turn the GTS on.

    5. Enter the following menus: Chassis / Air suspension / Data List.

      Air Suspension
      Tester Display Measurement Item/Range Normal Condition Diagnostic Note
      (Up&Down)G Sensor FR

      Front acceleration sensor RH (up and down)/

      Min.: -1045.29 m/s2

      Max.: 1045.26 m/s2

      -0.98 to 0.98 m/s2when stationary

      The value changes when the vehicle (front RH) is bounced.
      (Up&Down)G Sensor FL

      Front acceleration sensor LH (up and down)/

      Min.: -1045.29 m/s2

      Max.: 1045.26 m/s2

      -0.98 to 0.98 m/s2when stationary

      The value changes when the vehicle (front LH) is bounced.
      (Up&Down)G Sensor Rear

      Rear acceleration sensor (up and down)/

      Min.: -1045.29 m/s2

      Max.: 1045.26 m/s2

      -0.98 to 0.98 m/s2when stationary

      The value changes when the vehicle (rear) is bounced.
      OK
      Acceleration value changes.
      Result
      Result Proceed to
      OK A
      NG (front RH) B
      NG (front LH or rear) C

    B
    C
    A
  2. RECONFIRM DTC


    1. Clear the DTCs Click here.

    2. Turn the engine switch off.

    3. Check for DTCs Click here.

      Result
      Result Proceed to
      DTC is output (front LH or rear) A
      DTC is output (front RH) B
      DTC is not output C

    B
    C
    A
  3. INSPECT ACCELERATION SENSOR (FRONT LH OR REAR)


    1. Turn the engine switch off.

    2. Remove the front acceleration sensor LH Click here or rear acceleration sensor Click here.

      Note

      Do not drop the acceleration sensor. If it is dropped, replace it with a new one.

    3. Inspect the front acceleration sensor LH Click here or rear acceleration sensor Click here.

      Result
      Result Proceed to
      OK A
      Front acceleration sensor LH malfunction B
      Rear acceleration sensor malfunction C

    B
    C
    A
  4. CHECK HARNESS AND CONNECTOR (ACCELERATION SENSOR - ABSORBER CONTROL ECU)


    1. Check the front acceleration sensor LH harness and connector (when DTC C1716 or C1797 is output).


      1. Disconnect the A37 absorber control ECU connector.

      2. Disconnect the A8 acceleration sensor connector.

      3. Measure the resistance according to the value(s) in the table below.

        Standard Resistance
        Tester Connection Condition Specified Condition
        A8-1 (SGFL) - A37-18 (SGFL) Always Below 1 Ω
        A8-2 (SGG) - A37-10 (SGL3) Always Below 1 Ω
        A8-3 (SGB) - A37-9 (SBL3) Always Below 1 Ω
        A8-1 (SGFL) - Body ground Always 10 kΩ or higher
        A8-2 (SGG) - Body ground Always 10 kΩ or higher
        A8-3 (SGB) - Body ground Always 10 kΩ or higher
    2. Check the rear acceleration sensor harness and connector (when DTC C1717 or C1798 is output).


      1. Disconnect the N105 absorber control ECU connector.

      2. Disconnect the T31 acceleration sensor connector.

      3. Measure the resistance according to the value(s) in the table below.

        Standard Resistance
        Tester Connection Condition Specified Condition
        T31-1 (SGRR) - N105-26 (SGRR) Always Below 1 Ω
        T31-2 (SGND) - N105-16 (SGR3) Always Below 1 Ω
        T31-3 (SGV) - N105-17 (SBR3) Always Below 1 Ω
        T31-1 (SGRR) - Body ground Always 10 kΩ or higher
        T31-2 (SGND) - Body ground Always 10 kΩ or higher
        T31-3 (SGV) - Body ground Always 10 kΩ or higher

    NG
    OK