FRONT POWER SEAT CONTROL SYSTEM (w/ Memory) Power Seat Position is not Memorized

DESCRIPTION

The main body ECU (multiplex network body ECU) receives seat memory switch signals from the outer mirror control ECU assembly via CAN communication. If the seat memory SET switch is being pressed when one of the M1, M2 or M3 switches is pressed, or if one of the M1, M2 or M3 switches is pressed within 3 seconds of pressing the seat memory SET switch, the main body ECU (multiplex network body ECU) sends a memory request signal to the front power seat switch LH or front power seat switch RH. After receiving the request signal, the front power seat switch LH or front power seat switch RH memorizes the location data of each motor.

WIRING DIAGRAM


  1. for Driver

    A01G8EPE03
  2. for Front Passenger

    A01G8EPE02

INSPECTION PROCEDURE

Note


  • The seat position will not be recorded if the SET switch and 2 or more of the seat memory switches (for example, M1 switch and M2 switch) are pressed simultaneously.

  • If a memorizing operation has failed, release all switches. The seat memory function does not operate unless the switches are released.

  • The front power seat control system (w/ Memory) uses the CAN communication system. First, confirm that there are no malfunctions in the communication system by checking the communication function of the CAN communication system. Refer to the How to Proceed with Troubleshooting procedure Click here.

  • If the main body ECU (multiplex network body ECU) is replaced, refer to Service Bulletin.

PROCEDURE


  1. CHECK FRONT POWER SEAT OPERATION


    1. Check that each function of the power seat operates normally by using the front power seat switch LH or front power seat switch RH Click here.

      OK
      Each function of the power seat operates normally using the front power seat switch LH or front power seat switch RH.
      Result
      Result Proceed to
      OK (for Driver) A
      OK (for Front Passenger) B
      NG C

    B
    C
    A
  2. READ VALUE USING GTS (SEAT MEMORY SWITCH)


    1. Connect the GTS to the DLC3.

    2. Turn the engine switch on (IG).

    3. Turn the GTS on.

    4. Enter the following menus: Body Electrical / Mirror L / Data List

    5. Read the Data List according to the display on the GTS.

      Mirror L
      Tester Display Measurement Item/Range Normal Condition Diagnostic Note
      Seat Memory Switch1 M1 switch / ON or OFF

      ON: M1 switch on

      OFF: M1 switch off

      -
      Seat Memory Switch2 M2 switch / ON or OFF

      ON: M2 switch on

      OFF: M2 switch off

      -
      Seat Memory Switch3 M3 switch / ON or OFF

      ON: M3 switch on

      OFF: M3 switch off

      -
      Seat Memory Set SW SET switch / ON or OFF

      ON: SET switch on

      OFF: SET switch off

      -
      OK
      ON or OFF is displayed on the GTS according to the table above.

    NG
    OK
  3. PERFORM ACTIVE TEST USING GTS (BUZZER)


    1. Connect the GTS to the DLC3.

    2. Turn the engine switch on (IG).

    3. Turn the GTS on.

    4. Enter the following menus: Body Electrical / Driver Seat / Data List.

    5. Read the Data List according to the display on the GTS.

      Driver Seat
      Tester Display Test Part Control Range Diagnostic Note
      Buzzer Buzzer operation OFF/ON -
      OK
      Buzzer sounds normally.

    NG
    OK
  4. REPLACE OUTER MIRROR CONTROL ECU ASSEMBLY (FOR DRIVER)


    1. Replace the outer mirror control ECU assembly (for driver) Click here.


    NEXT
  5. CHECK SEAT POSITION MEMORY FUNCTION


    1. Store a seat position in memory and check that the buzzer sounds to indicate that a position has been stored Click here.

      Note


      • The seat position will not be recorded if the SET switch and 2 or more of the seat memory switches (for example, M1 switch and M2 switch) are pressed simultaneously.

      • If a memorizing operation has failed, release all switches. The seat memory function does not operate unless the switches are released.

      OK
      Seat position memory function operates normally.

    NG
    OK
  6. REPLACE FRONT POWER SEAT SWITCH LH


    1. Replace the front power seat switch LH Click here.


    NEXT
  7. CHECK SEAT POSITION MEMORY FUNCTION


    1. Store a seat position in memory and check that the buzzer sounds to indicate that a position has been stored Click here.

      Note


      • The seat position will not be recorded if the SET switch and 2 or more of the seat memory switches (for example, M1 switch and M2 switch) are pressed simultaneously.

      • If a memorizing operation has failed, release all switches. The seat memory function does not operate unless the switches are released.

      OK
      Seat position memory function operates normally.

    NG
    OK
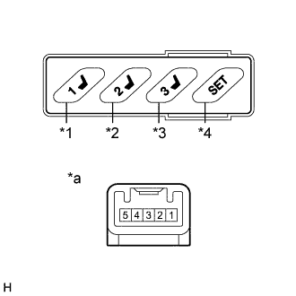
  8. INSPECT SEAT MEMORY SWITCH (FOR DRIVER)


    1. A01G8VKE01
      Text in Illustration
      *1 M1 Switch
      *2 M2 Switch
      *3 M3 Switch
      *4 SET Switch
      *a

      Component without harness connected

      (Seat Memory Switch (for Driver))

      Remove the seat memory switch (for driver) Click here.

    2. Measure the resistance according to the value(s) in the table below.

      Standard Resistance
      Tester Connection Condition Specified Condition
      1 - 5 M1 switch is pressed Below 1 Ω
      M1 switch is not pressed 10 kΩ or higher
      2 - 5 M2 switch is pressed Below 1 Ω
      M2 switch is not pressed 10 kΩ or higher
      3 - 5 M3 switch is pressed Below 1 Ω
      M3 switch is not pressed 10 kΩ or higher
      4 - 5 SET switch is pressed Below 1 Ω
      SET switch is not pressed 10 kΩ or higher

    NG
    OK
  9. CHECK HARNESS AND CONNECTOR (OUTER MIRROR CONTROL ECU ASSEMBLY (FOR DRIVER) - SEAT MEMORY SWITCH (FOR DRIVER) - BODY GROUND)


    1. Disconnect the M9 outer mirror control ECU assembly (for driver) connector.

    2. Measure the resistance according to the value(s) in the table below.

      Standard Resistance
      Tester Connection Condition Specified Condition
      M9-2 (M1) - M10-1 (1) Always Below 1 Ω
      M9-3 (M2) - M10-2 (2) Always Below 1 Ω
      M9-4 (MMRY) - M10-3 (3) Always Below 1 Ω
      M9-1 (MM) - M10-4 (MMRY) Always Below 1 Ω
      M9-7 (GND) - Body ground Always Below 1 Ω
      M10-5 (E) - Body ground Always Below 1 Ω
      M9-2 (M1) - Body ground Always 10 kΩ or higher
      M9-3 (M2) - Body ground Always 10 kΩ or higher
      M9-4 (MMRY) - Body ground Always 10 kΩ or higher
      M9-1 (MM) - Body ground Always 10 kΩ or higher

    NG
    OK
  10. READ VALUE USING GTS (SEAT MEMORY SWITCH)


    1. Connect the GTS to the DLC3.

    2. Turn the engine switch on (IG).

    3. Turn the GTS on.

    4. Enter the following menus: Body Electrical / Mirror R / Data List

    5. Read the Data List according to the display on the GTS.

      Mirror R
      Tester Display Measurement Item/Range Normal Condition Diagnostic Note
      Seat Memory Switch1 M1 switch / ON or OFF

      ON: M1 switch on

      OFF: M1 switch off

      -
      Seat Memory Switch2 M2 switch / ON or OFF

      ON: M2 switch on

      OFF: M2 switch off

      -
      Seat Memory Switch3 M3 switch / ON or OFF

      ON: M3 switch on

      OFF: M3 switch off

      -
      Seat Memory Set SW SET switch / ON or OFF

      ON: SET switch on

      OFF: SET switch off

      -
      OK
      ON or OFF is displayed on the GTS according to the table above.

    NG
    OK
  11. PERFORM ACTIVE TEST USING GTS (BUZZER)


    1. Connect the GTS to the DLC3.

    2. Turn the engine switch on (IG).

    3. Turn the GTS on.

    4. Enter the following menus: Body Electrical / Passenger Seat / Data List.

    5. Read the Data List according to the display on the GTS.

      Passenger Seat
      Tester Display Test Part Control Range Diagnostic Note
      Buzzer Buzzer operation OFF/ON -
      OK
      Buzzer sounds normally.

    NG
    OK
  12. REPLACE OUTER MIRROR CONTROL ECU ASSEMBLY (FOR FRONT PASSENGER)


    1. Replace the outer mirror control ECU assembly (for front passenger) Click here.


    NEXT
  13. CHECK SEAT POSITION MEMORY FUNCTION


    1. Store a seat position in memory and check that the buzzer sounds to indicate that a position has been stored Click here.

      Note


      • The seat position will not be recorded if the SET switch and 2 or more of the seat memory switches (for example, M1 switch and M2 switch) are pressed simultaneously.

      • If a memorizing operation has failed, release all switches. The seat memory function does not operate unless the switches are released.

      OK
      Seat position memory function operates normally.

    NG
    OK
  14. REPLACE FRONT POWER SEAT SWITCH RH


    1. Replace the front power seat switch RH Click here.


    NEXT
  15. CHECK SEAT POSITION MEMORY FUNCTION


    1. Store a seat position in memory and check that the buzzer sounds to indicate that a position has been stored Click here.

      Note


      • The seat position will not be recorded if the SET switch and 2 or more of the seat memory switches (for example, M1 switch and M2 switch) are pressed simultaneously.

      • If a memorizing operation has failed, release all switches. The seat memory function does not operate unless the switches are released.

      OK
      Seat position memory function operates normally.

    NG
    OK
  16. INSPECT SEAT MEMORY SWITCH (FOR FRONT PASSENGER)


    1. A01G7MPE01
      Text in Illustration
      *1 M1 Switch
      *2 M2 Switch
      *3 M3 Switch
      *4 SET Switch
      *a

      Component without harness connected

      (Seat Memory Switch (for Front Passenger))

      Remove the seat memory switch (for front passenger) Click here.

    2. Measure the resistance according to the value(s) in the table below.

      Standard Resistance
      Tester Connection Condition Specified Condition
      1 - 5 M1 switch is pressed Below 1 Ω
      M1 switch is not pressed 10 kΩ or higher
      2 - 5 M2 switch is pressed Below 1 Ω
      M2 switch is not pressed 10 kΩ or higher
      3 - 5 M3 switch is pressed Below 1 Ω
      M3 switch is not pressed 10 kΩ or higher
      4 - 5 SET switch is pressed Below 1 Ω
      SET switch is not pressed 10 kΩ or higher

    NG
    OK
  17. CHECK HARNESS AND CONNECTOR (OUTER MIRROR CONTROL ECU ASSEMBLY (FOR FRONT PASSENGER) - SEAT MEMORY SWITCH (FOR FRONT PASSENGER) - BODY GROUND)


    1. Disconnect the L10 outer mirror control ECU assembly (for front passenger) connector.

    2. Measure the resistance according to the value(s) in the table below.

      Standard Resistance
      Tester Connection Condition Specified Condition
      L10-2 (M1) - L11-1 (M1) Always Below 1 Ω
      L10-3 (M2) - L11-2 (M2) Always Below 1 Ω
      L10-4 (M3) - L11-3 (M3) Always Below 1 Ω
      L10-1 (MM) - L11-4 (MRY) Always Below 1 Ω
      L10-7 (GND) - Body ground Always Below 1 Ω
      L11-5 (E) - Body ground Always Below 1 Ω
      L10-2 (M1) - Body ground Always 10 kΩ or higher
      L10-3 (M2) - Body ground Always 10 kΩ or higher
      L10-4 (M3) - Body ground Always 10 kΩ or higher
      L10-1 (MM) - Body ground Always 10 kΩ or higher

    NG
    OK