СИСТЕМА НАВИГАЦИИ Ошибка воспроизведения/опознавания в аудиосистеме с модулем USB

ОПИСАНИЕ

При подключении USB-устройства или устройства "iPod" к разъему USB переходника стереогнезда № 1 в сборе на устройстве должны находиться воспроизводимые файлы. Кроме того, устройство должно поддерживать обмен данными и должно опознаваться радиоприемником. Эта диагностическая процедура относится к случаю, когда устройство не опознается, либо файлы с устройства не воспроизводятся должным образом.

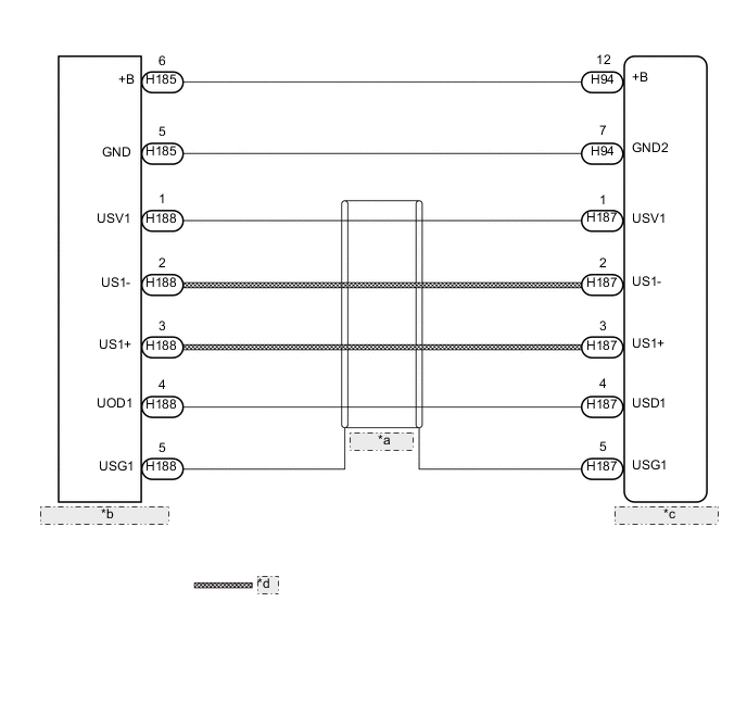
СХЕМА СОЕДИНЕНИЙ

A00064FE40
*a (Экранировано)
*b Переходник стереогнезда № 1 в сборе
*c Радиоприемник в сборе
*d Сигнал данных (линия передачи данных USB)

ПРЕДОСТЕРЕЖЕНИЕ / ПРИМЕЧАНИЕ / УКАЗАНИЕ

Note

В зависимости от замененных деталей или операций, которые были выполнены при проверке или обслуживании автомобиля, может потребоваться инициализация, регистрация или калибровка. Перейдите к разделу "Система навигации" (меры предосторожности) (см. стр. Click here).

Tech Tips


  • Если USB-устройство содержит большое количество данных, воспроизведение может начинаться с задержкой.

  • При работе с USB-устройством файлы, охраняемые авторским правом, не воспроизводятся.

  • Если файлы воспроизводятся не по порядку, прежде чем приступать к проверке, выполните следующие действия.


    1. Добавьте номера перед именами файлов.

    2. Запишите файлы в какой-либо каталог и скопируйте каталог на USB-устройство.

ПОРЯДОК ВЫПОЛНЕНИЯ


  1. ПРОВЕРЬТЕ USB-УСТРОЙСТВО ИЛИ "iPod"


    1. Отсоедините USB-устройство или "iPod" от переходника стереогнезда № 1 в сборе.

    2. Проверьте, имеются ли в USB-устройстве или устройстве "iPod" файлы, пригодные для воспроизведения.

      Tech Tips

      Сведения о файлах, пригодных для воспроизведения, можно найти в разделе "Описание системы" (см. стр. Click here).

    3. Убедитесь, что USB-устройство имеет поддерживаемый формат, либо "iPod" имеет совместимую версию.

      Tech Tips

      Сведения о поддерживаемых форматах и версиях можно найти в разделе "Описание системы" (см. стр. Click here).

      Результат
      Результат Перейти к
      Воспроизводимые файлы отсутствуют, либо не поддерживается формат или версия устройства. А
      Воспроизводимые файлы имеются, а формат или версия устройства поддерживается. B

    А
    B
  2. ПРОВЕРЬТЕ ЖГУТ И РАЗЪЕМ (РАДИОПРИЕМНИК В СБОРЕ – ПЕРЕХОДНИК СТЕРЕОГНЕЗДА № 1 В СБОРЕ)


    1. Отсоедините разъем H187 радиоприемника.

    2. Отсоедините разъем H188 переходника стереогнезда № 1 в сборе.

    3. A0006W8E02
      Обозначения на рисунке
      *A Со стороны радиоприемника в сборе
      *B Сторона переходника стереогнезда № 1 в сборе
      *a

      Вид спереди разъема со стороны жгута проводов:

      (к радиоприемнику в сборе)

      *b

      Вид спереди разъема со стороны жгута проводов:

      (к переходнику стереогнезда № 1 в сборе)

      Измерьте сопротивление в соответствии со значениями, приведенными в таблице ниже.

      Номинальное сопротивление
      Подключение диагностического прибора Условие Заданные условия
      H188-1 (USV1) - H187-1 (USV1) Всегда Менее 1 Ом
      H188-2 (US1-) - H187-2 (US1-) Всегда Менее 1 Ом
      H188-3 (US1+) - H187-3 (US1+) Всегда Менее 1 Ом
      H188-4 (UOD1) - H187-4 (USD1) Всегда Менее 1 Ом
      H188-5 (USG1) - H187-5 (USG1) Всегда Менее 1 Ом
      H187-1 (USV1) - масса Всегда 10 кОм или более
      H187-2 (US1-) - масса Всегда 10 кОм или более
      H187-3 (US1+) - масса Всегда 10 кОм или более
      H187-4 (USD1) - масса Всегда 10 кОм или более
      H187-5 (USG1) - масса Всегда 10 кОм или более

    NG
    OK
  3. ПРОВЕРЬТЕ ЖГУТ И РАЗЪЕМ (РАДИОПРИЕМНИК В СБОРЕ – ПЕРЕХОДНИК СТЕРЕОГНЕЗДА № 1 В СБОРЕ)


    1. Отсоедините разъем H94 радиоприемника.

    2. Отсоедините разъем H185 переходника стереогнезда № 1 в сборе.

    3. Измерьте сопротивление в соответствии со значениями, приведенными в таблице ниже.

      Номинальное сопротивление
      Подключение диагностического прибора Условие Заданные условия
      H94-12 (+B) - H185-6 (+B) Всегда Менее 1 Ом
      H94-7 (GND2) - H185-5 (GND) Всегда Менее 1 Ом
      H94-12 (+B) - масса Всегда 10 кОм или более
      H94-7 (GND2) - масса Всегда 10 кОм или более

    NG
    OK
  4. ПРОВЕРЬТЕ РАДИОПРИЕМНИК В СБОРЕ (ПИТАНИЕ ПЕРЕХОДНИКА СТЕРЕОГНЕЗДА № 1 В СБОРЕ)


    1. Отсоедините разъемы H185 и H188 переходника стереогнезда № 1 в сборе.

    2. A0009MYE01
      Обозначения на рисунке
      *a

      Вид спереди разъема со стороны жгута проводов:

      (к переходнику стереогнезда № 1 в сборе)

      Измерьте напряжение в соответствии со значениями, приведенными в таблице.

      Номинальное напряжение
      Подключение диагностического прибора Условие Заданные условия
      H188-1 (USV1) - H188-4 (UOD1) Питание включено (ACC) 5 В
      H185-6 (+B) - H185-5 (GND) Питание выключено 11–14 В

    NG
    OK
  5. ОТФОРМАТИРУЙТЕ USB-УСТРОЙСТВО, ЛИБО ВОССТАНОВИТЕ И ПЕРЕПРОВЕРЬТЕ "iPod"


    1. Удалите все файлы с USB-устройства или устройства "iPod" и отформатируйте/восстановите его.

    2. Снова сохраните данные и проверьте, воспроизводятся ли записи с использованием автомобильной аппаратуры.

      Note

      Форматирование USB-устройства или восстановление устройства "iPod" приводит к удалению всей музыки с устройства. Перед выполнением этой операции убедитесь, что имеются резервные копии музыкальных записей.

      OK
      Неисправность пропала.

    OK
    NG
  6. ЗАМЕНИТЕ USB-УСТРОЙСТВО ИЛИ "iPod"


    1. Выключите питание.

      Tech Tips

      Если возникла данная неисправность, необходимо выключить питание, чтобы автомобиль получил возможность опознать новое устройство при подключении.

    2. Включите питание (ACC).

    3. Подсоедините заведомо исправное USB-устройство или "iPod" к переходнику стереогнезда № 1 в сборе.

      Tech Tips


      • Если неисправность возникла при работе с USB-устройством, то для проверки следует использовать другое USB-устройство. Если неисправность возникла при работе с устройством "iPod", для проверки следует использовать другое устройство "iPod".

      • Сведения о поддерживаемых форматах и версиях можно найти в разделе "Описание системы" (см. стр. Click here).


    ДАЛЕЕ
  7. ПРОВЕРЬТЕ USB-УСТРОЙСТВО ИЛИ "iPod"


    1. Проверьте, опознается ли USB-устройство или "iPod" радиоприемником, либо отображается ли на экране такая информация, как название дорожки, исполнитель и название альбома.

      OK
      USB-устройство или iPod опознается, и информация отображается на экране.

    OK
    NG