СИСТЕМА ECD (для CCo), Diagnostic DTC:P0488

DTC Code DTC Name
P0488 Exhaust Gas Recirculation Throttle Position Control Range / Performance

DESCRIPTION

The ECM opens and closes the throttle valve using a DC motor type actuator. Due to the opening and closing of the valve, the exhaust gas recirculation volume can be properly controlled. Also, engine vibration and noise will be reduced by closing the valve when the engine is stopped.

Although the DTC title says "Exhaust Gas Recirculation Throttle Position Control Range / Performance", this DTC indicates that the throttle valve is malfunctioning.

P0488
DTC Detection Drive Pattern DTC Detection Condition Trouble Area
Perform the following repeatedly for 1 minute: gradually raise the engine speed to 3000 rpm from an idling over approximately 10 seconds, and then release the accelerator pedal to return to an idling state. The throttle motor activation duty is more than specified value for 30 seconds (1 trip detection logic).
  • Throttle valve stuck

  • Throttle valve does not move smoothly

  • Open or short in throttle control motor circuit

  • ECM

Related Data List
DTC No. Data List
P0488
  • Actual Throttle Position

  • Target Throttle Position

  • Throttle Motor Duty

  • Throttle Close Learning Val.

  • Diesel Throttle Learn Status

Reference
Condition Throttle Valve Position
Moment when accelerator pedal is depressed further or released at 3000 rpm Throttle valve opening angle varies smoothly

MONITOR DESCRIPTION

The ECM opens and closes the throttle valve by adjusting the current flowing to the DC motor with a duty ratio. If the throttle valve does not move smoothly or is stuck, the duty ratio used during valve movement control increases or decreases greatly. The ECM will determine that the throttle valve is malfunctioning and illuminate the MIL.

Normal Condition
Throttle Condition Target Throttle Position Actual Throttle Position Throttle Close Learning Val. Diesel Throttle Learn Status
Throttle Valve Fully Closed 100% 100% 14 to 21.25 deg OK
Throttle Valve Fully Open 0% 0%
A01IQ2KE01

Tech Tips

If carbon deposits exist in the diesel throttle body assembly, the following parts possibly also have deposits inside: The EGR valve assembly, intake manifold and other parts related to the exhaust gas.

By removing the EGR valve assembly from the intake manifold, the carbon deposit condition between the EGR valve and intake manifold can be checked visually. When checking for deposits in the EGR valve assembly, hold the EGR valve to a light and confirm that the valve contacts the valve seat securely.

A01IOXBE01

WIRING DIAGRAM

A01IU43E03

INSPECTION PROCEDURE

Note


  • When cleaning the EGR valve or diesel throttle body, use a piece of cloth soaked with cleaning solvent. Spraying the solvent directly onto these parts or soaking the parts in solvent may damage the parts.

  • After replacing the ECM, the new ECM needs registration Click here and initialization Click here.

PROCEDURE


  1. CHECK ANY OTHER DTCS OUTPUT (IN ADDITION TO DTC P0488)


    1. Connect the intelligent tester to the DLC3.

    2. Turn the ignition switch to ON and turn the tester on.

    3. Enter the following menus: Powertrain / Engine and ECT / DTC.

    4. Read the DTCs.

      Result
      Result Proceed to
      DTC P0488 A
      DTC P0488 and other DTCs B

      Tech Tips


      • If any DTCs other than DTC P0488 are output, troubleshoot those DTCs first.

      • Be sure to also record the values of "Actual Throttle Position" and "Target Throttle Position" listed in the freeze frame data.


    B
    A
  2. READ VALUE USING INTELLIGENT TESTER (DIESEL THROTTLE LEARN STATUS)


    1. Connect the intelligent tester to the DLC3.

    2. Turn the ignition switch to ON and turn the tester on.

    3. Clear the DTCs Click here.

    4. Turn the ignition switch off for 30 seconds or more.

      Tech Tips

      Be sure to turn off the ignition switch before performing this inspection. The fully closed position of the diesel throttle valve is learned when the ignition switch is turned off.

    5. Enter the following menus: Powertrain / Engine and ECT / Data List / Diesel Throttle Learn Status.

    6. Read the values when the ignition switch is ON.

      Standard
      Diesel Throttle Learn Status is OK

      Note

      Extremely cold conditions might cause the throttle valve movement to be delayed.


    NG
    OK
  3. PERFORM ACTIVE TEST USING INTELLIGENT TESTER (DIESEL THROTTLE TARGET ANGLE)


    1. Connect the intelligent tester to the DLC3.

    2. Turn the ignition switch to ON and turn the tester on.

    3. Enter the following menus: Powertrain / Engine and ECT / Active Test / Diesel Throttle Target Angle.

    4. When changing the Active Test continuously value to 0, 30, 60, 90, 60, 30 and 0%, check that Actual Throttle Position smoothly changes to the set opening angle.

      OK
      Value smoothly changes to set opening angle.

    NG
    OK
  4. REMOVE DEPOSIT (CLEAN EGR PASSAGE)


    1. Remove the EGR valve assembly, No. 2 intake manifold and intake manifold.

    2. Remove the deposits from those parts and clean the parts.

      A01IUCJE01

      Note


      • When cleaning the EGR valve and diesel throttle body, use a piece of cloth soaked with cleaning solvent. Spraying the solvent directly onto these parts or soaking the parts in solvent may damage the parts.

      • Extreme care must be taken to prevent the removed deposits from falling into the engine unit during cleaning.

      Tech Tips

      Remove the intake manifold from the cylinder head when it has to be cleaned.

    3. Reinstall the EGR valve assembly, No. 2 intake manifold and intake manifold.


    NEXT
  5. INSPECT DIESEL THROTTLE BODY ASSEMBLY (THROTTLE VALVE MOVEMENT)


    1. Using your finger, move the throttle valve from the fully open position to the fully closed position and check that it moves smoothly.

      OK
      Throttle valve moves smoothly.

      Note

      Take care not to damage the throttle valve or valve housing.


    OK
    NG
  6. REMOVE DEPOSIT (CLEAN EGR PASSAGE)


    1. Remove the EGR valve assembly, No. 2 intake manifold and intake manifold.

    2. Remove the deposits from those parts and clean the parts.

      A01IUCJE01

      Note


      • When cleaning the EGR valve and diesel throttle body, use a piece of cloth soaked with cleaning solvent. Spraying the solvent directly onto these parts or soaking the parts in solvent may damage the parts.

      • Extreme care must be taken to prevent the removed deposits from falling into the engine unit during cleaning.

      Tech Tips

      Remove the intake manifold from the cylinder head when it has to be cleaned.

    3. Reinstall the EGR valve assembly, No. 2 intake manifold and intake manifold.


    NEXT
  7. INSPECT DIESEL THROTTLE BODY ASSEMBLY (THROTTLE VALVE MOVEMENT)


    1. Using your finger, move the throttle valve from the fully open position to the fully closed position and check that it moves smoothly.

      OK
      Throttle valve moves smoothly.

      Note

      Take care not to damage the throttle valve or valve housing.


    NG
    OK
  8. CHECK HARNESS AND CONNECTOR (ECM - DIESEL THROTTLE BODY ASSEMBLY)

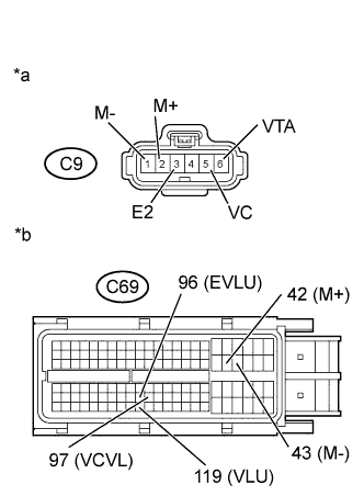
    A01IR3HE87
    Text in Illustration
    *a

    Front view of wire harness connector

    (to Throttle Body)

    *b

    Front view of wire harness connector

    (to ECM)


    1. Disconnect the diesel throttle body assembly connector.

    2. Disconnect the ECM connector.

    3. Measure the resistance according to the value(s) in the table below.

      Standard Resistance (Check for Open)
      Tester Connection Condition Specified Condition
      C9-5 (VC) - C69-97 (VCVL) Always Below 1 Ω
      C9-6 (VTA) - C69-119 (VLU) Always Below 1 Ω
      C9-3 (E2) - C69-96 (EVLU) Always Below 1 Ω
      C9-2 (M+) - C69-42 (M+) Always Below 1 Ω
      C9-1 (M-) - C69-43 (M-) Always Below 1 Ω
      Standard Resistance (Check for Short)
      Tester Connection Condition Specified Condition
      C9-5 (VC) or C69-97 (VCVL) - Body ground Always 10 kΩ or higher
      C9-6 (VTA) or C69-119 (VLU) - Body ground Always 10 kΩ or higher
      C9-3 (E2) or C69-96 (EVLU) - Body ground Always 10 kΩ or higher
      C9-2 (M+) or C69-42 (M+) - Body ground Always 10 kΩ or higher
      C9-1 (M-) or C69-43 (M-) - Body ground Always 10 kΩ or higher
    4. Reconnect the diesel throttle body assembly connector.

    5. Reconnect the ECM connector.


    OK
    NG
  9. REPAIR OR REPLACE HARNESS OR CONNECTOR


    1. Repair or replace the harness or connector.


    NEXT
  10. REPLACE DIESEL THROTTLE BODY ASSEMBLY


    1. Replace the diesel throttle body assembly Click here.


    NEXT
  11. CHECK WHETHER DTC OUTPUT RECURS (DTC P0488)


    1. Start the engine and warm it up.

    2. Connect the intelligent tester to the DLC3.

    3. Turn the tester on.

    4. Enter the following menus: Powertrain / Engine and ECT / Data List / Engine Speed, Target Throttle Position and Actual Throttle Position.

    5. A01IPZAE02

      Take a snapshot with the intelligent tester.

      Tech Tips

      Detailed graphs can be displayed by transferring the stored snapshot from the tester to a PC (personal computer) with Intelligent Viewer installed.

    6. Enter the following menus: Powertrain / Engine and ECT / Active Test / Diesel Throttle Target Angle.

      Tech Tips

      The movement of the throttle valve can be determined by performing the following inspection.

    7. When changing the Active Test value continuously to 0, 30, 60, 90, 60, 30 and 0%, check that Actual Throttle Position smoothly changes to the set opening angle.

      OK
      Value smoothly changes to set opening angle.
    8. Perform the following repeatedly for 1 minute: gradually raise the engine speed to 3000 rpm from an idling over approximately 10 seconds, and then release the accelerator pedal to return to an idling state.

    9. Enter the following menus: Powertrain / Engine and ECT / DTC.

    10. Read DTCs.

      OK
      No DTCs are output.

    NG
    OK
  12. REPLACE ECM


    1. Replace the ECM Click here.


    NEXT
  13. CHECK WHETHER DTC OUTPUT RECURS (DTC P0488)


    1. Start the engine and warm it up.

    2. Connect the intelligent tester to the DLC3.

    3. Turn the tester on.

    4. Enter the following menus: Powertrain / Engine and ECT / Data List / Engine Speed, Target Throttle Position and Actual Throttle Position.

    5. A01IPZAE02

      Take a snapshot with the intelligent tester.

      Tech Tips

      Detailed graphs can be displayed by transferring the stored snapshot from the tester to a PC (personal computer) with Intelligent Viewer installed.

    6. Enter the following menus: Powertrain / Engine and ECT / Active Test / Diesel Throttle Target Angle.

      Tech Tips

      The movement of the throttle valve can be determined by performing the following inspection.

    7. When changing the Active Test value continuously to 0, 30, 60, 90, 60, 30 and 0%, check that Actual Throttle Position smoothly changes to the set opening angle.

      OK
      Value smoothly changes to set opening angle.
    8. Perform the following repeatedly for 1 minute: gradually raise the engine speed to 3000 rpm from an idling over approximately 10 seconds, and then release the accelerator pedal to return to an idling state.

    9. Enter the following menus: Powertrain / Engine and ECT / DTC.

    10. Confirm that the DTC is not output again.


    NEXT