POWER STEERING SYSTEM TC and CG Terminal Circuit

DESCRIPTION

Connecting terminals TC and CG of the DLC3 causes the ECU to display DTCs by blinking the EPS warning light.

WIRING DIAGRAM

A001UIPE02
*a Power Steering ECU Assembly
*b CAN Communication Line

CAUTION / NOTICE / HINT

Note

If the power steering ECU assembly has been replaced, perform assist map writing and torque sensor zero point calibration.

Click here

Tech Tips

When the warning lights continue to blink, a ground short in the wiring of terminal TC of the DLC3 or an internal ground short in one or more ECUs is suspected.

PROCEDURE


  1. CHECK CAN COMMUNICATION SYSTEM


    1. Check for DTCs.

      Click here

      Result
      Result Proceed to
      CAN communication system DTCs are not output. A
      CAN communication system DTCs are output. B

    B
    A
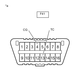
  2. INSPECT DLC3


    1. A001WJ7C44
      *a Front view of DLC3

      Turn the ignition switch to ON.

    2. Measure the voltage according to the value(s) in the table below.

      Standard Voltage
      Tester Connection Condition Specified Condition
      F41-13 (TC) - F41-4 (CG) Ignition switch ON 9 to 16 V
      Result
      Proceed to
      OK
      NG

    NG
    OK
  3. REPLACE ECM


    1. A001WJ7C44
      *a Front view of DLC3

      Turn the ignition switch off.

    2. Replace the ECM.


    3. Using SST, connect terminals TC and CG of the DLC3.

      SST
      09843-18040
    4. Check that the EPS warning light is blinking.

      OK
      The EPS warning light is blinking.

      Tech Tips

      If troubleshooting has been carried out according to Problem Symptoms Table, refer back to the table and proceed to the next step before replacing the part.

      Click here

      Result
      Result Proceed to
      OK A
      NG (for LHD) B
      NG (for RHD) C

    A
    B
    C
  4. CHECK HARNESS AND CONNECTOR (TC of DLC3 - ECM)


    1. Disconnect the A38 ECM connector.

    2. Measure the resistance according to the value(s) in the table below.

      Standard Resistance
      Tester Connection Condition Specified Condition
      F41-13 (TC) - A38-33 (TC) Always Below 1 Ω
      F41-13 (TC) or A38-33 (TC) - Body ground Always 10 kΩ or higher
      Result
      Proceed to
      OK
      NG

    NG
    OK
  5. CHECK HARNESS AND CONNECTOR (CG of DLC3 - BODY GROUND)


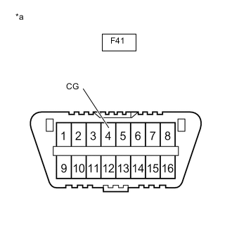
    1. A001WJ7C46
      *a Front view of DLC3

      Measure the resistance according to the value(s) in the table below.

      Standard Resistance
      Tester Connection Condition Specified Condition
      F41-4 (CG) - Body ground Always Below 1 Ω

      Tech Tips

      If troubleshooting has been carried out according to Problem Symptoms Table, refer back to the table and proceed to the next step before replacing the part.

      Click here

      Result
      Proceed to
      OK
      NG

    NG
    OK
  6. REPLACE ECM


    1. A001WJ7C44
      *a Front view of DLC3

      Replace the ECM.


    2. Using SST, connect terminals TC and CG of the DLC3.

      SST
      09843-18040
    3. Check that the EPS warning light is blinking.

      OK
      The EPS warning light is blinking.

      Tech Tips

      If troubleshooting has been carried out according to Problem Symptoms Table, refer back to the table and proceed to the next step before replacing the part.

      Click here

      Result
      Result Proceed to
      OK A
      NG (for LHD) B
      NG (for RHD) C

    A
    B
    C