FRONT WHEEL ALIGNMENT ADJUSTMENT

Info Added 2017-10-06

CAUTION / NOTICE / HINT

The necessary procedures (adjustment, calibration, initialization, or registration) that must be performed after completing the front wheel alignment procedure are shown below.

Necessary Procedures After Procedure Performed
Replaced Part or Performed Procedure Necessary Procedure Effect/Inoperative Function when Necessary Procedure not Performed Link
Front wheel alignment adjustment
  1. Clear zero point calibration data.

  2. Perform yaw rate and acceleration sensor zero point calibration.


  • DTCs are stored

  • ABS warning light illuminates

  • Slip indicator light illuminates

  • VSC disabled or malfunctions

Click here

PROCEDURE


  1. INSPECT TIRES

    Click here

  2. MEASURE VEHICLE HEIGHT

    Note


    • Before inspecting the wheel alignment, adjust the vehicle height to the specified value.

    • Be sure to perform measurement on a level surface.

    • If it is necessary to go under the vehicle for measurement, confirm that the parking brake is applied and the vehicle is secured with chocks.

    • Inspect while the vehicle is unloaded.

    • The standard value shown here is a value that is used for performing a wheel alignment and does not indicate the height of an actual vehicle.


    1. Bounce the vehicle up and down at the corners to stabilize the suspension.

    2. B0049EBN01

      Measure the vehicle height.


        Measurement Points:

      • A: Ground clearance of front wheel center


      • B: Ground clearance of front lower No. 1 suspension arm sub-assembly x front suspension crossmember sub-assembly set bolt center


      • C: Ground clearance of rear wheel center


      • D: Ground clearance of rear No. 2 suspension arm assembly x rear suspension member sub-assembly set bolt center

      Vehicle Height (Unloaded Vehicle)
      Engine Drive Train Tire Size Front A - B Rear C - D
      8NR-FTS 2WD 215/65R16 121 mm (4.76 in.) 41 mm (1.61 in.)
      215/60R17 111 mm (4.37 in.) 31 mm (1.22 in.)
      225/50R18 111 mm (4.37 in.) 31 mm (1.22 in.)
      AWD 215/60R17 112 mm (4.41 in.) 43 mm (1.69 in.)
      225/50R18 112 mm (4.41 in.) 43 mm (1.69 in.)
      3ZR-FAE 2WD 215/60R17 112 mm (4.41 in.) 33 mm (1.30 in.)
  3. INSPECT CAMBER, CASTER AND STEERING AXIS INCLINATION

    Note

    Inspect while the vehicle is unloaded.


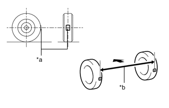
    1. B00499WC16
      *a Turning Radius Gauge
      *b Camber-caster-kingpin Gauge

      Install a camber-caster-kingpin gauge and place the front wheels on the center of a turning radius gauge.

    2. Inspect the camber, caster and steering axis inclination.

      Camber (Unloaded Vehicle)
      Engine Drive Train Tire Size Camber Inclination Right-left Difference
      8NR-FTS 2WD 215/65R16 0°02' +/- 0°45' (0.03° +/- 0.75°) 0°45' (0.75°) or less
      215/60R17 0°07' +/- 0°45' (0.12° +/- 0.75°) 0°45' (0.75°) or less
      225/50R18 0°07' +/- 0°45' (0.12° +/- 0.75°) 0°45' (0.75°) or less
      AWD 215/60R17 0°06' +/- 0°45' (0.10° +/- 0.75°) 0°45' (0.75°) or less
      225/50R18 0°06' +/- 0°45' (0.10° +/- 0.75°) 0°45' (0.75°) or less
      3ZR-FAE 2WD 215/60R17 0°06' +/- 0°45' (0.10° +/- 0.75°) 0°45' (0.75°) or less
      Caster (Unloaded Vehicle)
      Engine Drive Train Tire Size Caster Inclination Right-left Difference
      8NR-FTS 2WD 215/65R16 6°43' +/- 0°45' (6.72° +/- 0.75°) 0°45' (0.75°) or less
      215/60R17 6°35' +/- 0°45' (6.58° +/- 0.75°) 0°45' (0.75°) or less
      225/50R18 6°36' +/- 0°45' (6.60° +/- 0.75°) 0°45' (0.75°) or less
      AWD 215/60R17 6°37' +/- 0°45' (6.62° +/- 0.75°) 0°45' (0.75°) or less
      225/50R18 6°37' +/- 0°45' (6.62° +/- 0.75°) 0°45' (0.75°) or less
      3ZR-FAE 2WD 215/60R17 6°36' +/- 0°45' (6.60° +/- 0.75°) 0°45' (0.75°) or less
      Steering Axis Inclination (Unloaded Vehicle)
      Engine Drive Train Tire Size Caster Inclination
      8NR-FTS 2WD 215/65R16 14°01' (14.02°)
      215/60R17 13°48' (13.80°)
      225/50R18 13°48' (13.80°)
      AWD 215/60R17 13°49' (13.82°)
      225/50R18 13°49' (13.82°)
      3ZR-FAE 2WD 215/60R17 13°49' (13.82°)
  4. ADJUST CAMBER

    Note

    Inspect toe-in after the camber has been adjusted.


    1. Remove the front wheel.

      Click here

    2. B0049DV

      Remove the 2 nuts on the lower side of the front shock absorber assembly.

      Note

      Keep the bolts inserted.

    3. Remove the top and bottom bolts one at a time and confirm that the steering knuckle can move freely in the front shock absorber assembly.

      Tech Tips


      • Reinstall each bolt after removing it and confirming steering knuckle movement.

      • If the steering knuckle does not move freely in the front shock absorber assembly, clean the contact surfaces of the front shock absorber assembly and the steering knuckle.

    4. Temporarily install the 2 nuts. (Step A)

    5. B0049BTN01

      Fully push or pull the front axle hub in the direction of the required adjustment. (Step B)

    6. B0049DV

      Tighten the 2 nuts.

      Torque:
      270 N*m  { 2753 kgf*cm, 199 ft.*lbf }

      Note

      Keep the bolts from rotating when tightening the nuts.

    7. Install the front wheel.

      Click here

    8. Bounce the vehicle up and down at the corners to stabilize the suspension.

    9. Check the camber.

      Camber (Unloaded Vehicle)
      Engine Drive Train Tire Size Camber Inclination Right-left Difference
      8NR-FTS 2WD 215/65R16 0°02' +/- 0°30' (0.03° +/- 0.50°) 0°45' (0.75°) or less
      215/60R17 0°07' +/- 0°30' (0.12° +/- 0.50°) 0°45' (0.75°) or less
      225/50R18 0°07' +/- 0°30' (0.12° +/- 0.50°) 0°45' (0.75°) or less
      AWD 215/60R17 0°06' +/- 0°30' (0.10° +/- 0.50°) 0°45' (0.75°) or less
      225/50R18 0°06' +/- 0°30' (0.10° +/- 0.50°) 0°45' (0.75°) or less
      3ZR-FAE 2WD 215/60R17 0°06' +/- 0°30' (0.10° +/- 0.50°) 0°45' (0.75°) or less

      1. B0049C6N01

        If the measured value is not within the specification, calculate the required adjustment amount using the formula below.

        Camber adjustment amount = center of the specified range - measured value

        Check the combination of the installed bolts. Select appropriate bolts from the tables below to adjust the camber to the specified values.

        Tech Tips

        Try to adjust the camber to the center of the specified values.

        To move the axle hub toward (+) in step B To move the axle hub toward (-) in step B
        Refer to table (1) (To move the axle hub toward the positive side) Refer to table (2) (To move the axle hub toward the negative side)

        The vehicle body and suspension may be damaged if the camber cannot be correctly adjusted according to the table above.

        Note

        Replace the nut with a new one when replacing the bolt.

      2. Table (1) (To move the axle hub toward the positive side)

        B0049E3C01
        *A Table (1) (To move the axle hub toward the positive side) *B Selected Bolt Combination
        *a Installed Bolt *b Adjusting Value
        *c Standard Bolt *d 90105-17009
        *e 90105-17010 *f 90105-17011
      3. Table (2) (To move the axle hub toward the negative side)

        B004983C01
        *A Table (2) (To move the axle hub toward the negative side) *B Selected Bolt Combination
        *a Installed Bolt *b Adjusting Value
        *c Standard Bolt *d 90105-17009
        *e 90105-17010 *f 90105-17011
    10. If the camber was out of adjustment in the previous step, perform the adjust camber steps mentioned above. In step A, replace the existing bolts with the selected bolts.

      Tech Tips

      Replace one bolt at a time when replacing both bolts.

  5. INSPECT TOE-IN

    Note

    Inspect while the vehicle is unloaded.


    1. Bounce the vehicle up and down at the corners to stabilize the suspension.

    2. Release the parking brake and move the shift lever to N.

    3. Push the vehicle straight ahead approximately 5 m (16.4 ft.). (Step C)

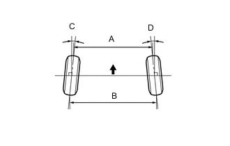
    4. B0049CUC01
      *a Tread Center Mark
      *b Dimension B
      B00495X Front of the Vehicle

      Put tread center marks on the rearmost points of the front wheels and measure the distance between the marks (dimension B).

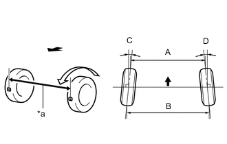
    5. Slowly push the vehicle straight ahead to cause the front wheels to rotate 180°. Use the front tire valve as a reference point.

      Tech Tips

      Do not allow the wheels to rotate more than 180°. If the wheels rotate more than 180°, perform the procedure from step C again.

    6. B0049AHC01
      *a Dimension A
      B00495X Front of the Vehicle

      Measure the distance between the tread center marks on the front of the wheels (dimension A).

      Toe-in (Unloaded Vehicle)
      Tire Size Specified Condition
      215/65R16 C + D: 0°07' +/- 0°10' (0.12° +/- 0.17°)
      B - A: 1.5 +/- 2.0 mm (0.0591 +/- 0.0787 in.)

      215/60R17

      225/50R18

      C + D: 0°06' +/- 0°10' (0.10° +/- 0.17°)
      B - A: 1.3 +/- 2.0 mm (0.0512 +/- 0.0787 in.)

      Tech Tips

      Measure "B - A" only when "C + D" cannot be measured.

      If the toe-in is not within the specified range, adjust it at the steering rack ends.

  6. ADJUST TOE-IN


    1. B0049BNC01
      *a Thread Length

      Make sure that the thread length of the right and left steering rack ends are approximately the same.

      Standard Difference
      1.5 mm (0.0591 in.) or less
    2. Remove the steering rack boot clips.

    3. B0049A0

      Loosen the tie rod end sub-assembly lock nuts.

    4. Adjust the steering rack ends if the difference in thread length between the right and left steering rack ends is not within the specified range.


      1. If the toe-in measurement is greater than the specified range (too much toe-out), extend the shorter rack end so that the difference in length is within the specified range.

      2. If the toe-in measurement is less than the specified range (too much toe-in), shorten the longer rack end so that the difference in length is within the specified range.

      3. Measure the toe-in.

    5. B0049CXC06
      B00495X Front of the Vehicle

      Turn the right and left steering rack ends by an equal amount to adjust the toe-in.

      Toe-in (Unloaded Vehicle)
      Tire Size Specified Condition
      215/65R16 C + D: 0°07' +/- 0°05' (0.12° +/- 0.08°)
      B - A: 1.5 +/- 1.0 mm (0.0591 +/- 0.0394 in.)

      215/60R17

      225/50R18

      C + D: 0°06' +/- 0°05' (0.10° +/- 0.08°)
      B - A: 1.3 +/- 1.0 mm (0.0512 +/- 0.0394 in.)

      Tech Tips

      Perform adjustments so that the value is as close as possible to the median of the specified range.

    6. Make sure that the thread length of the right and left steering rack ends are the same.

    7. Tighten the tie rod end sub-assembly lock nuts.

      Torque:
      74 N*m  { 755 kgf*cm, 55 ft.*lbf }
    8. Place the steering rack boots on the seats and install the steering rack boot clips.

      Tech Tips

      Make sure that the steering rack boots are not twisted.

  7. INSPECT WHEEL ANGLE


    1. B0049CFC03
      *a Inside
      *b Outside
      B00495X Front of the Vehicle

      Put tread center marks on the rearmost points of a turning radius gauge.

    2. Turn the steering wheel fully to the left and right and measure the turning angle.

      Note

      Inspect while the vehicle is unloaded.

      Wheel Turning Angle (Unloaded Vehicle)
      Engine Drive Train Tire Size Inside Wheel Outside Wheel
      8NR-FTS 2WD 215/65R16 39°16' +/- 2°00' (39.27° +/- 2.00°) 33°35' (33.58°)
      215/60R17 39°31' +/- 2°00' (39.52° +/- 2.00°) 33°51' (33.85°)
      225/50R18 39°31' +/- 2°00' (39.52° +/- 2.00°) 33°51' (33.85°)
      AWD 215/60R17 39°30' +/- 2°00' (39.50° +/- 2.00°) 33°50' (33.83°)
      225/50R18 39°30' +/- 2°00' (39.50° +/- 2.00°) 33°50' (33.83°)
      3ZR-FAE 2WD 215/60R17 39°30' +/- 2°00' (39.50° +/- 2.00°) 33°50' (33.83°)

      • If the right and left inside wheel angles differ from the specified value, check and adjust the right and left steering rack end lengths.

  8. ALIGN FRONT WHEELS FACING STRAIGHT AHEAD

  9. PERFORM YAW RATE AND ACCELERATION SENSOR CALIBRATION

    Click here