СИСТЕМА ИЗМЕРИТЕЛЬНЫХ ПРИБОРОВ И ИНДИКАТОРОВ Сигнальная цепь датчика частоты вращения

ОПИСАНИЕ

По этой цепи на щиток приборов поступает сигнал скорости автомобиля. Датчики частоты вращения колес формируют напряжение, которое изменяется в зависимости от скорости автомобиля. Выходные сигналы датчиков частоты вращения колес поступают в блок управления рабочими цилиндрами тормозов (ЭБУ системы противоскольжения), который использует эту информацию для формирования сигнала скорости автомобиля*a. Сигнал скорости автомобиля состоит из импульсов, передаваемых в щиток приборов от блока управления рабочими цилиндрами тормозов (ЭБУ системы противоскольжения). Для формирования данного сигнала напряжение 12 В снимается с контакта IG2, который располагается за резистором в щитке приборов. Это напряжение подается в блок управления рабочими цилиндрами тормозов в сборе (ЭБУ системы противоскольжения). Импульсный сигнал формируется в результате переключений транзистора в блоке управления рабочими цилиндрами тормозов (ЭБУ системы противоскольжения), что приводит к падению напряжения на проводе до 0 В. Аналогичная схема используется для вывода данного сигнала со щитка приборов через контакт +S. Напряжение 12 В или 5 В подается на контакт +S от каждого ЭБУ или реле, подключенного к данному контакту. Работа транзистора в щитке приборов контролируется сигналом, поступающим от блока управления рабочими цилиндрами тормозов (ЭБУ системы противоскольжения). Когда транзистор включается, то напряжение, подаваемое на различные ЭБУ (через их соответствующие внутренние резисторы), падает до 0 В. Каждый ЭБУ, подключенный к контакту +S щитка приборов, использует данный импульсный сигнал для управления работой соответствующей системы.


Tech Tips

Эта цепь используется системами, подключенными к контакту +S. Данный сигнал не используется в работе щитка приборов. Такие компоненты щитка приборов, как например, спидометр, работают, используя данные, полученные по каналам связи CAN.

СХЕМА ЭЛЕКТРИЧЕСКИХ СОЕДИНЕНИЙ

A01MVOIE05

ПОРЯДОК ВЫПОЛНЕНИЯ


  1. ПРОВЕРЬТЕ НАПРЯЖЕНИЕ НА КОНТАКТЕ ЭБУ (ВХОДНОЕ НАПРЯЖЕНИЕ)


    1. A01MY1AC11
      *a

      Вид спереди разъема со стороны жгута проводов:

      (к щитку приборов в сборе)

      Отсоедините разъем K3 щитка приборов в сборе.

    2. Измерьте напряжение в соответствии со значениями, приведенными в таблице.

      Номинальное напряжение
      Подключение диагностического прибора Условие Заданные условия
      K3-19 (+S) - масса Зажигание включено (IG) 4,5–14 В

      Tech Tips

      Когда какой-либо из ЭБУ, указанных на электрической схеме, подает питание на щиток приборов, на его выходе формируется сигнал.

      Результат
      Перейти к
      OK
      NG

    NG
    OK
  2. ПРОВЕРЬТЕ ЩИТОК ПРИБОРОВ В СБОРЕ (ВЫХОДНОЕ НАПРЯЖЕНИЕ)


    1. Подсоедините разъем K3 щитка приборов в сборе.

    2. A01MWCXC05
      *a

      Вид спереди разъема со стороны жгута проводов:

      (к блоку управления рабочими цилиндрами тормозов (ЭБУ системы противоскольжения))

      Отсоедините разъем A15 блока управления рабочими цилиндрами тормозов (ЭБУ системы противоскольжения).

    3. Измерьте напряжение в соответствии со значениями, приведенными в таблице.

      Номинальное напряжение
      Подключение диагностического прибора Условие Заданные условия
      A15-11 (SP1) - масса Выключатель зажигания в состоянии ON (ВКЛ) (IG) 11-14 В
      Результат
      Перейти к
      OK
      NG

    NG
    OK
  3. ПРОВЕРЬТЕ БЛОК УПРАВЛЕНИЯ РАБОЧИМИ ЦИЛИНДРАМИ ТОРМОЗОВ В СБОРЕ (ЭБУ СИСТЕМЫ ПРОТИВОСКОЛЬЖЕНИЯ) (ФОРМУ ВХОДНОГО СИГНАЛА)


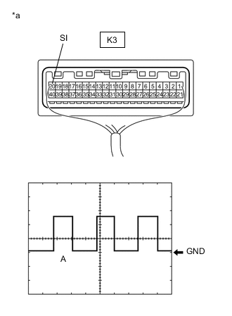
    1. A01MWTWC20
      *a

      Устройство с подсоединенным жгутом проводов

      (щиток приборов в сборе)

      Проверьте форму входного сигнала.


      1. Подсоедините разъем A15 блока управления рабочими цилиндрами тормозов (ЭБУ системы противоскольжения).

      2. Снимите щиток приборов в сборе, не отсоединяя его разъем(ы).

      3. Подключите осциллограф к контакту K3-20 (SI) и массе.

      4. Включите питание (IG).

      5. Медленно поверните колесо.

      6. Проверьте форму сигнала в соответствии с условиями, указанными в таблице ниже.

        Параметр / Устройство Условие
        Настройки прибора 5 В/дел., 20 мс/ дел.
        Состояние автомобиля Зажигание включено (IG), колесо вращается
        OK
        Форма сигнала похожа на показанную на рисунке.

        Tech Tips

        Когда система функционирует нормально, за один оборот колеса формируется 4 импульса. По мере увеличения скорости автомобиля период (A), отмеченный на рисунке, уменьшается.

      Результат
      Перейти к
      OK
      NG

    OK
    NG
  4. ПРОВЕРЬТЕ ЖГУТ ПРОВОДОВ И РАЗЪЕМ (ЩИТОК ПРИБОРОВ В СБОРЕ - БЛОК УПРАВЛЕНИЯ РАБОЧИМИ ЦИЛИНДРАМИ ТОРМОЗОВ В СБОРЕ (ЭБУ СИСТЕМЫ ПРОТИВОСКОЛЬЖЕНИЯ))


    1. Отсоедините разъем K3 щитка приборов в сборе.

    2. Измерьте сопротивление в соответствии со значениями, приведенными в таблице ниже.

      Номинальное сопротивление
      Подключение диагностического прибора Условие Заданные условия
      K3-20 (SI) - A15-11 (SP1) Всегда Менее 1 Ом
      K3-20 (SI) - масса Всегда 10 кОм или более
      Результат
      Перейти к
      OK
      NG

    OK
    NG
  5. ПРОВЕРЬТЕ ЖГУТ ПРОВОДОВ И РАЗЪЕМ (ЩИТОК ПРИБОРОВ – КАЖДЫЙ ЭБУ)


    1. Отсоедините разъем A76 ECM.

    2. Отсоедините разъем K6 ЭБУ сертификации (ЭБУ электронного ключа зажигания в сборе).

    3. Отсоедините разъем K58 радиоприемника в сборе.*1

    4. Отсоедините разъем K72 радиоприемника в сборе.*2

    5. Отсоедините разъем P23*1 или P24*2 компонентного стереоусилителя в сборе.


      • *1: для моделей с системой навигации

      • *2: для моделей с аудиовизуальной системой

    6. Измерьте сопротивление в соответствии со значениями, приведенными в таблице ниже.

      Номинальное сопротивление
      Подключение диагностического прибора Условие Заданные условия
      K3-19 (+S) - масса Всегда 10 кОм или более
      Результат
      Перейти к
      OK
      NG

    NG
    OK
  6. ПРОВЕРЬТЕ ECM (КОРОТКОЕ ЗАМЫКАНИЕ В ECM)


    1. Подсоедините разъем K6 ЭБУ сертификации (ЭБУ электронного ключа зажигания в сборе).

    2. Подсоедините разъем K58 радиоприемника в сборе*1.

    3. Подсоедините разъем K72 радиоприемника в сборе*2.

    4. Подсоедините разъем P23*1 или P24*2 компонентного стереоусилителя в сборе.


      • *1: для моделей с системой навигации

      • *2: для моделей с аудиовизуальной системой

    5. Измерьте напряжение в соответствии со значениями, приведенными в таблице.

      Номинальное напряжение
      Подключение диагностического прибора Условие Заданные условия
      K3-19 (+S) - масса Зажигание включено (IG) 4,5–14 В

      Tech Tips

      Если результат отвечает требованиям, возможно короткое замыкание в ECM.

      Результат
      Следующий шаг
      OK
      NG

    OK
    NG
  7. ПРОВЕРКА МОДЕЛИ

    Результат
    Результат Следующий шаг
    Для моделей с системой навигации А
    для моделей с аудиовизуальной системой B

    B
    А
  8. ПРОВЕРЬТЕ РАДИОПРИЕМНИК В СБОРЕ (КОРОТКОЕ ЗАМЫКАНИЕ В РАДИОПРИЕМНИКЕ В СБОРЕ)


    1. Подсоедините разъем A76 ECM.

    2. Отсоедините разъем K58 радиоприемника в сборе.

    3. Измерьте напряжение в соответствии со значениями, приведенными в таблице.

      Номинальное напряжение
      Подключение диагностического прибора Условие Заданные условия
      K3-19 (+S) - масса Зажигание включено (IG) 4,5 - 14 В

      Tech Tips

      Если результат не соответствует требованиям, возможно, имеется короткое замыкание в радиоприемнике в сборе.

      Результат
      Результат Следующий шаг
      OK А
      NG: для моделей с 6 динамиками B
      NG: для моделей с 15 или 8 динамиками C

    А
    B
    C
  9. ПРОВЕРЬТЕ КОМПОНЕНТНЫЙ СТЕРЕОУСИЛИТЕЛЬ (КОРОТКОЕ ЗАМЫКАНИЕ В КОМПОНЕНТНОМ СТЕРЕОУСИЛИТЕЛЕ)


    1. Подсоедините разъем K58 радиоприемника в сборе.

    2. Отсоедините разъем P23 компонентного стереоусилителя в сборе.

    3. Измерьте напряжение в соответствии со значениями, приведенными в таблице.

      Номинальное напряжение
      Подключение диагностического прибора Условие Заданные условия
      K3-19 (+S) - масса Зажигание включено (IG) 4,5 - 14 В

      Tech Tips

      Если результат отвечает требованиям, возможно короткое замыкание в компонентном стереоусилителе.

      Результат
      Перейти к
      OK
      NG

    OK
    NG
  10. ПРОВЕРЬТЕ РАДИОПРИЕМНИК В СБОРЕ (КОРОТКОЕ ЗАМЫКАНИЕ В РАДИОПРИЕМНИКЕ В СБОРЕ)


    1. Подсоедините разъем A76 ECM.

    2. Отсоедините разъем K72 радиоприемника в сборе.

    3. Измерьте напряжение в соответствии со значениями, приведенными в таблице.

      Номинальное напряжение
      Подключение диагностического прибора Условие Заданные условия
      K3-19 (+S) - масса Зажигание включено (IG) 4,5 - 14 В

      Tech Tips

      Если результат не соответствует требованиям, возможно, имеется короткое замыкание в радиоприемнике в сборе.

      Результат
      Результат Перейти к
      OK А
      NG: для моделей с 6 динамиками B
      NG: для моделей с 15 или 8 динамиками C

    А
    B
    C
  11. ПРОВЕРЬТЕ КОМПОНЕНТНЫЙ СТЕРЕОУСИЛИТЕЛЬ (КОРОТКОЕ ЗАМЫКАНИЕ В КОМПОНЕНТНОМ СТЕРЕОУСИЛИТЕЛЕ)


    1. Подсоедините разъем K72 радиоприемника в сборе.

    2. Отсоедините разъем P24 компонентного стереоусилителя в сборе.

    3. Измерьте напряжение в соответствии со значениями, приведенными в таблице.

      Номинальное напряжение
      Подключение диагностического прибора Условие Заданные условия
      K3-19 (+S) - масса Зажигание включено (IG) 4,5 - 14 В

      Tech Tips

      Если результат отвечает требованиям, возможно короткое замыкание в компонентном стереоусилителе.

      Результат
      Перейти к
      OK
      NG

    OK
    NG