ДАТЧИК УРОВНЯ МАСЛА УСТАНОВКА

PROCEDURE


  1. INSTALL ENGINE OIL LEVEL SENSOR


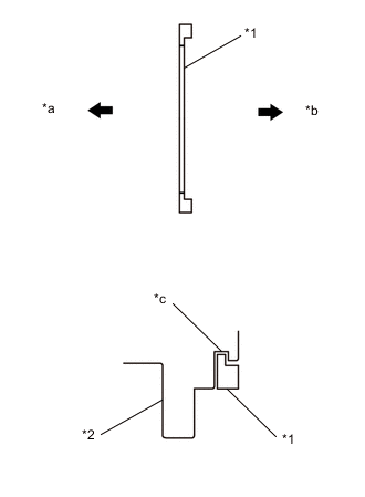
    1. A00Y99JC01
      *1 Gasket
      *2 Engine Oil level Sensor
      *a Engine Oil level Sensor Side
      *b Float Side
      *c Groove

      Install a new gasket to the engine oil level sensor.

      Note

      Securely install the gasket to the engine oil level sensor groove.

    2. A00YAKRN01

      Temporarily tighten the engine oil level sensor with the 5 bolts.

      Note

      Do not deform the engine oil level sensor float or allow it to come in contact with other parts.

    3. Fully tighten the 4 bolts (A) first, and then tighten the bolt (B).

      Torque:
      11 N*m  { 112 kgf*cm, 8 ft.*lbf }
    4. Connect the engine oil level sensor connector.

  2. INSTALL NO. 2 OIL PAN SUB-ASSEMBLY

    Click here

  3. ADD ENGINE OIL

    Click here

  4. CHECK ENGINE OIL LEVEL

    Click here

  5. INSPECT FOR OIL LEAK

    Click here

  6. INSTALL REAR ENGINE UNDER COVER RH

  7. INSTALL NO. 1 ENGINE UNDER COVER

  8. MAINTENANCE REQUIRED REMINDER RESET PROCEDURE

    Click here