СИСТЕМА ДОПОЛНИТЕЛЬНОГО ПОДОГРЕВА ПЛАМЕННОГО ТИПА Цепь выключателя системы дополнительного подогрева

ОПИСАНИЕ

При включенном переключателе отопителя насос отопителя получает сигнал возбуждения от отопителя. При этом отопитель получает необходимое топливо для сжигания и начинает работу.

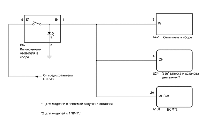
СХЕМА ЭЛЕКТРИЧЕСКИХ СОЕДИНЕНИЙ

A012G44E02

ПРЕДОСТЕРЕЖЕНИЕ / ПРИМЕЧАНИЕ / УКАЗАНИЕ

Note

Перед выполнением последующей процедуры проверки проверьте плавкие предохранители цепей, относящихся к данной системе.

ПОРЯДОК ВЫПОЛНЕНИЯ


  1. ПРОВЕРЬТЕ ЖГУТ ПРОВОДОВ И РАЗЪЕМ (ПОДОГРЕВАТЕЛЬ - ИСТОЧНИК ПИТАНИЯ IG, МАССА)


    1. Отсоедините разъем E97 выключателя отопителя в сборе.

    2. Измерьте напряжение в соответствии со значениями, приведенными в таблице.

      Номинальное напряжение
      Подключение диагностического прибора Условие Заданные условия
      E97-4 (IG) - масса Зажигание включено 11–14 В
      E97-4 (IG) - масса Замок зажигания в положении OFF (ВЫКЛ) Менее 1 В
    3. Измерьте сопротивление в соответствии со значениями, приведенными в таблице ниже.

      Номинальное сопротивление
      Подключение диагностического прибора Условие Заданные условия
      E97-5 (E) - масса Всегда Менее 1 Ом
      Результат
      Следующий шаг
      OK
      NG

    NG
    OK
  2. ПРОВЕРЬТЕ ВЫКЛЮЧАТЕЛЬ ОТОПИТЕЛЯ В СБОРЕ


    1. A012J8CC02
      *a

      Устройство с неподсоединенным жгутом проводов

      (выключатель отопителя в сборе)

      Измерьте сопротивление.


      1. Измерьте сопротивление в соответствии со значениями, приведенными в таблице ниже.

        Номинальное сопротивление
        Подключение диагностического прибора Условие Заданные условия
        4 (IG) - 1 (IN) Выключатель отопителя в сборе: Вкл Менее 1 Ом
        4 (IG) - 1 (IN) Выключатель отопителя в сборе: Выкл 10 кОм или более
    2. Проверьте индикатор.


      1. Включите переключатель отопителя.

      2. Соедините положительный (+) вывод аккумуляторной батареи с контактом 4 (IG), а отрицательный (-) вывод – с контактом 5 (Е) и убедитесь, что контрольная лампа загорается.

        OK
        Лампа загорается.
      Результат
      Перейти к
      OK
      NG

    NG
    OK
  3. ПРОВЕРКА МОДЕЛИ

    Результат
    Результат Следующий шаг
    Для моделей с 1AD-FTV А
    для моделей с 1ND-TV B

    B
    А
  4. ПРОВЕРЬТЕ ЖГУТ ПРОВОДОВ И РАЗЪЕМ (ПЕРЕКЛЮЧАТЕЛЬ ПОДОГРЕВАТЕЛЯ - ПОДОГРЕВАТЕЛЬ, ЭБУ ЗАПУСКА И ОСТАНОВА ДВИГАТЕЛЯ)


    1. Отсоедините разъем A42 отопителя.

    2. Отсоедините разъем E24 ЭБУ запуска и останова двигателя.*1

    3. Измерьте сопротивление в соответствии со значениями, приведенными в таблице ниже.

      Номинальное сопротивление
      Подключение диагностического прибора Значение Заданные условия
      E97-1 (IN) - A42-3 (IG) Всегда Менее 1 Ом
      E97-1 (IN) - E24-4 (CHI)*1 Всегда Менее 1 Ом
      A42-3 (IG) - масса Всегда 10 кОм или более
      E24-4 (CHI) - масса*1 Всегда 10 кОм или более

      • *1: для моделей с системой запуска и останова

      Результат
      Результат Следующий шаг
      OK (СОПРОТИВЛЕНИЕ МЕЖДУ ОТОПИТЕЛЕМ В СБОРЕ И ВЫКЛЮЧАТЕЛЕМ ОТОПИТЕЛЯ В СБОРЕ В НОРМЕ) А
      OK (СОПРОТИВЛЕНИЕ МЕЖДУ ОТОПИТЕЛЕМ В СБОРЕ И ЭБУ ЗАПУСКА И ОСТАНОВА ДВИГАТЕЛЯ В НОРМЕ) B
      NG C

    А
    B
    C
  5. ПРОВЕРЬТЕ ЖГУТ ПРОВОДОВ И РАЗЪЕМ (ПЕРЕКЛЮЧАТЕЛЬ ПОДОГРЕВАТЕЛЯ - ПОДОГРЕВАТЕЛЬ, ECM, ЭБУ ЗАПУСКА И ОСТАНОВА ДВИГАТЕЛЯ)


    1. Отсоедините разъем A42 отопителя.

    2. Отсоедините разъем A101 ECM.

    3. Отсоедините разъем E24 ЭБУ запуска и останова двигателя.*1

    4. Измерьте сопротивление в соответствии со значениями, приведенными в таблице ниже.

      Номинальное сопротивление
      Подключение диагностического прибора Условие Номинальное состояние
      E97-1 (IN) - A42-3 (IG) Всегда Менее 1 Ом
      E97-1 (IN) - A101-26 (MHSW) Всегда Менее 1 Ом
      E97-1 (IN) - E24-4 (CHI)*1 Всегда Менее 1 Ом
      A42-3 (IG) - масса Всегда 10 кОм или более
      A101-26 (MHSW) - масса Всегда 10 кОм или более
      E24-4 (CHI) - масса*1 Всегда 10 кОм или более

      • *1: для моделей с системой запуска и останова

      Результат
      Результат Следующий шаг
      OK (СОПРОТИВЛЕНИЕ МЕЖДУ ОТОПИТЕЛЕМ В СБОРЕ И ВЫКЛЮЧАТЕЛЕМ ОТОПИТЕЛЯ В СБОРЕ В НОРМЕ) А
      OK (СОПРОТИВЛЕНИЕ МЕЖДУ ОТОПИТЕЛЕМ В СБОРЕ И ECM В НОРМЕ) B
      OK (СОПРОТИВЛЕНИЕ МЕЖДУ ОТОПИТЕЛЕМ В СБОРЕ И ЭБУ ЗАПУСКА И ОСТАНОВА ДВИГАТЕЛЯ В НОРМЕ) C
      NG D

    А
    B
    C
    D