ЭЛЕМЕНТ ЗАДНЕЙ ПОДВЕСКИ УСТАНОВКА

ПОРЯДОК ВЫПОЛНЕНИЯ


  1. УСТАНОВИТЕ ПЕРЕДНЮЮ ПОДУШКУ ОПОРЫ ЭЛЕМЕНТА ЗАДНЕЙ ПОДВЕСКИ НА КУЗОВЕ (с левой стороны)


    1. A012N4DC02
      *a Отверстие
      A012M0O Передняя сторона автомобиля
      A012L0C Наружная сторона автомобиля

      Предварительно закрепите новую переднюю подушку опоры элемента задней подвески на кузове так, чтобы отверстия располагались в продольном направлении, как показано на рисунке.

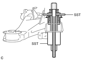
    2. A012JZ2N02

      Установите SST, как показано на рисунке.

      SST
      09570-24011
      09830-10010   ( 09830-01010, 09830-01020, 09830-01040, 09830-01060 )

      Note

      Перед применением нанесите небольшое количество консистентной смазки на резьбу SST (центральный болт).

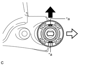
    3. A012JPQC02
      *a Поверните
      *b Удерживайте

      С помощью SST установите переднюю подушку опоры элемента задней подвески на кузове таким образом, чтобы между элементом задней подвески в сборе и передней подушкой опоры элемента задней подвески на кузове не было зазора.

      SST
      09570-24011
      09830-10010   ( 09830-01010, 09830-01020, 09830-01040, 09830-01060 )
  2. УСТАНОВИТЕ ПЕРЕДНЮЮ ПОДУШКУ ОПОРЫ ЭЛЕМЕНТА ЗАДНЕЙ ПОДВЕСКИ НА КУЗОВЕ (с правой стороны)

    Tech Tips

    Порядок выполнения работ такой же, как для левой стороны.

  3. УСТАНОВИТЕ ЛЕВУЮ ЗАДНЮЮ ПОДУШКУ ОПОРЫ КУЗОВА ЭЛЕМЕНТА ЗАДНЕЙ ПОДВЕСКИ


    1. A012G5QC02
      *a Отверстие
      A012M0O Передняя сторона автомобиля
      A012L0C Левая сторона автомобиля

      Предварительно закрепите новую левую заднюю подушку опоры элемента задней подвески на кузове так, чтобы отверстия располагались в продольном направлении, как показано на рисунке.

    2. A012N07N02

      Установите SST, как показано на рисунке.

      SST
      09950-40011   ( 09951-04020, 09952-04010, 09953-04030, 09954-04020, 09955-04051, 09957-04010, 09958-04011 )
      09950-60020   ( 09951-00890, 09952-06010 )

      Note

      Перед использованием нанесите небольшое количество консистентной смазки на резьбу и наконечник (центрального болта) SST.

    3. A012GICC03
      *a Поверните
      *b Удерживайте

      С помощью SST установите левую заднюю подушку опоры кузова элемента задней подвески таким образом, чтобы между элементом задней подвески в сборе и левой задней подушкой опоры кузова элемента задней подвески не было зазора.

      SST
      09950-40011   ( 09951-04020, 09952-04010, 09953-04030, 09954-04020, 09955-04051, 09957-04010, 09958-04011 )
      09950-60020   ( 09951-00890, 09952-06010 )

      Note

      Если на элементе задней подвески в сборе имеются царапины, закрасьте их.

  4. УСТАНОВИТЕ ПРАВУЮ ЗАДНЮЮ ПОДУШКУ ОПОРЫ КУЗОВА ЭЛЕМЕНТА ЗАДНЕЙ ПОДВЕСКИ


    1. A012HYBC02
      *a Отверстие
      A012M0O Передняя сторона автомобиля
      A012L0C Правая сторона автомобиля

      Предварительно закрепите новую правую заднюю подушку опоры элемента задней подвески на кузове так, чтобы отверстия располагались в продольном направлении, как показано на рисунке.

    2. A012MO3N02

      Установите SST, как показано на рисунке.

      SST
      09950-40011   ( 09951-04020, 09952-04010, 09953-04030, 09954-04020, 09955-04051, 09957-04010, 09958-04011 )
      09950-60020   ( 09951-00890, 09952-06010 )

      Note

      Перед использованием нанесите небольшое количество консистентной смазки на резьбу и наконечник (центрального болта) SST.

    3. A012FB1C01
      *a Поверните
      *b Удерживайте

      С помощью SST установите правую заднюю подушку опоры кузова элемента задней подвески таким образом, чтобы между элементом задней подвески в сборе и правой задней подушкой опоры кузова элемента задней подвески не было зазора.

      SST
      09950-40011   ( 09951-04020, 09952-04010, 09953-04030, 09954-04020, 09955-04051, 09957-04010, 09958-04011 )
      09950-60020   ( 09951-00890, 09952-06010 )

      Note

      Если на элементе задней подвески в сборе имеются царапины, закрасьте их.

  5. УСТАНОВИТЕ ЛЕВЫЙ ЗАДНИЙ ВЕРХНИЙ РЫЧАГ УПРАВЛЕНИЯ В СБОРЕ


    1. A012N7JN03

      Установите левый задний верхний рычаг управления в сборе на элемент задней подвески в сборе, предварительно закрепив его болтом и гайкой.

      Note


      • Поскольку у гайки имеется фиксатор, не поворачивайте гайку. При затягивании болта гайка должна оставаться неподвижной.

      • Резьбовой конец вставляемого болта должен быть обращен к задней части автомобиля.

    2. Установите левый задний верхний рычаг управления в сборе в положение закрепления, как показано на рисунке.

      Справочная длина (A)
      23,0 мм (0,906 дюйма)
    3. Полностью затяните болт в положении закрепления.

      Torque:
      90 Н*м  { 918 кгс*см, 66 фунт-сила-футов }

      Note

      Поскольку у гайки имеется фиксатор, не поворачивайте гайку. При затягивании болта гайка должна оставаться неподвижной.

  6. УСТАНОВИТЕ ПРАВЫЙ ЗАДНИЙ ВЕРХНИЙ РЫЧАГ УПРАВЛЕНИЯ В СБОРЕ

    Tech Tips

    Порядок выполнения работ такой же, как для левой стороны.

  7. УСТАНОВИТЕ ВЕРХНИЙ ФИКСАТОР ЭЛЕМЕНТА ЗАДНЕЙ ПОДВЕСКИ


    1. Установите 2 верхних фиксатора элемента задней подвески на элемент задней подвески в сборе.

      Note

      Верхние фиксаторы элемента задней подвески должны устанавливаться с надлежащей ориентацией.

  8. УСТАНОВИТЕ ЗАДНИЙ ВЕРХНИЙ ФИКСАТОР ЭЛЕМЕНТА ЗАДНЕЙ ПОДВЕСКИ


    1. Установите 2 задних верхних фиксатора элемента задней подвески на элемент задней подвески в сборе.

      Note

      Задние верхние фиксаторы элемента задней подвески должны устанавливаться с надлежащей ориентацией.

  9. УСТАНОВИТЕ ЭЛЕМЕНТ ЗАДНЕЙ ПОДВЕСКИ В СБОРЕ


    1. Подоприте элемент задней подвески в сборе, используя подъемник двигателя и 4 переходника или аналогичных приспособления.

      Note


      • Обязательно закрепите элемент задней подвески, чтобы не допустить его падения.

      • Используйте переходники, что обеспечить поддержание элемента задней подвески в сборе в горизонтальном положении.

      • Элемент задней подвески в сборе является тяжелым узлом. Убедитесь, что он надежно поддерживается.

    2. Поднимите элемент задней подвески в сборе настолько, чтобы между ним и кузовом автомобиля не было зазора.

      Note

      При подъеме элемента задней подвески соблюдайте осторожность, что не повредить кузов автомобиля или другие узлы, установленные на автомобиль.

    3. Установите элемент задней подвески в сборе и закрепите его с помощью нижних фиксаторов элемента задней подвески (левого и правого), 2 нижних задних фиксаторов элемента задней подвески, 2 болтов, 2 гаек (A) и 2 гаек (B).

      A012FDUC02
      *1 Задний нижний фиксатор элемента задней подвески - -
      A012M0O Гайка (A) A012L0C Болт
      A012HN3 Гайка (B) - -
      Torque:
      Болт
      125 Н*м  { 1275 кгс*см, 92 фунт-сила-фута }
      Гайка (A)
      125 Н*м  { 1275 кгс*см, 92 фунт-сила-фута }
      Гайка (B)
      60,8 Н*м  { 620 кгс*см, 45 фунт-сила-футов }

      Note

      При установке элемента задней подвески в сборе нижние задние фиксаторы элемента задней подвески должны иметь надлежащую ориентацию, как показано на рисунке.

    4. Опустите подъемник двигателя.

  10. УСТАНОВИТЕ ЗАДНИЙ СТАБИЛИЗАТОР

    Нажмите здесь Click here

  11. УСТАНОВИТЕ ЛЕВУЮ СКОБУ ЗАДНЕЙ ПОДВЕСКИ

    Нажмите здесь Click here

  12. УСТАНОВИТЕ ПРАВУЮ СКОБУ ЗАДНЕЙ ПОДВЕСКИ

    Tech Tips

    Порядок выполнения работ такой же, как для левой стороны.

  13. УСТАНОВИТЕ ВЕРХНЮЮ ИЗОЛИРУЮЩУЮ ПРОКЛАДКУ ЛЕВОЙ ЗАДНЕЙ ЦИЛИНДРИЧЕСКОЙ ВИНТОВОЙ ПРУЖИНЫ

    Нажмите здесь Click here

  14. УСТАНОВИТЕ ВЕРХНЮЮ ИЗОЛИРУЮЩУЮ ПРОКЛАДКУ ПРАВОЙ ЗАДНЕЙ ЦИЛИНДРИЧЕСКОЙ ВИНТОВОЙ ПРУЖИНЫ

    Tech Tips

    Порядок выполнения работ такой же, как для левой стороны.

  15. УСТАНОВИТЕ НИЖНЮЮ ИЗОЛИРУЮЩУЮ ПРОКЛАДКУ ЛЕВОЙ ЗАДНЕЙ ЦИЛИНДРИЧЕСКОЙ ВИНТОВОЙ ПРУЖИНЫ

    Нажмите здесь Click here

  16. УСТАНОВИТЕ НИЖНЮЮ ИЗОЛИРУЮЩУЮ ПРОКЛАДКУ ПРАВОЙ ЗАДНЕЙ ЦИЛИНДРИЧЕСКОЙ ВИНТОВОЙ ПРУЖИНЫ

    Tech Tips

    Порядок выполнения работ такой же, как для левой стороны.

  17. ВРЕМЕННО ЗАКРЕПИТЕ ЛЕВЫЙ РЫЧАГ ЗАДНЕЙ ПОДВЕСКИ № 2 В СБОРЕ


    1. Предварительно установите левый рычаг задней подвески № 2 в сборе на элементе задней подвески в сборе болтом и гайкой.

      Note


      • Поскольку у гайки имеется фиксатор, не поворачивайте гайку. При затягивании болта гайка должна оставаться неподвижной.

      • Резьбовой конец вставляемого болта должен быть обращен к передней части автомобиля.

    2. A012G0MC01
      *a Идентификационная метка
      *b 30° или менее
      *c Нижний конец задней цилиндрической винтовой пружины.

      Установите левую заднюю цилиндрическую винтовую пружину на левый рычаг задней подвески № 2 в сборе.

      Note


      • Задняя цилиндрическая винтовая пружина должна устанавливаться таким образом, чтобы идентификационные метки располагались, как показано на рисунке.

      • Устанавливайте заднюю цилиндрическую винтовую пружину таким образом, чтобы ее нижний конец располагался в диапазоне, показанном на рисунке.

    3. A012KAQC07
      *a Деревянный брусок
      *b Домкрат

      Медленно поднимите рычаг левой задней подвески № 2 в сборе с помощью домкрата и деревянного бруска.

      CAUTION:

      Не поднимайте левый рычаг задней подвески № 2 в сборе слишком высоко, иначе автомобиль может опрокинуться.

      Note


      • При поддомкрачивании левого рычага задней подвески № 2 выполняйте эту операцию медленно.

      • При выполнении этой операции автомобиль должен находиться как можно ниже.

    4. Предварительно закрепите левый рычаг задней подвески № 2 в сборе и левую заднюю цилиндрическую винтовую пружину с помощью болта и гайки.

      Note


      • Поскольку у гайки имеется фиксатор, не поворачивайте гайку. При затягивании болта гайка должна оставаться неподвижной.

      • Резьбовой конец вставляемого болта должен быть обращен к передней части автомобиля.

  18. ВРЕМЕННО ЗАКРЕПИТЕ ПРАВЫЙ РЫЧАГ ЗАДНЕЙ ПОДВЕСКИ № 2 В СБОРЕ

    Tech Tips

    Порядок выполнения работ такой же, как для левой стороны.

  19. УСТАНОВИТЕ ЛЕВУЮ СТОЙКУ ЗАДНЕГО СТАБИЛИЗАТОРА В СБОРЕ

    Нажмите здесь Click here

  20. УСТАНОВИТЕ ПРАВУЮ СТОЙКУ ЗАДНЕГО СТАБИЛИЗАТОРА В СБОРЕ

    Tech Tips

    Порядок выполнения работ такой же, как для левой стороны.

  21. УСТАНОВИТЕ ЗАДНЮЮ ПОЛУОСЬ В СБОРЕ (для левой стороны)


    1. Поддерживайте левый рычаг задней подвески № 2 в горизонтальном положении с помощью домкрата и деревянного бруска.

      CAUTION:

      Не поднимайте левый рычаг задней подвески № 2 в сборе слишком высоко, иначе автомобиль может опрокинуться.

      Note


      • При поддомкрачивании левого рычага задней подвески № 2 выполняйте эту операцию медленно.

      • При выполнении этой операции автомобиль должен находиться как можно ниже.

    2. A012GS7C04
      *1 Кронштейн гибкого шланга № 2
      A012M0O Болт (A)
      A012L0C Болт (B)
      A012HN3 Болт (C)

      Предварительно прикрепите заднюю полуось в сборе к левому рычагу задней подвески № 2 в сборе с помощью болта (C) и гайки.

      Note


      • Резьбовой конец вставляемого болта должен быть обращен к передней части автомобиля.

      • Поскольку у гайки имеется фиксатор, не поворачивайте гайку. При затягивании болта гайка должна оставаться неподвижной.

    3. Предварительно прикрепите заднюю полуось в сборе и кронштейн гибкого шланга № 2 к заднему верхнему рычагу управления в сборе с помощью болта (B) и гайки.

      Note


      • Резьбовой конец вставляемого болта должен быть обращен к задней части автомобиля.

      • Поскольку у гайки имеется фиксатор, не поворачивайте гайку. При затягивании болта гайка должна оставаться неподвижной.

    4. Прикрепите заднюю полуось в сборе к продольному рычагу задней подвески в сборе с помощью 2 болтов (A).

      Torque:
      200 Н*м  { 2039 кгс*см, 148 фунт-сила-футов }
    5. Полностью затяните болт (B) и болт (C).

      Torque:
      90 Н*м  { 918 кгс*см, 66 фунт-сила-футов }

      Note

      Поскольку гайки снабжена фиксаторами, не поворачивайте их. При затягивании болтов гайки должны оставаться неподвижными.

    6. Медленно опустите левый рычаг задней подвески № 2 в сборе.

  22. УСТАНОВИТЕ ЗАДНЮЮ ПОЛУОСЬ В СБОРЕ (для правой стороны)

    Tech Tips

    Порядок выполнения работ такой же, как для левой стороны.

  23. ВРЕМЕННО ЗАКРЕПИТЕ ЛЕВЫЙ РЫЧАГ ЗАДНЕЙ ПОДВЕСКИ № 1 В СБОРЕ

    Нажмите здесь Click here

  24. ВРЕМЕННО ЗАКРЕПИТЕ ПРАВЫЙ РЫЧАГ ЗАДНЕЙ ПОДВЕСКИ № 1 В СБОРЕ

    Tech Tips

    Порядок выполнения работ такой же, как для левой стороны.

  25. УСТАНОВИТЕ ЗАДНИЙ ТОРМОЗНОЙ ДИСК


    1. Установите 2 задних диска.

      Нажмите здесь Click here

  26. УСТАНОВИТЕ ЛЕВЫЙ СУППОРТ ЗАДНЕГО ДИСКОВОГО ТОРМОЗА В СБОРЕ

    Нажмите здесь Click here

  27. УСТАНОВИТЕ СУППОРТ ЗАДНЕГО ПРАВОГО ДИСКОВОГО ТОРМОЗА В СБОРЕ

    Tech Tips

    Порядок выполнения работ такой же, как для левой стороны.

  28. ПОДСОЕДИНИТЕ ТРОС ПРИВОДА СТОЯНОЧНОГО ТОРМОЗА № 3 В СБОРЕ

    Нажмите здесь Click here

  29. ПОДСОЕДИНИТЕ ТРОС ПРИВОДА СТОЯНОЧНОГО ТОРМОЗА № 2 В СБОРЕ

    Tech Tips

    Порядок выполнения работ такой же, как для левой стороны.

  30. УСТАНОВИТЕ ЗАЩИТУ РЫЧАГА СТОЯНОЧНОГО ТОРМОЗА (для левой стороны)

    Нажмите здесь Click here

  31. УСТАНОВИТЕ ЗАЩИТУ РЫЧАГА СТОЯНОЧНОГО ТОРМОЗА (для правой стороны)

    Tech Tips

    Порядок выполнения работ такой же, как для левой стороны.

  32. УСТАНОВИТЕ ЗАДНИЙ ДАТЧИК ВЫСОТЫ ПОДВЕСКИ В СБОРЕ (для моделей с датчиком высоты подвески)

    Нажмите здесь Click here

  33. ПОДСОЕДИНИТЕ КАБЕЛЬ ЛЕВОГО ДАТЧИКА СИСТЕМЫ ПРОТИВОСКОЛЬЖЕНИЯ

    Нажмите здесь Click here

  34. ПОДСОЕДИНИТЕ КАБЕЛЬ ПРАВОГО ДАТЧИКА СИСТЕМЫ ПРОТИВОСКОЛЬЖЕНИЯ

    Tech Tips

    Порядок выполнения работ такой же, как для левой стороны.

  35. ОТРЕГУЛИРУЙТЕ СТОЯНОЧНЫЙ ТОРМОЗ

    Нажмите здесь Click here

  36. УСТАНОВИТЕ ВЕРХНЮЮ ПАНЕЛЬ КОНСОЛИ В СБОРЕ

    Нажмите здесь Click here

  37. ДОБЕЙТЕСЬ УСТОЙЧИВОСТИ ПОДВЕСКИ

    Нажмите здесь Click here

  38. ОКОНЧАТЕЛЬНО ЗАКРЕПИТЕ ЛЕВЫЙ РЫЧАГ ЗАДНЕЙ ПОДВЕСКИ № 2 В СБОРЕ

    Нажмите здесь Click here

  39. ОКОНЧАТЕЛЬНО ЗАКРЕПИТЕ ПРАВЫЙ РЫЧАГ ЗАДНЕЙ ПОДВЕСКИ № 2 В СБОРЕ

    Tech Tips

    Порядок выполнения работ такой же, как для левой стороны.

  40. УСТАНОВИТЕ НАКЛАДКУ ЛЕВОГО БОКОВОГО БРУСА ЗАДНЕГО ПОЛА


    1. Установите накладку левого бокового защитного бруса заднего пола и закрепите ее 2 болтами, гайкой и 2 фиксаторами.

  41. УСТАНОВИТЕ НАКЛАДКУ ПРАВОГО БОКОВОГО БРУСА ЗАДНЕГО ПОЛА


    1. Для моделей с 1ZR-FAE:


      1. Установите накладку правого бокового защитного бруса заднего пола и закрепите ее болтом, гайкой и фиксатором.

    2. Для моделей с 1AD-FTV:


      1. Установите накладку правого бокового защитного бруса заднего пола и закрепите ее 3 болтами и 2 фиксаторами.

  42. УСТАНОВИТЕ НАКЛАДКУ ЛЕВОГО РЫЧАГА ЗАДНЕЙ ПОДВЕСКИ

    Нажмите здесь Click here

  43. УСТАНОВИТЕ НАКЛАДКУ ПРАВОГО РЫЧАГА ЗАДНЕЙ ПОДВЕСКИ

    Tech Tips

    Порядок выполнения работ такой же, как для левой стороны.

  44. УСТАНОВИТЕ ЗАДНЮЮ ВЫПУСКНУЮ ТРУБУ В СБОРЕ

    Для моделей с 1AD-FTV: Нажмите здесь Click here

    Для моделей с 1ZR-FAE: Нажмите здесь Click here

  45. УСТАНОВИТЕ ЗАДНИЕ КОЛЕСА

    Torque:
    103 Н*м  { 1050 кгс*см, 76 фунт-сила-футов }
  46. ОКОНЧАТЕЛЬНО ЗАКРЕПИТЕ ЛЕВЫЙ РЫЧАГ ЗАДНЕЙ ПОДВЕСКИ № 1 В СБОРЕ

    Нажмите здесь Click here

  47. ОКОНЧАТЕЛЬНО ЗАКРЕПИТЕ ПРАВЫЙ РЫЧАГ ЗАДНЕЙ ПОДВЕСКИ № 1 В СБОРЕ

    Tech Tips

    Порядок выполнения работ такой же, как для левой стороны.

  48. ПРОВЕРЬТЕ И ОТРЕГУЛИРУЙТЕ УГЛЫ УСТАНОВКИ ЗАДНИХ КОЛЕС

    Нажмите здесь Click here

  49. ПРОВЕРЬТЕ СИГНАЛ ДАТЧИКА ЧАСТОТЫ ВРАЩЕНИЯ

    Нажмите здесь Click here