БАЛКА ЗАДНЕГО МОСТА УСТАНОВКА

ПОРЯДОК ВЫПОЛНЕНИЯ


  1. УСТАНОВИТЕ ЛЕВУЮ ОПОРНУЮ ВТУЛКУ КУЛАКА ЗАДНЕЙ ПОДВЕСКИ


    1. При повторном использовании балки заднего моста в сборе:


      1. A00Y9N9C01
        *a Метка

        Совместите метку-стрелку на новой левой опорной втулке кулака задней подвески с меткой на балке заднего моста в сборе и предварительно закрепите левую опорную втулку кулака задней подвески на балке заднего моста в сборе

        Note

        Опорная втулка кулака задней подвески должна устанавливаться с такой же ориентацией, какую она имела до снятия. Опорная втулка кулака задней подвески устанавливается с определенной ориентацией.

    2. A00Y5G1C02
      *a Стрелка
      *b 75°
      A00Y51D Верхняя сторона автомобиля
      A00YA05 Передняя сторона автомобиля

      При использовании новой балки заднего моста:


      1. Временно закрепите новую левую опорную втулку кулака задней подвески, как показано на рисунке.

        Note

        Опорную втулку кулака задней подвески следует устанавливать, как показано на рисунке. Опорная втулка кулака задней подвески устанавливается с определенной ориентацией.

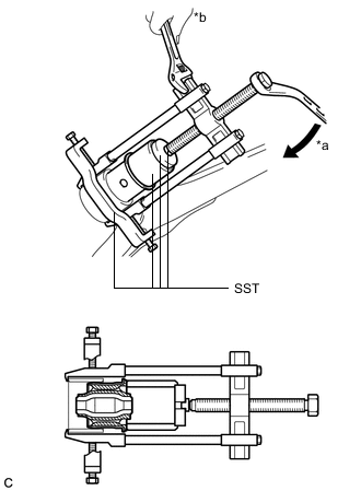
    3. A00Y5RXC03
      *a Поверните
      *b Удерживайте

      С помощью SST установите левую опорную втулку кулака задней подвески на балку заднего моста в сборе.

      SST
      09710-30012   ( 09710-04101 )
      09950-40011   ( 09951-04020, 09952-04010, 09953-04030, 09954-04020, 09955-04051, 09957-04010, 09958-04011 )
      09950-60010   ( 09951-00620 )

      Note


      • При установке опорной втулки кулака задней подвески соблюдайте осторожность, чтобы не повредить резиновую часть.

      • Перед использованием нанесите универсальную консистентную смазку на резьбу и конец центрального болта SST.

  2. УСТАНОВИТЕ ПРАВУЮ ОПОРНУЮ ВТУЛКУ КУЛАКА ЗАДНЕЙ ПОДВЕСКИ

    Tech Tips

    Порядок выполнения работ такой же, как для левой стороны.

  3. ПРЕДВАРИТЕЛЬНО ЗАКРЕПИТЕ БАЛКУ ЗАДНЕГО МОСТА В СБОРЕ


    1. Медленно поднимите балку заднего моста в сборе с помощью подъемника двигателя, 2 деревянных брусков и 2 переходников или аналогичных приспособлений, и предварительно закрепите ее на кузове 2 болтами (B).

      A00Y7O9C06
      *a Подъемник двигателя *b Деревянный брусок
      *c Переходник - -

      CAUTION:

      Обязательно закрепите балку заднего моста в сборе, чтобы не допустить ее падения.

    2. Предварительно закрепите балку заднего моста в сборе на правом и левом задних амортизаторах в сборе с помощью 2 болтов (A) и 2 гаек.

      Note

      Поскольку гайки снабжена фиксаторами, не поворачивайте их. При затягивании болтов гайки должны оставаться неподвижными.

      Tech Tips

      Резьбовые концы вставляемых болтов должны быть обращены наружу автомобиля.

  4. УСТАНОВИТЕ НИЖНЮЮ ИЗОЛИРУЮЩУЮ ПРОКЛАДКУ ЛЕВОЙ ЗАДНЕЙ ЦИЛИНДРИЧЕСКОЙ ВИНТОВОЙ ПРУЖИНЫ

    Нажмите здесь Click here

  5. УСТАНОВИТЕ НИЖНЮЮ ИЗОЛИРУЮЩУЮ ПРОКЛАДКУ ПРАВОЙ ЗАДНЕЙ ЦИЛИНДРИЧЕСКОЙ ВИНТОВОЙ ПРУЖИНЫ

    Tech Tips

    Порядок выполнения работ такой же, как для левой стороны.

  6. УСТАНОВИТЕ ВЕРХНЮЮ ИЗОЛИРУЮЩУЮ ПРОКЛАДКУ ЛЕВОЙ ЗАДНЕЙ ЦИЛИНДРИЧЕСКОЙ ВИНТОВОЙ ПРУЖИНЫ

    Нажмите здесь Click here

  7. УСТАНОВИТЕ ВЕРХНЮЮ ИЗОЛИРУЮЩУЮ ПРОКЛАДКУ ПРАВОЙ ЗАДНЕЙ ЦИЛИНДРИЧЕСКОЙ ВИНТОВОЙ ПРУЖИНЫ

    Tech Tips

    Порядок выполнения работ такой же, как для левой стороны.

  8. УСТАНОВИТЕ ЛЕВУЮ ЗАДНЮЮ ЦИЛИНДРИЧЕСКУЮ ВИНТОВУЮ ПРУЖИНУ

    Нажмите здесь Click here

  9. УСТАНОВИТЕ ЗАДНЮЮ ПРАВУЮ ЦИЛИНДРИЧЕСКУЮ ВИНТОВУЮ ПРУЖИНУ

    Tech Tips

    Порядок выполнения работ такой же, как для левой стороны.

  10. УСТАНОВИТЕ ЗАДНИЙ ДАТЧИК ВЫСОТЫ ПОДВЕСКИ В СБОРЕ (для моделей с датчиком высоты подвески)

    Нажмите здесь Click here

  11. УСТАНОВИТЕ СТУПИЦУ И ПОДШИПНИК ЗАДНЕГО ЛЕВОГО КОЛЕСА В СБОРЕ

    Нажмите здесь Click here

  12. УСТАНОВИТЕ СТУПИЦУ И ПОДШИПНИК ЗАДНЕГО ПРАВОГО КОЛЕСА В СБОРЕ

    Tech Tips

    Порядок выполнения работ такой же, как для левой стороны.

  13. ПОДСОЕДИНИТЕ ТРУБОПРОВОД ЗАДНЕГО ТОРМОЗА № 4


    1. Установите задний трубопровод тормозной системы № 4 на балку заднего моста в сборе и закрепите гайкой.

      Torque:
      8,5 Н*м  { 87 кгс*см, 75 фунт-сила-дюймов }
  14. ПОДСОЕДИНИТЕ ТРУБОПРОВОД ЗАДНЕГО ТОРМОЗА № 3

    Tech Tips

    Выполните те же действия, что и для заднего трубопровода тормозной системы № 4.

  15. УСТАНОВИТЕ ГИБКИЙ ШЛАНГ ЗАДНЕГО ТРУБОПРОВОДА ТОРМОЗНОЙ СИСТЕМЫ (для левой стороны)


    1. Установите гибкий шланг заднего трубопровода тормозной системы и закрепите его болтом.

      Torque:
      19 Н*м  { 194 кгс*см, 14 фунт-сила-футов }
    2. С помощью разрезной головки подсоедините гибкий шланг заднего тормоза к заднему трубопроводу тормозной системы № 4.

      Torque:
      15,2Н*м  { 155 кгс*см, 11 фунт-сила-футов }

      Note


      • Соблюдайте осторожность, чтобы не перекрутить и не повредить трубопровод тормозной системы.

      • Не допускайте попадания в трубопровод тормозной системы со стороны соединений посторонних частиц, например, грязи или пыли.

      • Если совместно с динамометрическим ключом используется разрезная головка, используйте формулу для расчета заданных моментов затяжки.

        Нажмите здесь Click here

  16. УСТАНОВИТЕ ГИБКИЙ ШЛАНГ ЗАДНЕГО ТРУБОПРОВОДА ТОРМОЗНОЙ СИСТЕМЫ (для правой стороны)


    1. Установите гибкий шланг заднего трубопровода тормозной системы и закрепите его новым фиксатором.

      Note

      Установите зажим до упора.

    2. С помощью разрезной головки подсоедините гибкий шланг заднего тормоза к заднему трубопроводу тормозной системы № 3.

      Torque:
      15,2Н*м  { 155 кгс*см, 11 фунт-сила-футов }

      Note


      • Соблюдайте осторожность, чтобы не перекрутить и не повредить трубопровод тормозной системы.

      • Не допускайте попадания в трубопровод тормозной системы со стороны соединений посторонних частиц, например, грязи или пыли.

      • Если совместно с динамометрическим ключом используется разрезная головка, используйте формулу для расчета заданных моментов затяжки.

        Нажмите здесь Click here

  17. УСТАНОВИТЕ ЗАДНИЙ ТОРМОЗНОЙ ДИСК


    1. Установите 2 задних диска.

      Нажмите здесь Click here

  18. УСТАНОВИТЕ ЛЕВЫЙ СУППОРТ ЗАДНЕГО ДИСКОВОГО ТОРМОЗА В СБОРЕ


    1. Установите левый суппорт заднего дискового тормоза в сборе вместе с левым задним гибким шлангом и закрепите 2 болтами.

      Torque:
      72 Н*м  { 734 кгс*см, 53 фунт-сила-фута }
    2. Подсоедините левый задний гибкий шланг к балке заднего моста в сборе с помощью нового фиксатора.

      Note

      Установите зажим до упора.

    3. С помощью разрезной головки подсоедините задний трубопровод тормозной системы № 4 к левому заднему гибкому шлангу, удерживая гибкий шланг гаечным ключом.

      Torque:
      15,2Н*м  { 155 кгс*см, 11 фунт-сила-футов }

      Note


      • Соблюдайте осторожность, чтобы не перекрутить и не повредить трубопровод тормозной системы.

      • Не допускайте попадания в трубопровод тормозной системы со стороны соединений посторонних частиц, например, грязи или пыли.

      • Если совместно с динамометрическим ключом используется разрезная головка, используйте формулу для расчета заданных моментов затяжки.

        Нажмите здесь Click here

  19. УСТАНОВИТЕ СУППОРТ ЗАДНЕГО ПРАВОГО ДИСКОВОГО ТОРМОЗА В СБОРЕ

    Tech Tips

    Порядок выполнения работ такой же, как для левой стороны.

  20. УСТАНОВИТЕ ТРОС ПРИВОДА СТОЯНОЧНОГО ТОРМОЗА № 3 В СБОРЕ


    1. Установите трос привода стояночного тормоза № 3 в сборе на балку заднего моста в сборе и закрепите болтом.

      Torque:
      6,0 Н*м  { 61 кгс*см, 53 фунт-сила-дюйма }
    2. Подсоедините трос привода стояночного тормоза № 3 в сборе.

      Нажмите здесь Click here

  21. УСТАНОВИТЕ ТРОС ПРИВОДА СТОЯНОЧНОГО ТОРМОЗА № 2 В СБОРЕ

    Tech Tips

    Выполните те же действия, что и для троса привода стояночного тормоза № 3 в сборе.

  22. УСТАНОВИТЕ ПРОВОД ЛЕВОГО ДАТЧИКА СИСТЕМЫ ПРОТИВОСКОЛЬЖЕНИЯ

    Нажмите здесь Click here

  23. УСТАНОВИТЕ ПРОВОД ПРАВОГО ДАТЧИКА СИСТЕМЫ ПРОТИВОСКОЛЬЖЕНИЯ

    Tech Tips

    Порядок выполнения работ такой же, как для левой стороны.

  24. УСТАНОВИТЕ СКОБУ БОКОВОГО ЗАЩИТНОГО БРУСА ЗАДНЕГО ПОЛА В СБОРЕ


    1. Установите скобу бокового защитного бруса заднего пола в сборе и закрепите ее 4 болтами и фиксатором.

      Torque:
      54 Н*м  { 551 кгс*см, 40 фунт-сила-футов }
  25. УСТАНОВИТЕ НАКЛАДКУ ЛЕВОГО БОКОВОГО БРУСА ЗАДНЕГО ПОЛА


    1. Установите накладку левого бокового защитного бруса заднего пола и закрепите ее гайкой и 2 болтами.

  26. УСТАНОВИТЕ НАКЛАДКУ ПРАВОГО БОКОВОГО БРУСА ЗАДНЕГО ПОЛА


    1. Установите накладку правого бокового защитного бруса заднего пола и закрепите ее гайкой и 2 болтами.

  27. ОТРЕГУЛИРУЙТЕ СТОЯНОЧНЫЙ ТОРМОЗ

    Нажмите здесь Click here

  28. УСТАНОВИТЕ ВЕРХНЮЮ ПАНЕЛЬ КОНСОЛИ В СБОРЕ

    Нажмите здесь Click here

  29. ЗАЛЕЙТЕ ТОРМОЗНУЮ ЖИДКОСТЬ В БАЧОК

  30. УДАЛИТЕ ВОЗДУХ ИЗ ТРУБОПРОВОДА ТОРМОЗНОЙ СИСТЕМЫ

    Нажмите здесь Click here

  31. УСТАНОВИТЕ ЗАДНИЕ КОЛЕСА

    Torque:
    103 Н*м  { 1050 кгс*см, 76 фунт-сила-футов }
  32. ДОБЕЙТЕСЬ УСТОЙЧИВОСТИ ПОДВЕСКИ

    Нажмите здесь Click here

  33. ОКОНЧАТЕЛЬНО ЗАКРЕПИТЕ БАЛКУ ЗАДНЕГО МОСТА В СБОРЕ

    Нажмите здесь Click here

  34. УСТАНОВИТЕ ПОДКРЫЛОК АРКИ ЛЕВОГО ЗАДНЕГО КОЛЕСА (для моделей с подкрылками арок задних колес)

    Нажмите здесь Click here

  35. УСТАНОВИТЕ ПОДКРЫЛОК АРКИ ПРАВОГО ЗАДНЕГО КОЛЕСА (для моделей с подкрылками арок задних колес)

    Tech Tips

    Порядок выполнения работ такой же, как для левой стороны.

  36. ПРОВЕРЬТЕ РЕГУЛИРОВКУ УГЛОВ УСТАНОВКИ ЗАДНИХ КОЛЕС

    Нажмите здесь Click here

  37. ПРОВЕРЬТЕ СИГНАЛ ДАТЧИКА ЧАСТОТЫ ВРАЩЕНИЯ

    Для моделей без VSC: Нажмите здесь Click here

    Для моделей с VSC: Нажмите здесь Click here