ROOF HEADLINING(for Sedan) REMOVAL

PROCEDURE


  1. REMOVE FRONT SEAT ASSEMBLY LH

    Click here

  2. REMOVE FRONT SEAT ASSEMBLY RH

    Tech Tips

    Use the same procedure as for the LH side.

  3. REMOVE REAR SEAT ASSEMBLY

    Click here

  4. REMOVE FRONT DOOR SCUFF PLATE LH


    1. A01TCBC

      Disengage the 10 claws to remove the front door scuff plate LH.

  5. REMOVE COWL SIDE TRIM BOARD LH


    1. A01TBOU

      Remove the clip.

    2. Disengage the claw and clip to remove the cowl side trim board LH.

  6. REMOVE FRONT DOOR OPENING TRIM WEATHERSTRIP LH


    1. Remove the front door opening trim weatherstrip LH.

  7. REMOVE FRONT PILLAR GARNISH LH (w/o Curtain Shield Airbag)


    1. A01T9NMN01

      Pull the upper part of the front pillar garnish LH in the direction indicated by the arrow (1) in the illustration to disengage the 2 clips.

    2. Pull the garnish in the direction indicated by the arrow (2) in the illustration to disengage the 3 guides and remove the front pillar garnish LH.

  8. REMOVE FRONT PILLAR GARNISH LH (w/ Curtain Shield Airbag)


    1. A01T910C01
      *a Front Pillar Garnish Clip

      Pull the upper part of the front pillar garnish LH toward the inside of the cabin and disengage the front pillar garnish LH from the base of the 2 clips.

      Tech Tips

      Let the front pillar garnish LH hang from the front pillar garnish clip.

    2. A01T9AEC01
      *a Protective Tape
      *b 90°

      Using needle-nose pliers with the tips wrapped with protective tape, rotate the front pillar garnish clip 90° in the direction indicated by the arrow (1) shown in the illustration.

    3. Pull the front pillar garnish LH in the direction indicated by the arrow (2) shown in the illustration to disengage it from the front pillar garnish clip.

      Note


      • A front pillar garnish clip is reusable if it is not removed from the vehicle and is not damaged.

      • Replace the front pillar garnish clip with a new one if it is removed from the vehicle.

    4. Pull the front pillar garnish LH in the direction indicated by the arrow (3) shown in the illustration to disengage the 3 guides and remove the front pillar garnish LH.

    5. A01TBXVC01
      *1 Curtain Shield Airbag Assembly LH
      *a Protective Cover
      *b Adhesive Tape

      Protect the curtain shield airbag assembly LH.


      1. Cover the curtain shield airbag assembly LH with a piece of cloth or nylon and secure the edges of the cover with tape as shown in the illustration.

        Note

        Cover the curtain shield airbag assembly LH with a protective cover as soon as the front pillar garnish is removed.

  9. REMOVE REAR DOOR SCUFF PLATE LH


    1. A01T92R

      Disengage the 8 claws to remove the rear door scuff plate LH.

  10. REMOVE REAR DOOR OPENING TRIM WEATHERSTRIP LH


    1. Remove the rear door opening trim weatherstrip LH.

  11. REMOVE LAP BELT OUTER ANCHOR COVER (for LH Side)

    Click here

  12. DISCONNECT FRONT SEAT OUTER BELT ASSEMBLY LH

    Click here

  13. REMOVE CENTER PILLAR LOWER GARNISH LH


    1. A01TBH8

      Disengage the 2 claws, 3 clips and 2 guides to remove the center pillar lower garnish LH.

  14. REMOVE CENTER PILLAR UPPER GARNISH LH


    1. A01TD0I

      Remove the 2 screws.

    2. Disengage the clip.

    3. Pass the floor anchor of the front seat outer belt assembly LH through the center pillar upper garnish LH to remove it.

  15. REMOVE FRONT DOOR SCUFF PLATE RH

    Tech Tips

    Use the same procedure as for the LH side.

  16. REMOVE COWL SIDE TRIM BOARD RH

    Tech Tips

    Use the same procedure as for the LH side.

  17. REMOVE FRONT DOOR OPENING TRIM WEATHERSTRIP RH

    Tech Tips

    Use the same procedure as for the LH side.

  18. REMOVE FRONT PILLAR GARNISH RH (w/o Curtain Shield Airbag)

    Tech Tips

    Use the same procedure as for the LH side.

  19. REMOVE FRONT PILLAR GARNISH RH (w/ Curtain Shield Airbag)

    Tech Tips

    Use the same procedure as for the LH side.

  20. REMOVE REAR DOOR SCUFF PLATE RH

    Tech Tips

    Use the same procedure as for the LH side.

  21. REMOVE REAR DOOR OPENING TRIM WEATHERSTRIP RH

    Tech Tips

    Use the same procedure as for the LH side.

  22. REMOVE LAP BELT OUTER ANCHOR COVER (for RH Side)

    Tech Tips

    Use the same procedure as for the LH side.

  23. DISCONNECT FRONT SEAT OUTER BELT ASSEMBLY RH

    Tech Tips

    Use the same procedure as for the LH side.

  24. REMOVE CENTER PILLAR LOWER GARNISH RH

    Tech Tips

    Use the same procedure as for the LH side.

  25. REMOVE CENTER PILLAR UPPER GARNISH RH

    Tech Tips

    Use the same procedure as for the LH side.

  26. REMOVE REAR SEATBACK HINGE SUB-ASSEMBLY (for LH Side)


    1. A01TB8W

      Loosen the bolt to remove the rear seatback hinge sub-assembly.

  27. REMOVE REAR SEAT SIDE GARNISH LH


    1. A01T9SPN01

      Disengage the clip (A).

    2. Disengage the 2 claws and 2 clips (B), and remove the rear seat side garnish LH.

  28. REMOVE ROOF SIDE INNER GARNISH ASSEMBLY LH


    1. A01TD9P

      Disengage the 4 clips and 3 guides to remove the roof side inner garnish assembly LH.

  29. REMOVE REAR SEATBACK HINGE SUB-ASSEMBLY (for RH Side)

    Tech Tips

    Use the same procedure as for the LH side.

  30. REMOVE REAR SEAT SIDE GARNISH RH

    Tech Tips

    Use the same procedure as for the LH side.

  31. REMOVE ROOF SIDE INNER GARNISH ASSEMBLY RH

    Tech Tips

    Use the same procedure as for the LH side.

  32. REMOVE UPPER INSTRUMENT PANEL

    Click here

  33. REMOVE FRONT CONSOLE BOX

    Click here

  34. REMOVE INNER REAR VIEW MIRROR STAY HOLDER COVER (w/ EC Mirror)

    Click here

  35. REMOVE RAIN SENSOR COVER (w/ Rain Sensor)

    Click here

  36. REMOVE PRE-CRASH SAFETY CITY COVER 2ND (w/ Pre-crash Safety System)

    Click here

  37. REMOVE PRE-CRASH SAFETY CITY COVER (w/ Pre-crash Safety System)

    Click here

  38. REMOVE MAP LIGHT ASSEMBLY

    Click here

  39. REMOVE NO. 1 ROOM LIGHT ASSEMBLY

    Click here

  40. REMOVE ROOF HEADLINING SERVICE HOLE COVER (for Driver Side without Assist Grip)


    1. A01T9LW

      Using a clip remover, remove the 2 roof headlining service hole covers.

  41. REMOVE ASSIST GRIP SUB-ASSEMBLY

    Click here

  42. REMOVE REAR ASSIST GRIP ASSEMBLY (for Driver Side)

    Tech Tips

    Use the same procedure as for the assist grip sub-assembly.

  43. REMOVE VISOR ASSEMBLY LH

    Click here

  44. REMOVE VISOR ASSEMBLY RH

    Tech Tips

    Use the same procedure as for the LH side.

  45. REMOVE ROOF HEADLINING ASSEMBLY


    1. w/ EC Mirror:


      1. Disconnect the connector.

    2. w/ Rain Sensor:


      1. Disconnect the connector.

    3. w/Pre-crash Safety System:


      1. Disconnect the connector.

    4. A01TANH

      for LHD Front Pillar LH Side:


      1. Disconnect the connector.

      2. Using a clip remover, disengage the 6 clamps.

    5. A01TBIA

      for RHD Front Pillar LH Side:


      1. Disconnect the connector.

      2. Using a clip remover, disengage the 5 clamps.

    6. A01TAU1

      for Front Pillar RH Side:


      1. Disconnect each connector.

      2. Using a clip remover, disengage the 3 clamps.

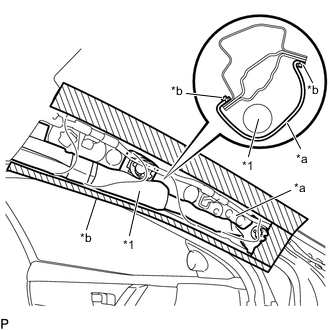
    7. A01TD07C01
      *a Guide
      *b Clamp

      for Rear Pillar RH Side:


      1. Remove the bolt.

      2. Disengage the 2 guides.

      3. Using a clip remover, disengage the clamp.

      4. Disconnect each connector.

    8. A01TCYLC08
      *a 45°

      Turn the visor holder approximately 45° and pull it out as indicated by the arrows, in the order shown in the illustration.

      Tech Tips

      Use the same procedure for the RH side and LH side.

    9. Disengage the 2 claws to remove the visor holder.

      Tech Tips

      Use the same procedure for the RH side and LH side.

    10. Using a clip remover, remove the 3 clips.

      A01TB6P
    11. Disengage the 2 guides.

    12. A01TATX

      Remove the roof headlining assembly from the vehicle through the rear passenger door as shown in the illustration.

      Note

      Do not damage the roof headlining assembly or vehicle interior.