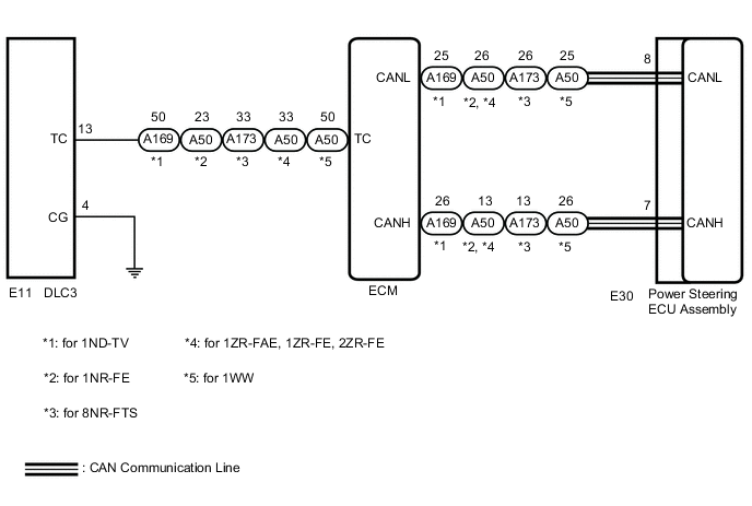
POWER STEERING SYSTEM TC and CG Terminal Circuit

DESCRIPTION

Connecting terminals TC and CG of the DLC3 causes the ECU to display DTCs by blinking the EPS warning light.

WIRING DIAGRAM

B0042O7E01

CAUTION / NOTICE / HINT

Note

If the power steering ECU assembly has been replaced with a new one, perform assist map writing and torque sensor zero point calibration.

Click here

Tech Tips

When the warning lights continue to blink, a ground short in the wiring of terminal TC of the DLC3 or an internal ground short in one or more ECUs is suspected.

PROCEDURE


  1. CHECK CAN COMMUNICATION SYSTEM


    1. Check for DTCs.

      w/ Central Gateway ECU: Click here

      w/o Central Gateway ECU: Click here

      Result
      Result Proceed to
      DTCs are not output. A
      DTCs are output. B

    B
    A
  2. CHECK HARNESS AND CONNECTOR (TC of DLC3 - ECM)


    1. Turn the ignition switch off.

    2. Disconnect the A169, A50 or A173 ECM connector.

    3. Measure the resistance according to the value(s) in the table below.

      Standard Resistance
      for 1ND-TV
      Tester Connection Condition Specified Condition
      E11-13(TC) - A169-50(TC) Always Below 1 Ω
      E11-13 (TC) or A169-50(TC)- Body ground Always 10 kΩ or higher
      for 1NR-FE
      Tester Connection Condition Specified Condition
      E11-13(TC) - A50-23(TC) Always Below 1 Ω
      E11-13 (TC) or A50-23(TC)- Body ground Always 10 kΩ or higher
      for 8NR-FTS
      Tester Connection Condition Specified Condition
      E11-13(TC) - A173-33(TC) Always Below 1 Ω
      E11-13 (TC) or A173-33(TC)- Body ground Always 10 kΩ or higher
      for 1ZR-FAE, 1ZR-FE, 2ZR-FE
      Tester Connection Condition Specified Condition
      E11-13(TC) - A50-33(TC) Always Below 1 Ω
      E11-13 (TC) or A50-33(TC)- Body ground Always 10 kΩ or higher
      for 1WW
      Tester Connection Condition Specified Condition
      E11-13(TC) - A50-50(TC) Always Below 1 Ω
      E11-13 (TC) or A50-50(TC)- Body ground Always 10 kΩ or higher
      Result
      Proceed to
      OK
      NG

    NG
    OK
  3. CHECK HARNESS AND CONNECTOR (CG of DLC3 - BODY GROUND)


    1. B0043SMC28
      *a Front view of DLC3

      Measure the resistance according to the value(s) in the table below.

      Standard Resistance
      Tester Connection Condition Specified Condition
      E11-4 (CG) - Body ground Always Below 1 Ω

      Tech Tips

      If troubleshooting has been carried out according to Problem Symptoms Table, refer back to the table and proceed to the next step before replacing the part.

      Click here

      Result
      Proceed to
      OK
      NG

    OK
    NG