СИСТЕМА ИЗМЕРИТЕЛЬНЫХ ПРИБОРОВ И ИНДИКАТОРОВ Подсветка щитка приборов не гасится ночью

ОПИСАНИЕ

Для моделей с мультиинформационным дисплеем:

Если переключатель света фар устанавливается в положение TAIL, HEAD или AUTO, главный ЭБУ кузова передает сигнал реле TAIL, сигнал подсветки панели приборов, сигнал реле панели приборов и сигнал выключения выключателя задних фонарей в щиток приборов. Яркость подсветки щитка приборов и вспомогательного оборудования понижается.

Tech Tips

Выключатель задних фонарей: Когда фары включены и выключатель задних фонарей включен, яркость подсветки щитка приборов не понижается.

СХЕМА ЭЛЕКТРИЧЕСКИХ СОЕДИНЕНИЙ

A01X592E01

ПОРЯДОК ВЫПОЛНЕНИЯ


  1. ПРОВЕРЬТЕ СИСТЕМУ ПЕРЕДАЧИ ДАННЫХ CAN


    1. Проверьте коды DTC (см. стр. Click here).

      Результат
      Результат Перейти к
      DTC системы передачи данных CAN не выводятся А
      DTC системы передачи данных CAN выводится (для моделей с левосторонним рулевым управлением) B
      DTC системы передачи данных CAN выводится (для моделей с правосторонним рулевым управлением) C

    B
    C
    А
  2. СНИМИТЕ ПОКАЗАНИЯ ПОРТАТИВНОГО ДИАГНОСТИЧЕСКОГО ПРИБОРА (РЕОСТАТ РЕГУЛИРОВКИ ОСВЕЩЕНИЯ)


    1. Действуя в соответствии с указаниями на дисплее портативного диагностического прибора, выберите режим Data List (см. стр. Click here).

      Щиток приборов
      Информация на дисплее прибора Измеряемая величина / диапазон измерения Нормальное состояние Замечание по диагностике
      Tail Cancel SW* Состояние выключателя задних фонарей / ON (ВКЛ) или OFF (ВЫКЛ)

      ON (ВКЛ): Выключатель задних фонарей включен

      OFF (ВЫКЛ): Выключатель задних фонарей выключен

      -
      Rheostat value Входной сигнал выключателя реостата регулировки освещения / мин.: 0, макс.: 100 Кнопка реостата регулировки освещения повернута до упора вправо (0) → до упора влево (100) Единицы: %

      Tech Tips

      *: Для моделей с выключателем задних фонарей

      OK
      Яркость освещения можно изменять в требуемых пределах в ручном режиме.

    OK
    NG
  3. ПРОВЕРЬТЕ РЕОСТАТ РЕГУЛИРОВКИ ОСВЕЩЕНИЯ


    1. Проверьте реостат регулировки освещения.

      A01WZT4E04

      1. Снимите реостат регулировки освещения (см. стр. Click here).

      2. Измерьте сопротивление в соответствии со значениями, приведенными в таблице ниже.

        Номинальное сопротивление
        Подключение диагностического прибора Положение переключателя Заданные условия
        6 (TC) - 1 (E) Выключатель задних фонарей выключен → включен 10 кОм или более → менее 1 Ом
        5 (T) - 1 (E) Всегда 10 кОм или более
        7 (TR) - 1 (E) Кнопка реостата регулировки освещения повернута до упора вправо → до упора влево 10 кОм или более → менее 100 Ом
    2. Проверьте переключатель ODO/TRIP


      1. Измерьте сопротивление в соответствии со значениями, приведенными в таблице ниже.

        Номинальное сопротивление
        Подключение диагностического прибора Положение переключателя Заданные условия
        4 (A/B) - 1 (E) Переключатель ТRIP включен (нажат) Менее 200 Ом
        Переключатель ТRIP выключен (не нажат) 1 МОм или более

    NG
    OK
  4. ПРОВЕРЬТЕ ЖГУТ ПРОВОДОВ И РАЗЪЕМ (ЩИТОК ПРИБОРОВ - РЕОСТАТ РЕГУЛИРОВКИ ОСВЕЩЕНИЯ)


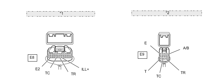
    1. Отсоедините разъем E8 щитка приборов.

      A01X0AZE02
      *1 Вид сзади разъема со стороны жгута проводов: (к щитку приборов в сборе)
      *2 Вид сзади разъема со стороны жгута проводов: (к реостату регулировки освещения)
    2. Отсоедините разъем E9 реостата.

    3. Измерьте сопротивление в соответствии со значениями, приведенными в таблице ниже.

      Номинальное сопротивление
      Подключение диагностического прибора Условие Заданные условия
      E8-18 (ILL+) - E9-5 (T) Всегда Менее 1 Ом
      E8-19 (TR) - E9-7 (TR)
      E8-23 (E2) - E9-1 (E)
      E8-20 (TC) - E9-6 (TC)

    OK
    NG