СИСТЕМА ПЕРЕДАЧИ ДАННЫХ CAN (для моделей с правосторонним рулевым управлением) Обрыв в главной шине CAN

ОПИСАНИЕ

В главной шине CAN и/или вспомогательной шине CAN разъема DLC3 может быть обрыв, если сопротивление между контактами 6 (CANH) и 14 (CANL) разъема DLC3 составляет 69 Ом и более.

Признак Неисправный участок
Сопротивление между контактами 6 (CANH) и 14 (CANL) разъема DLC3 составляет не менее 69 Ом.
  • Главная шина CAN и разъем

  • Разъем распределительного блока № 1

  • Разъем распределительного блока № 2

  • Разъем распределительного блока № 3

  • ECM

  • Щиток приборов в сборе

  • Разъем или вспомогательная шина CAN DLC3

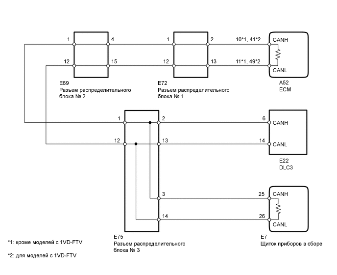
СХЕМА ЭЛЕКТРИЧЕСКИХ СОЕДИНЕНИЙ

A01X37GE02

ПРЕДОСТЕРЕЖЕНИЕ / ПРИМЕЧАНИЕ / УКАЗАНИЕ

Tech Tips

Управление замком зажигания, любыми выключателями или связанными с дверными защелками ЭБУ и датчиками, обмен данными с которыми осуществляется посредством сети CAN, приводит к колебанию сопротивления.

ПОРЯДОК ВЫПОЛНЕНИЯ


  1. МЕРЫ ПРЕДОСТОРОЖНОСТИ

    Note

    После выключения зажигания следует подождать некоторое время, прежде чем отсоединять провод от вывода аккумуляторной батареи. Поэтому, прежде чем приступать к этой работе, обязательно ознакомьтесь с примечанием относительно отсоединения провода от вывода аккумуляторной батареи (см. стр. Click here).


    ДАЛЕЕ
  2. ОТСОЕДИНИТЕ ПРОВОД ОТ ОТРИЦАТЕЛЬНОГО ВЫВОДА АККУМУЛЯТОРНОЙ БАТАРЕИ


    1. Отсоедините провод от отрицательного (-) вывода аккумуляторной батареи перед измерением сопротивления главной и вспомогательной шин CAN.

      CAUTION:

      Для автомобилей с системой SRS:

      После отсоединения провода от отрицательного (-) вывода аккумуляторной батареи подождите не менее 90 с, чтобы предотвратить срабатывание системы SRS.

      Note

      После подсоединения провода необходимо инициализировать некоторые системы (см. стр. Click here).


    ДАЛЕЕ
  3. ПРОВЕРЬТЕ ШИНУ CAN НА ОБРЫВ (РАЗЪЕМ РАСПРЕДЕЛИТЕЛЬНОГО БЛОКА № 3 - DLC3)


    1. A01X8T3E02
      Обозначения на рисунке
      *a Вид спереди разъема DLC3

      Измерьте сопротивление в соответствии со значениями, приведенными в таблице ниже.

      Номинальное сопротивление
      Подключение диагностического прибора Положение переключателя Заданные условия
      E22-6 (CANH) - E22-14 (CANL) Зажигание выключено 108 - 132 Ом

      Note

      Если измеренное значение сопротивления составляет 133 Ом или выше, и выводится диагностический код неисправности для системы передачи данных CAN, возможно, существует какая-либо неисправность помимо отсоединения вспомогательной шины DLC3. В связи с этим, после ремонта неисправного участка необходимо выполнить поиск неисправности еще раз, следуя указаниям, приведенным в разделе "Процедура поиска неисправностей" (см. стр. Click here).


    NG
    OK
  4. ПРОВЕРЬТЕ ГЛАВНУЮ ШИНУ CAN НА ОБРЫВ (РАЗЪЕМ РАСПРЕДЕЛИТЕЛЬНОГО БЛОКА № 2 - ЕСМ)


    1. A01WZ00E02
      Обозначения на рисунке
      *a

      Вид сзади разъема со стороны жгута проводов

      (к разъему распределительного блока № 2)

      Отсоедините разъем E69 распределительного блока № 2.

    2. Измерьте сопротивление в соответствии со значениями, приведенными в таблице ниже.

      Номинальное сопротивление
      Подключение диагностического прибора Положение переключателя Заданные условия
      E69-4 (CANH) - E69-15 (CANL) Замок зажигания в положении OFF (ВЫКЛ) 108 - 132 Ом

    NG
    OK
  5. ПРОВЕРЬТЕ ГЛАВНУЮ ШИНУ CAN НА ОБРЫВ (РАЗЪЕМ РАСПРЕДЕЛИТЕЛЬНОГО БЛОКА № 2 - ЩИТОК ПРИБОРОВ)


    1. A01WZKPE02
      Обозначения на рисунке
      *a

      Вид сзади разъема со стороны жгута проводов

      (к разъему распределительного блока № 2)

      Измерьте сопротивление в соответствии со значениями, приведенными в таблице ниже.

      Номинальное сопротивление
      Подключение диагностического прибора Положение переключателя Заданные условия
      E69-1 (CANH) - E69-12 (CANL) Зажигание выключено 108 - 132 Ом

    OK
    NG
  6. ПОДСОЕДИНИТЕ РАЗЪЕМ


    1. Подсоедините разъем E69 распределительного блока № 2.


    ДАЛЕЕ
  7. ПРОВЕРЬТЕ ГЛАВНУЮ ШИНУ CAN НА ОБРЫВ (РАЗЪЕМ РАСПРЕДЕЛИТЕЛЬНОГО БЛОКА № 1 - ЕСМ)


    1. A01XA2UE02
      Обозначения на рисунке
      *a

      Вид сзади разъема со стороны жгута проводов

      (к разъему распределительного блока № 1)

      Отсоедините разъем E72 распределительного блока № 1.

    2. Измерьте сопротивление в соответствии со значениями, приведенными в таблице ниже.

      Номинальное сопротивление
      Подключение диагностического прибора Положение переключателя Заданные условия
      E72-2 (CANH) - E72-13 (CANL) Зажигание выключено 108 - 132 Ом

    NG
    OK
  8. ПРОВЕРЬТЕ ГЛАВНУЮ ШИНУ CAN НА ОБРЫВ (РАЗЪЕМ РАСПРЕДЕЛИТЕЛЬНОГО БЛОКА № 1 - РАЗЪЕМ РАСПРЕДЕЛИТЕЛЬНОГО БЛОКА № 2)


    1. A01X9NVE02
      Обозначения на рисунке
      *a

      Вид сзади разъема со стороны жгута проводов

      (к разъему распределительного блока № 1)

      Измерьте сопротивление в соответствии со значениями, приведенными в таблице ниже.

      Номинальное сопротивление
      Подключение диагностического прибора Положение переключателя Заданные условия
      E72-1 (CANH) - E72-12 (CANL) Зажигание выключено 108-132 Ом

    OK
    NG
  9. ПОДСОЕДИНИТЕ РАЗЪЕМ


    1. Подсоедините разъем E72 распределительного блока № 1.


    ДАЛЕЕ
  10. ПРОВЕРЬТЕ ГЛАВНУЮ ШИНУ CAN НА ОБРЫВ (ЕСМ - РАЗЪЕМ РАСПРЕДЕЛИТЕЛЬНОГО БЛОКА № 1)


    1. A01X505E02
      Обозначения на рисунке
      *A Кроме моделей с 1VD-FTV
      *B для моделей с 1VD-FTV
      *a

      Вид сзади разъема со стороны жгута проводов

      (к разъему распределительного блока № 1)

      Отсоедините разъем A52 ECM.

    2. Измерьте сопротивление в соответствии со значениями, приведенными в таблице ниже.

      Номинальное сопротивление
      Кроме моделей с 1VD-FTV
      Подключение диагностического прибора Положение переключателя Заданные условия
      A52-10 (CANH) - A52-11 (CANL) Зажигание выключено 108 - 132 Ом
      Для моделей с 1VD-FTV
      Подключение диагностического прибора Положение переключателя Заданные условия
      A52-41 (CANH) - A52-49 (CANL) Зажигание выключено 108 - 132 Ом
      Результат
      Результат Перейти к
      OK (для моделей с 1GR-FE) А
      OK (для моделей с 1UR-FE) B
      OK (для моделей с 1VD-FTV) C
      NG D

    А
    B
    C
    D
  11. ПОДСОЕДИНИТЕ РАЗЪЕМ


    1. Подсоедините разъем E69 распределительного блока № 2.


    ДАЛЕЕ
  12. ПРОВЕРЬТЕ ГЛАВНУЮ ШИНУ CAN НА ОБРЫВ (РАЗЪЕМ РАСПРЕДЕЛИТЕЛЬНОГО БЛОКА № 3 - ЩИТОК ПРИБОРОВ)


    1. A01X68WE02
      Обозначения на рисунке
      *a

      Вид сзади разъема со стороны жгута проводов

      (к разъему распределительного блока № 3)

      Отсоедините разъем E75 распределительного блока № 3.

    2. Измерьте сопротивление в соответствии со значениями, приведенными в таблице ниже.

      Номинальное сопротивление
      Подключение диагностического прибора Положение переключателя Заданные условия
      E75-3 (CANH) - E75-14 (CANL) Зажигание выключено 108 - 132 Ом

    NG
    OK
  13. ПРОВЕРЬТЕ ГЛАВНУЮ ШИНУ CAN НА ОБРЫВ (РАЗЪЕМ РАСПРЕДЕЛИТЕЛЬНОГО БЛОКА № 3 - РАЗЪЕМ РАСПРЕДЕЛИТЕЛЬНОГО БЛОКА № 2)


    1. A01XA7JE02
      Обозначения на рисунке
      *a

      Вид сзади разъема со стороны жгута проводов

      (к разъему распределительного блока № 3)

      Измерьте сопротивление в соответствии со значениями, приведенными в таблице ниже.

      Номинальное сопротивление
      Подключение диагностического прибора Положение переключателя Заданные условия
      E75-1 (CANH) - E75-12 (CANL) Зажигание выключено 108-132 Ом

    OK
    NG
  14. ПОДСОЕДИНИТЕ РАЗЪЕМ


    1. Подсоедините разъем E75 распределительного блока № 3.


    ДАЛЕЕ
  15. ПРОВЕРЬТЕ ГЛАВНУЮ ШИНУ CAN НА ОБРЫВ (ЩИТОК ПРИБОРОВ - РАЗЪЕМ РАСПРЕДЕЛИТЕЛЬНОГО БЛОКА № 3)


    1. A01X7KYE02
      Обозначения на рисунке
      *a

      Вид спереди разъема со стороны жгута проводов:

      (к щитку приборов в сборе)

      Отсоедините разъем E7 щитка приборов.

    2. Измерьте сопротивление в соответствии со значениями, приведенными в таблице ниже.

      Номинальное сопротивление
      Контакты для подключения диагностического прибора Положение переключателя Заданные условия
      E7-25 (CANH) - E7-26 (CANL) Зажигание выключено 108 - 132 Ом
      Результат
      Результат Перейти к
      OK (для моделей с мультиинформационным дисплеем) А
      OK (для моделей без мультиинформационного дисплея) B
      NG C

    А
    B
    C