СИСТЕМА ПЕРЕДАЧИ ДАННЫХ LIN, Diagnostic DTC:B1249

Код DTC Наименование DTC
B1249 Прекращение обмена данными с ЭБУ системы двойной блокировки

ОПИСАНИЕ

Код DTC B1249 регистрируется, когда более чем на 10 с прекращается обмен данными между реле управления двойной блокировкой дверей и главным ЭБУ кузова (распределительный блок с левой стороны кожуха).

Код DTC Условие обнаружения DTC Неисправный участок
B1249 Более 10 секунд отсутствует связь с реле управления двойной блокировкой дверей.
  • Реле управления двойной блокировкой дверей

  • Главный ЭБУ кузова (распределительный блок с левой стороны кожуха)

  • Жгут или разъем

СХЕМА ЭЛЕКТРИЧЕСКИХ СОЕДИНЕНИЙ

A01X2XJE01
*a от аккумуляторной батареи
*b DOOR DL
*c Главный ЭБУ кузова (распределительный блок с левой стороны кожуха)
*d Реле управления двойной блокировкой двери

ПРЕДОСТЕРЕЖЕНИЕ / ПРИМЕЧАНИЕ / УКАЗАНИЕ

Note

При использовании портативного диагностического прибора для диагностики с выключенным зажиганием:

Подключите портативный диагностический прибор к автомобилю и с интервалом 1,5 с включайте и выключайте выключатель освещения дверного проема до тех пор, пока не установится связь между прибором и автомобилем.

Tech Tips

DTC B2325 выводится, когда прекращается обмен данными между всеми следующими устройствами и главным ЭБУ кузова (распределительный блок с левой стороны кожуха).

ПОРЯДОК ВЫПОЛНЕНИЯ


  1. УДАЛИТЕ DTC


    1. Сбросьте DTC (см. стр. Click here).


    ДАЛЕЕ
  2. ПРОВЕРЬТЕ DTC


    1. Еще раз проверьте коды DTC (см. стр. Click here).

      Результат:
      Результат Перейти к
      Выводится DTC B1249 А
      DTC B1249 не выводится B

    B
    А
  3. ПРОВЕРЬТЕ ЖГУТ ПРОВОДОВ И РАЗЪЕМ (РЕЛЕ - ГЛАВНЫЙ ЭБУ КУЗОВА, АККУМУЛЯТОРНАЯ БАТАРЕЯ И МАССА КУЗОВА)

    A01X0AKE02
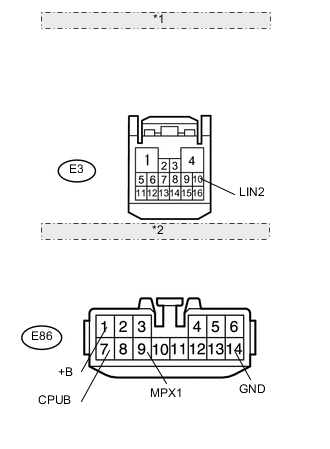
    *1 Вид спереди разъема со стороны жгута проводов: (к главному ЭБУ кузова)
    *2 Вид спереди разъема со стороны жгута проводов: (к реле управления двойной блокировкой дверей)

    1. Отсоедините разъем E3 ЭБУ.

    2. Отсоедините разъем реле E86.

    3. Измерьте сопротивление в соответствии со значениями, приведенными в таблице ниже.

      Номинальное сопротивление
      Подключение диагностического прибора Условие Заданные условия
      E86-9 (MPX1) - E3-10 (LIN2) Всегда Менее 1 Ом
      E86-9 (MPX1) - Масса кузова Всегда 10 кОм или более
      Е3-10 (LIN2) - Масса кузова Всегда 10 кОм или более
      E86-14 (GND) - Масса кузова Всегда Менее 1 Ом
    4. Измерьте напряжение в соответствии со значениями, приведенными в таблице.

      Номинальное напряжение
      Подключение диагностического прибора Условие Заданные условия
      E86-1 (+B) - масса Всегда 11—14 В
      Е86-7 (CPUB) - Масса кузова Всегда 11—14 В

    NG
    OK
  4. ЗАМЕНИТЕ РЕЛЕ УПРАВЛЕНИЯ ДВОЙНОЙ БЛОКИРОВКОЙ ДВЕРЕЙ


    1. Временно замените реле управления двойной блокировкой дверей новым или заведомо исправным (см. стр. )*1, (см. стр. Click here)*2.

      Tech Tips


      • *1: для моделей с левосторонним рулевым управлением

      • *2: для моделей с правосторонним рулевым управлением

    2. Сбросьте DTC (см. стр. Click here).


    ДАЛЕЕ
  5. ПРОВЕРЬТЕ DTC


    1. Еще раз проверьте коды DTC (см. стр. Click here).

      Результат
      Результат Перейти к
      DTC B1249 не выводится А
      Выводится DTC B1249 B

    А
    B