| Код DTC | Наименование DTC |
|---|---|
| P0201 | Обрыв в цепи форсунки – (цилиндр 1) |
| P0202 | Обрыв в цепи форсунки – (цилиндр 2) |
| P0203 | Обрыв в цепи форсунки – (цилиндр 3) |
| P0204 | Обрыв в цепи форсунки – (цилиндр 4) |
| P062D | Характеристики цепи электронного блока привода форсунок № 1 |
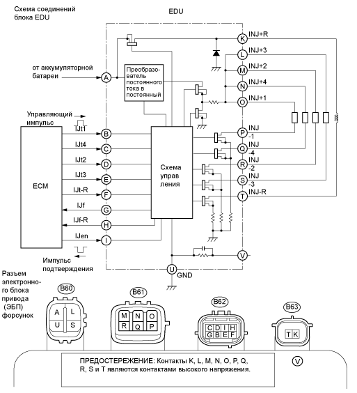
ОПИСАНИЕ
Электронный блок привода форсунок (EDU) передает управляющие сигналы в форсунки с помощью преобразователя постоянного тока в постоянный, благодаря чему формируется высоковольтная быстрозаряжаемая система.
Вскоре после получения от ЕСМ команды на впрыск (сигнала IJT) электронный блок привода форсунок (EDU) передает ответный сигнал подтверждения впрыска (сигнал IJF) при подаче тока в форсунку.
| Режим поездки при обнаружении DTC | Условие обнаружения DTC | Неисправный участок |
|---|---|---|
| Холостой ход в течение 5 с | Определенное количество раз (максимум в течение примерно 0,5 с) в цепи форсунки регистрируется обрыв или короткое замыкание. (логика диагностирования за 1 поездку) |
|
| Режим поездки при обнаружении DTC | Условие обнаружения DTC | Неисправный участок |
|---|---|---|
| Холостой ход в течение 5 с | Во время работы двигателя определенное количество раз (максимум в течение примерно 0,5 с) регистрируется несоответствие между сигналами впрыска электронного блока привода форсунок и ECM. (логика диагностирования за 1 поездку) |
|
ОПИСАНИЕ РАБОТЫ СИСТЕМЫ КОНТРОЛЯ
P0201, P0202, P0203, P0204:ECM сопоставляет команды на впрыск (№ 1-4) с сигналами подтверждения впрыска (INJF) для каждого цилиндра. Когда ECM определяет, что цилиндр неисправен, сохраняется DTC P0201, P0202, P0203 или P0204.
P062D:ЕСМ постоянно контролирует команды впрыска (IJT) и сигналы подтверждения впрыска (IJF). Данный код DTC регистрируется, если ЕСМ определяет, что количество сигналов IJT не совпадает с количеством сигналов IJF.
Топливные форсунки соединены с массой через полевой транзистор (FET) и последовательно подключенный резистор. Падение напряжения на этом резисторе, контролируемое электронным блоком привода форсунок (EDU) (схемой управления форсунками), зависит от тока, подаваемого в форсунку. Если ток форсунки чрезмерно увеличивается, падение напряжения, создаваемое резистором, превышает заданный уровень, вследствие чего сигнал IJF для данного цилиндра не передается в ECM.
Если после запуска двигателя в ЕСМ не поступает сигнал подтверждения впрыска (IJF) от электронного блока привода форсунок (EDU) несмотря на то, что ЕСМ передает команды на впрыск топлива (IJT) в электронный блок привода форсунок (EDU), сохраняется DTC P062D.
При регистрации данного кода DTC ЕСМ переходит в аварийный режим работы и ограничивает мощность двигателя или останавливает двигатель. Аварийный режим работы действует до тех пор, пока зажигание не будет выключено.
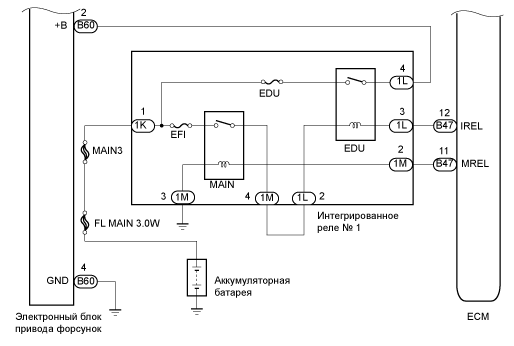
СХЕМА ЭЛЕКТРИЧЕСКИХ СОЕДИНЕНИЙ
ПОСЛЕДОВАТЕЛЬНОСТЬ ПРОВЕРКИ
CAUTION:
Работать с цепями высокого напряжения допускается только при выключенном зажигании.
Note
Перед выполнением следующей процедуры проверки проверьте предохранители цепей, относящихся к данной системе.
После замены новый ЕСМ необходимо зарегистрировать (см. стр. Click here) и инициализировать (см. стр. Click here).
После замены нагнетающего топливного насоса в сборе необходимо выполнить инициализацию ЕСМ (см. стр. Click here).
После замены форсунки необходимо выполнить регистрацию ЕСМ (см. стр. Click here).
Tech Tips
С помощью портативного диагностического прибора считайте фиксированные параметры. В этих параметрах отражается состояние двигателя на момент обнаружения неисправности. При поиске неисправностей фиксированные параметры позволяют определить, двигался ли автомобиль в момент возникновения неисправности или нет, был ли прогрет двигатель и пр.
ПОРЯДОК ВЫПОЛНЕНИЯ
ПРОВЕРЬТЕ ПРОКРУЧИВАНИЕ КОЛЕНЧАТОГО ВАЛА ДВИГАТЕЛЯ СТАРТЕРОМ
Проверьте прокручивание коленчатого вала двигателя стартером.
| Результат | Следующий шаг |
|---|---|
| Двигатель не запускается*1 | А |
| Двигатель запускается, но неравномерно работает на холостом ходу*2 | B |
| За исключением указанного выше | C |
Tech Tips
*1: После удаления DTC P062D он не сохраняется снова, даже если двигатель не запускается вследствие неисправности электронного блока привода форсунок (EDU).
Когда двигатель не запускается по причине неисправности электронного блока привода форсунок (EDU), значение "Fuel Press" превышает значение "Target Common Rail Pressure"
*2: В это время сохраняются DTC P0201, P0202, P0203, P0204 и P062D.
| B |
|
ПРОВЕРЬТЕ, ВЫВОДИТСЯ ЛИ КОД DTC СНОВА Click here |
| C |
|
ПРОВЕРЬТЕ, НЕТ ЛИ ЭПИЗОДИЧЕСКИХ НЕИСПРАВНОСТЕЙ Click here |
| А |
|
ПРОВЕРЬТЕ ECM
| *a | Устройство с подсоединенным жгутом проводов (ECM) |
Проверьте форму сигнала на разъемах ECM с помощью осциллографа.
| OK | |||||||||||||||
|---|---|---|---|---|---|---|---|---|---|---|---|---|---|---|---|
|
| NG |
|
ЗАМЕНИТЕ ECM Click here |
| OK |
|
ПРОВЕРЬТЕ НАПРЯЖЕНИЕ НА КОНТАКТЕ ПИТАНИЯ ЭЛЕКТРОННОГО БЛОКА ПРИВОДА ФОРСУНОК
| *a | Вид спереди разъема со стороны жгута проводов: (к электронному блоку привода форсунок) |
Отсоедините разъемы электронных блоков привода форсунок.
Измерьте напряжение в соответствии со значениями, приведенными в таблице.
| Номинальное напряжение | ||||||
|---|---|---|---|---|---|---|
|
Подсоедините разъемы электронных блоков привода форсунок.
| NG |
|
ОТРЕМОНТИРУЙТЕ ИЛИ ЗАМЕНИТЕ ЖГУТ ПРОВОДОВ ИЛИ РАЗЪЕМ Click here |
| OK |
|
ПРОВЕРЬТЕ ЖГУТ ПРОВОДОВ И РАЗЪЕМ (ЭЛЕКТРОННЫЙ БЛОК ПРИВОДА ФОРСУНОК - ECM)
Отсоедините разъем электронного блока привода форсунок.
Отсоедините разъем ЭБУ.
Измерьте сопротивление в соответствии со значениями, приведенными в таблице ниже.
| Номинальное сопротивление | |||||||||||||||||||||||||||||||||
|---|---|---|---|---|---|---|---|---|---|---|---|---|---|---|---|---|---|---|---|---|---|---|---|---|---|---|---|---|---|---|---|---|---|
|
Подсоедините разъем электронного блока привода форсунок.
Подсоедините разъем ECM.
| NG |
|
ОТРЕМОНТИРУЙТЕ ИЛИ ЗАМЕНИТЕ ЖГУТ ПРОВОДОВ ИЛИ РАЗЪЕМ Click here |
| OK |
|
ЗАМЕНИТЕ ЭЛЕКТРОННЫЙ БЛОК ПРИВОДА ФОРСУНОК
Замените электронный блок привода форсунок (см. стр. Click here).
| ДАЛЕЕ |
|
ПРОВЕРЬТЕ, УСТРАНЕНА ЛИ ДОЛЖНЫМ ОБРАЗОМ НЕИСПРАВНОСТЬ Click here |
ПРОВЕРЬТЕ, ВЫВОДИТСЯ ЛИ КОД DTC СНОВА
Подсоедините портативный диагностический прибор к DLC3.
Включите зажигание и портативный диагностический прибор.
Удалите коды DTC (см. стр. Click here).
Поверните замок зажигания в положение OFF (ВЫКЛ) на 30 с.
Запустите двигатель и дайте ему поработать на холостом ходу в течение 30 с.
Войдите в следующие меню: Powertrain / Engine and ECT / DTC.
Проверьте коды DTC, отображаемые на портативном диагностическом приборе.
Tech Tips
Цилиндр с неисправной форсункой можно определить по выводимым кодам DTC.
Если выводится код DTC P0201, проверьте цепь форсунки в сборе № 1.
Если выводится код DTC P0202, проверьте цепь форсунки в сборе № 2.
Если выводится код DTC P0203, проверьте цепь форсунки в сборе № 3.
Если выводится код DTC P0204, проверьте цепь форсунки в сборе № 4.
| ДАЛЕЕ |
|
ПРОВЕРЬТЕ ЭЛЕКТРОННЫЙ БЛОК ПРИВОДА ФОРСУНОК
| *a | Вид спереди разъема со стороны жгута проводов: (к топливной форсунке) |
Отсоедините разъемы форсунок в сборе для всех цилиндров.
Запустите двигатель.
Проверьте форму сигналов на разъемах топливных форсунок с помощью осциллографа.
| OK | |||||||||||||||
|---|---|---|---|---|---|---|---|---|---|---|---|---|---|---|---|
|
| NG |
|
ПРОВЕРЬТЕ ЖГУТ ПРОВОДОВ И РАЗЪЕМ (ФОРСУНКА В СБОРЕ – ЭЛЕКТРОННЫЙ БЛОК ПРИВОДА ФОРСУНОК) Click here |
| OK |
|
ЗАМЕНИТЕ ФОРСУНКУ В СБОРЕ (СООТВЕТСТВУЮЩЕГО ЦИЛИНДРА)
Замените форсунку в сборе для цилиндра, соответствующего DTC (см. стр. Click here).
Note
При замене форсунки цилиндра обязательно используйте новую топливную трубку высокого давления.
Соблюдайте порядок выполнения работ, указанный в руководстве по ремонту. Временно установите топливные трубки высокого давления и трубопровод обратного слива топлива, затем установите форсунки в требуемое положение. После этого затяните детали с предписанным моментом.
При выполнении операции установки с нарушением требований положение форсунок может быть неправильным. Это может вызвать повреждение форсунок и стать причиной неисправности.
В случае повреждения и неисправности форсунки могут возникнуть другие проблемы, в частности, детонация, неравномерный холостой ход и т. д.
При установке форсунки в неправильном положении возможно нарушение уплотнения между форсункой и топливной трубкой высокого давления, приводящее к утечке топлива.
| ДАЛЕЕ |
|
УДАЛИТЕ ВОЗДУХ ИЗ ТОПЛИВНОЙ СИСТЕМЫ
Удалите воздух из топливной системы (см. стр. Click here).
| ДАЛЕЕ |
|
ЗАРЕГИСТРИРУЙТЕ КОМПЕНСАЦИОННЫЙ КОД ФОРСУНКИ И ПРОИЗВЕДИТЕ НАСТРОЙКУ ОБЪЕМА ПРЕДВАРИТЕЛЬНОГО ВПРЫСКА
Зарегистрируйте компенсационный код форсунки (см. стр. Click here).
Произведите настройку объема предварительного впрыска (см. стр. Click here).
| ДАЛЕЕ |
|
ПРОВЕРЬТЕ, УСТРАНЕНА ЛИ ДОЛЖНЫМ ОБРАЗОМ НЕИСПРАВНОСТЬ Click here |
ЗАМЕНИТЕ ECM
Замените ECM (см. стр. Click here).
| ДАЛЕЕ |
|
ПРОВЕРЬТЕ, УСТРАНЕНА ЛИ ДОЛЖНЫМ ОБРАЗОМ НЕИСПРАВНОСТЬ Click here |
ПРОВЕРЬТЕ ЖГУТ ПРОВОДОВ И РАЗЪЕМ (ФОРСУНКА В СБОРЕ – ЭЛЕКТРОННЫЙ БЛОК ПРИВОДА ФОРСУНОК)
Отсоедините разъемы форсунок.
Отсоедините разъемы электронных блоков привода форсунок.
Измерьте сопротивление в соответствии со значениями, приведенными в таблице ниже.
| Номинальное сопротивление | |||||||||||||||||||||||||||||||||||||||||||||||||||
|---|---|---|---|---|---|---|---|---|---|---|---|---|---|---|---|---|---|---|---|---|---|---|---|---|---|---|---|---|---|---|---|---|---|---|---|---|---|---|---|---|---|---|---|---|---|---|---|---|---|---|---|
|
Подсоедините разъемы форсунок.
Подсоедините разъемы электронных блоков привода форсунок.
| Не разрешена к применению |
|
ОТРЕМОНТИРУЙТЕ ИЛИ ЗАМЕНИТЕ ЖГУТ ПРОВОДОВ ИЛИ РАЗЪЕМ Click here |
| OK |
|
ЗАМЕНИТЕ ЭЛЕКТРОННЫЙ БЛОК ПРИВОДА ФОРСУНОК
Замените электронный блок привода форсунок (см. стр. Click here).
| ДАЛЕЕ |
|
ПРОВЕРЬТЕ, УСТРАНЕНА ЛИ ДОЛЖНЫМ ОБРАЗОМ НЕИСПРАВНОСТЬ Click here |
ОТРЕМОНТИРУЙТЕ ИЛИ ЗАМЕНИТЕ ЖГУТ ПРОВОДОВ ИЛИ РАЗЪЕМ
Отремонтируйте или замените жгут проводов или разъем.
| ДАЛЕЕ |
|
ПРОВЕРЬТЕ, УСТРАНЕНА ЛИ ДОЛЖНЫМ ОБРАЗОМ НЕИСПРАВНОСТЬ
Подсоедините портативный диагностический прибор к DLC3.
Сбросьте коды DTC (см. стр. Click here).
Выключите зажигание и подождите не менее 30 с.
Запустите двигатель и дайте ему поработать на холостом ходу в течение 10 с.
Войдите в следующие меню: Powertrain / Engine and ECT / DTC.
Убедитесь, что DTC не выводится снова.
| ДАЛЕЕ |
|
ЗАВЕРШИТЬ РАБОТУ