QUARTER WINDOW GLASS INSTALLATION

PROCEDURE


  1. CLEAN QUARTER WINDOW GLASS


    1. A0047YE

      Using a scraper, remove the adhesive sticking to the quarter window glass.

      Note

      Be careful not to damage the quarter window glass.

    2. Clean the outer edge of the quarter window glass with a non-residue solvent.

      Note


      • Do not touch the glass surface after cleaning it.

      • Even if using a new glass, clean the glass with non-residue solvent.

  2. INSTALL QUARTER WINDOW GLASS SPACER


    1. Using a brush or sponge, coat the application area of the quarter window glass spacer with Primer G.

      Note


      • Do not apply too much primer.

      • Allow the primer coating to dry for 3 minutes or more.

      • Throw away any leftover primer.

      Tech Tips

      If an area other than that specified is coated by accident, wipe off the primer with a clean piece of cloth before it dries.

    2. Install a new quarter window glass spacer onto the glass, as shown in the illustration.

      A0047QGE02
      Text in Illustration
      *1 Quarter Window Glass Spacer - -
      *a Back Side *b 20.0 mm (0.787 in.)
  3. INSTALL QUARTER WINDOW CLIP


    1. Using a brush or sponge, coat the application area of the quarter window clip with Primer G.

      Note


      • Do not apply too much primer.

      • Allow the primer coating to dry for 3 minutes or more.

      • Throw away any leftover primer.

      Tech Tips

      If an area other than that specified is coated by accident, wipe off the primer with a clean piece of cloth before it dries.

    2. A004A98E01
      Text in Illustration
      *a Back Side

      Install 3 new quarter window clips onto the quarter window glass, as shown in the illustration.

  4. INSTALL QUARTER WINDOW MOULDING


    1. Using a brush or sponge, coat the application area of the quarter window moulding with Primer G.

      Note


      • Do not apply too much primer.

      • Allow the primer coating to dry for 3 minutes or more.

      • Throw away any leftover primer.

      Tech Tips

      If an area other than that specified is coated by accident, wipe off the primer with a clean piece of cloth before it dries.

    2. A00483NE01
      Text in Illustration
      *a 9.5 mm (0.374 in.)

      Install new quarter window moulding onto the quarter window glass, as shown in the illustration.

  5. INSTALL QUARTER WINDOW GLASS


    1. A0049GNE01
      Text in Illustration
      *1 Adhesive

      Clean and shape the contact surface of the vehicle body.


      1. Using a knife, cut away any rough adhesive on the contact surface of the vehicle body to ensure the appropriate surface shape.

        Tech Tips

        Leave as much adhesive on the vehicle body as possible.

      2. Clean the contact surface of the vehicle body with a piece of cloth saturated with cleaner.

    2. A0048MFE01
      Text in Illustration
      *a Mark

      Position the quarter window glass.


      1. Using suction cups, place the quarter window glass in the correct position.

      2. Check that the whole contact surface of the quarter window glass rim is perfectly even.

      3. Align the matchmarks on the quarter window glass and vehicle body.

        Note

        Check that the quarter window glass stoppers are attached to the vehicle body correctly.

      4. Remove the quarter window glass.

    3. A004750E01
      Text in Illustration
      *1 Primer M
      *2 Adhesive
      *a Correct
      *b Incorrect

      Using a brush, coat the installation surface on the vehicle body with Primer M.

      Note


      • Do not coat the adhesive with Primer M.

      • Do not apply too much primer.

      • Allow the primer coating to dry for 3 minutes or more.

      • Do not keep any of the opened Primer M for later use.

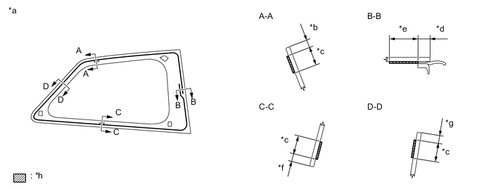
    4. Using a brush or sponge, coat the application areas that still have adhesive attached with Primer G.

      A0048YYE01
      Text in Illustration
      *a Back Side *b 6.4 mm (0.252 in.)
      *c 14.0 mm (0.551 in.) *d 8.3 mm (0.327 in.)
      *e 22.0 mm (0.866 in.) *f 6.0 mm (0.236 in.)
      *g 6.5 mm (0.256 in.) *h Primer G

      Note


      • Do not apply too much primer.

      • Allow the primer coating to dry for 3 minutes or more.

      • Throw away any leftover primer.

      Tech Tips

      If an area other than that specified is coated by accident, wipe off the primer with a clean piece of cloth before it dries.

    5. Apply adhesive to the glass.

      Adhesive
      Toyota Genuine Windshield Glass Adhesive or equivalent

      1. Cut the tip off the cartridge nozzle.

        Tech Tips

        After cutting off the tip, use all adhesive within the time indicated in the table below.

        Usage Time Frame
        Temperature Usage Time Frame
        35°C (95°F) 15 minutes
        20°C (68°F) 1 hour 40 minutes
        5°C (41°F) 8 hours
      2. Load the sealer gun with the cartridge.

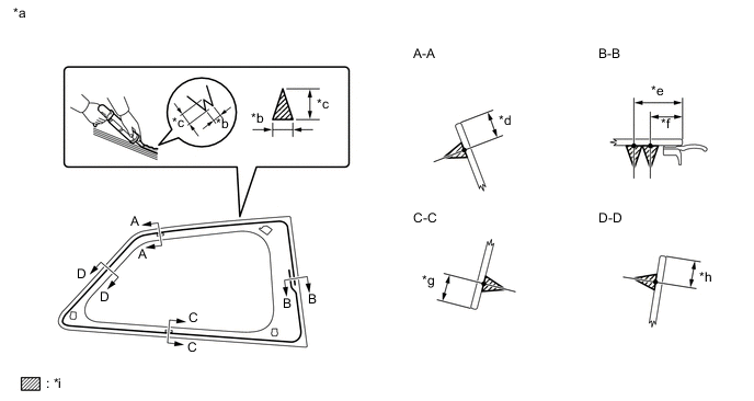
    6. Apply adhesive to the quarter window glass, as shown in the illustration.

      A004BJCE02
      Text in Illustration
      *a Back Side *b 8.0 mm (0.315 in.)
      *c 12.0 mm (0.472 in.) *d 13.4 mm (0.528 in.)
      *e 23.3 mm (0.917 in.) *f 15.3 mm (0.602 in.)
      *g 13.0 mm (0.512 in.) *h 13.5 mm (0.531 in.)
      *i Adhesive - -
    7. Install the quarter window glass.


      1. A0048MFE01
        Text in Illustration
        *a Mark

        Using suction cups, position the quarter window glass so that the matchmarks are aligned, and press it in gently along the rim.

        Note


        • Check that the quarter window glass clips are attached to the vehicle body correctly.

        • Check the clearance between the vehicle body and quarter window glass.

      2. Hold the quarter window glass in place securely with protective tape or the equivalent until the adhesive hardens.

      3. Lightly press the front surface of the glass to ensure a close fit.

        Tech Tips

        Press the glass with force of 98 N (10 kgf, 22 lb) or more.

      4. A00491QE08
        Text in Illustration
        *1 Windshield
        *2 Dam
        *3 Adhesive

        If necessary, use a scraper to correct the level or position of adhesive that has been applied.

        Note

        Do not drive the vehicle within the time limits described in the table below.

        Minimum time
        Temperature Minimum Time Prior to Driving Vehicle
        35°C (95°F) 1 hour and 30 minutes
        20°C (68°F) 5 hours
        5°C (41°F) 24 hours
  6. INSPECT FOR LEAK AND REPAIR


    1. After the adhesive has hardened, apply water from the outside of the vehicle. Check that no water leaks into the cabin.

    2. If water leaks into the cabin, allow the water to dry and add adhesive.

    3. Remove the protective tape.

  7. INSTALL REAR ROOF SIDE RAIL GARNISH

    Tech Tips

    Use the same procedure as for the RH side Click here.

  8. INSTALL ROOF SIDE INNER GARNISH

    Tech Tips

    Use the same procedure as for the RH side Click here.

  9. INSTALL DECK TRIM SIDE PANEL ASSEMBLY

    Tech Tips

    Use the same procedure as for the RH side Click here.

  10. INSTALL REAR SEAT 3 POINT TYPE OUTER BELT ASSEMBLY

    Tech Tips

    Use the same procedure as for the RH side Click here.

  11. INSTALL REAR FLOOR FINISH PLATE

    Click here

  12. INSTALL JACK HANDLE (for RH Side)

  13. INSTALL NO. 2 ROOM LIGHT ASSEMBLY (for LH Side)

    Click here

  14. INSTALL CENTER PILLAR UPPER GARNISH

    Tech Tips

    Use the same procedure as for the RH side Click here.

  15. INSTALL FRONT QUARTER TRIM PANEL ASSEMBLY

    Tech Tips

    Use the same procedure as for the RH side Click here.

  16. CONNECT FRONT SEAT OUTER BELT ASSEMBLY

    Tech Tips

    Use the same procedure as for the RH side Click here.

  17. INSTALL FRONT DOOR OPENING TRIM WEATHERSTRIP

    Tech Tips

    Use the same procedure as for the RH side Click here.

  18. INSTALL FRONT DOOR SCUFF PLATE

    Tech Tips

    Use the same procedure as for the RH side Click here.

  19. INSTALL REAR SEAT ASSEMBLY (for LH Side)

    Click here

  20. INSTALL REAR SEAT ASSEMBLY (for RH Side)

    Click here

  21. INSTALL SPARE WHEEL COVER

    Click here

  22. INSTALL DECK BOARD ASSEMBLY

    Click here