TIRE PRESSURE WARNING SYSTEM, Diagnostic DTC:B1247

DTC Code DTC Name
B1247 Tire Pressure Monitor Receiver Communication Stop

DESCRIPTION

The main body ECU (multiplex network body ECU) and tire pressure warning ECU and receiver communicate by direct line. If a malfunction occurs in this communication signal, B1247 is output by the main body ECU (multiplex network body ECU).

DTC No. Detection Item DTC Detection Condition Trouble Area Note
B1247 Tire Pressure Monitor Receiver Communication Stop Communication between the tire pressure warning ECU and receiver and main body ECU (multiplex network body ECU) is interrupted for 10 seconds or more.
  • Tire pressure warning ECU and receiver

  • Wire harness or connector

  • Main body ECU (Multiplex network body ECU)

This DTC is for main body ECU (multiplex network body ECU)

WIRING DIAGRAM

B006ZQUE12
*a Tire Pressure Warning ECU and Receiver
*b Main Body ECU (Multiplex Network Body ECU)

CAUTION / NOTICE / HINT

Note


  • When replacing the tire pressure warning ECU and receiver, read the transmitter IDs and number of the transmitters (4 or 5) stored in the old ECU using the GTS and write them down before removal.

  • It is necessary to perform initialization after registration Click here of the transmitter IDs into the tire pressure warning ECU and receiver after the ECU has been replaced.

  • Before replacing the main body ECU (multiplex network body ECU), refer to Service Bulletin.

PROCEDURE


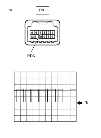
  1. INSPECT TIRE PRESSURE WARNING ECU AND RECEIVER (OUTPUT WAVEFORM)


    1. B006Z6FC11
      *a

      Component with harness connected

      (Tire Pressure Warning ECU and Receiver)

      *b GND

      Using an oscilloscope, check the waveform.

      Note

      With the connector connected, check from the backside of the connector.

      Standard Voltage
      Tester Connection Tool Setting Range Condition Specified Condition
      R9-4 (RDA) - Body ground 5 V/DIV.5 ms./DIV. Ignition switch ON Waveform generation
      Result
      Result Proceed to
      Waveform is as shown in the illustration. (Waveform alternates between 10.5 V or higher and 0.5 V or less) A
      Waveform does not change from 10.5 V or higher B
      Waveform does not change from 0.5 V or less C

    A
    B
    C
  2. CHECK TERMINAL VOLTAGE (MAIN BODY ECU (MULTIPLEX NETWORK BODY ECU) OUTPUT)


    1. Disconnect the R9 tire pressure warning ECU and receiver connector.

    2. Measure the voltage according to the value(s) in the table below.

      Standard Voltage
      Tester Connection Condition Specified Condition
      R9-4 (RDA) - Body ground Ignition switch ON 10.5 V or higher
      Result
      Proceed to
      OK
      NG

    OK
    NG
  3. CHECK HARNESS AND CONNECTOR (MAIN BODY ECU (MULTIPLEX NETWORK BODY ECU) - TIRE PRESSURE WARNING ECU AND RECEIVER)


    1. Turn the ignition switch off.

    2. Disconnect the K53 main body ECU (multiplex network body ECU) connector.

    3. Measure the resistance according to the value(s) in the table below.

      Standard Resistance
      Tester Connection Condition Specified Condition
      K53-10 (RDA) - R9-4 (RDA) Always Below 1 Ω
      K53-10 (RDA) or R9-4 (RDA) - Body ground Always 10 kΩ or higher
      Result
      Proceed to
      OK
      NG

    OK
    NG