СИСТЕМА НАВИГАЦИИ, Diagnostic DTC:B15D0

Код DTC Наименование DTC
B15D0 Нарушение обмена данными MOST

ОПИСАНИЕ

Данный DTC сохраняется, если связь в сети MOST не может быть установлена после активации ведущего устройства.

№ DTC Неисправность Условие обнаружения DTC Неисправный участок
B15D0 Нарушение обмена данными MOST Невозможно установить связь в сети MOST.
  • Сеть MOST

  • Линия передачи данных MOST

  • Компонентный стереоусилитель в сборе

  • Радиоприемник в сборе

  • Жгут или разъем

Tech Tips


  • Радиоприемник в сборе является ведущим устройством.

  • Ошибки передачи данных MOST между устройствами могут возникать вследствие таких факторов, как электрические помехи.

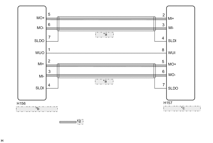
СХЕМА ЭЛЕКТРИЧЕСКИХ СОЕДИНЕНИЙ

A01W1VXE17
*a (Экранировано)
*b Радиоприемник в сборе
*c Компонентный стереоусилитель в сборе
*d Линия передачи данных MOST

ПРЕДОСТЕРЕЖЕНИЕ / ПРИМЕЧАНИЕ / УКАЗАНИЕ

Note

В зависимости от замененных деталей или операций, которые были выполнены при проверке или обслуживании автомобиля, может потребоваться инициализация, регистрация или калибровка. См. меры предосторожности по системе навигации.

Нажмите здесь Click here

ПОРЯДОК ВЫПОЛНЕНИЯ


  1. ПРОВЕРЬТЕ РЕЗУЛЬТАТ РЕЖИМА АКТИВНОЙ ДИАГНОСТИКИ СИСТЕМЫ


    1. A01VZTIC01
      *a Номер узла для устройств, подключенных к сети MOST
      *b Имя устройства
      *c Результат

      Войдите в экран "System Check Mode" (режим проверки системы) См. пункт "Проверьте DTC (с использованием экрана режима активной диагностики системы) в разделе "Проверка / удаление DTC".

      Нажмите здесь Click here

    2. Проверьте результат на экране "System Check Mode" (режим проверки системы).

      Результат
      Результат Перейти к
      Для "EMV-M" отображается "MOST". А
      Для "EMV-M" отображается "DETAIL". B

    B
    А
  2. ВЫПОЛНИТЕ ПРОВЕРКУ ЛИНИИ MOST


    1. A01VZHAC01
      *a Номер узла для устройств, подключенных к сети MOST
      *b Имя устройства
      *c Результат

      Перейдите на экран "MOST Line Check" (Проверка шины MOST). См. пункт "Проверьте DTC (с использованием экрана режима активной диагностики системы) в разделе "Проверка / удаление DTC".

      Нажмите здесь Click here

    2. Проверьте, имеются ли нарушения контакта в разъемах линии передачи данных MOST радиоприемника или компонентного стереоусилителя.

    3. Проверьте результаты на экране "MOST Line Check".

      Результат
      Результат Следующий шаг
      Для всех параметров отображается "OK". А
      "NCON" отображается для "AMP". B
      Для "EMV-M" отображается "NCON". C

      Tech Tips


      • Если "NCON" отображается для нескольких параметров, выполните процедуру для устройства с минимальным номером узла.

      • Экран "MOST Line Check" отображается только тогда, когда зарегистрирован DTC B15D0.


    B
    C
    А
  3. ПРОВЕРЬТЕ ЖГУТ ПРОВОДОВ И РАЗЪЕМ (РАДИОПРИЕМНИК - КОМПОНЕНТНЫЙ СТЕРЕОУСИЛИТЕЛЬ)


    1. Отсоедините разъем H156 радиоприемника.

    2. Отсоедините разъем H157 компонентного стереоусилителя в сборе.

    3. Измерьте сопротивление в соответствии со значениями, приведенными в таблице ниже.

      Номинальное сопротивление
      Подключение диагностического прибора Условие Заданные условия
      H156-2 (MI+) - H157-5 (MO+) Всегда Менее 1 Ом
      H156-3 (MI-) - H157-6 (MO-) Всегда Менее 1 Ом
      H156-4 (SLDI) - H157-7 (SLDO) Всегда Менее 1 Ом
      H156-5 (MO+) - H157-2 (MI+) Всегда Менее 1 Ом
      H156-6 (MO-) - H157-3 (MI-) Всегда Менее 1 Ом
      H156-7 (SLDO) - H157-4 (SLDI) Всегда Менее 1 Ом
      H156-2 (MI+) или H157-5 (MO+) - масса Всегда 10 кОм или более
      H156-3 (MI-) или H157-6 (MO-) - масса Всегда 10 кОм или более
      H156-4 (SLDI) или H157-7 (SLDO) - масса Всегда 10 кОм или более
      H156-5 (MO+) или H157-2 (MI+) - масса Всегда 10 кОм или более
      H156-6 (MO-) или H157-3 (MI-) - масса Всегда 10 кОм или более
      H156-7 (SLDO) или H157-4 (SLDI) - масса Всегда 10 кОм или более
      Результат
      Следующий шаг
      OK
      NG

    NG
    OK
  4. ЗАМЕНИТЕ КОМПОНЕНТНЫЙ СТЕРЕОУСИЛИТЕЛЬ В СБОРЕ


    1. Замените компонентный стереоусилитель в сборе новым или заведомо исправным.

      Нажмите здесь Click here

    2. Удалите коды DTC.

      Нажмите здесь Click here

    3. Повторно проверьте коды DTC и убедитесь, что они не выводятся.

      OK
      Коды DTC не выводятся.
      Результат
      Перейти к
      OK
      NG

    OK
    NG
  5. ПРОВЕРЬТЕ ЖГУТ ПРОВОДОВ И РАЗЪЕМ (СИГНАЛ ВЫХОДА ИЗ СПЯЩЕГО РЕЖИМА)


    1. Отсоедините разъем H157 компонентного стереоусилителя в сборе.

    2. Измерьте напряжение в соответствии со значениями, приведенными в таблице.

      Номинальное напряжение
      Подключение диагностического прибора Условие Заданные условия
      H157-8 (WUI) - масса Зажигание включено (АСС) 4,5 В или выше
      Результат
      Перейти К
      OK
      NG

    OK
    NG
  6. ПРОВЕРЬТЕ ЖГУТ ПРОВОДОВ И РАЗЪЕМ (РАДИОПРИЕМНИК - КОМПОНЕНТНЫЙ СТЕРЕОУСИЛИТЕЛЬ)


    1. Отсоедините разъем H156 радиоприемника.

    2. Отсоедините разъем H157 компонентного стереоусилителя в сборе.

    3. Измерьте сопротивление в соответствии со значениями, приведенными в таблице ниже.

      Номинальное сопротивление
      Подключение диагностического прибора Условие Заданные условия
      H156-1 (WUO) - H157-8 (WUI) Всегда Менее 1 Ом
      H156-1 (WUO) или H157-8 (WUI) - масса Всегда 10 кОм или более
      Результат
      Перейти к
      OK
      NG

    NG
    OK
  7. ЗАМЕНИТЕ КОМПОНЕНТНЫЙ СТЕРЕОУСИЛИТЕЛЬ В СБОРЕ


    1. Замените компонентный стереоусилитель в сборе новым или заведомо исправным.

      Нажмите здесь Click here

    2. Удалите коды DTC.

      Нажмите здесь Click here

    3. Повторно проверьте коды DTC и убедитесь, что они не выводятся.

      OK
      Коды DTC не выводятся.
      Результат
      Перейти к
      OK
      NG

    OK
    NG