CAN COMMUNICATION SYSTEM Check Bus 2 Line for Short to GND

DESCRIPTION

There may be a short circuit between one of the CAN bus lines and GND when there is no resistance between terminal 18 (CA4H) of the network gateway ECU and terminal 4 (CG) of the DLC3, or terminal 17 (CA4L) of the network gateway ECU and terminal 4 (CG) of the DLC3.

Symptom Trouble Area
No resistance exists between terminal 18 (CA4H) of the network gateway ECU and terminal 4 (CG) of the DLC3, or terminal 17 (CA4L) of the network gateway ECU and terminal 4 (CG) of the DLC3.
  • Short in CAN main bus line

  • Short in CAN branch line

  • Network gateway ECU

  • ECM

  • Engine Stop and Start ECU (w/ Stop and Start System)

  • No. 7 CAN junction connector (w/ Stop and Start System)

WIRING DIAGRAM

B007ZDOE03

CAUTION / NOTICE / HINT

Note


  • Before measuring the resistance of the CAN bus, turn the engine switch off and leave the vehicle for 1 minute or more without operating the key or any switches, or opening or closing the doors. After that, disconnect the cable from the negative (-) battery terminal and leave the vehicle for 1 minute or more before measuring the resistance.

  • After turning the engine switch off, waiting time may be required before disconnecting the cable from the negative (-) battery terminal. Therefore, make sure to read the disconnecting the cable from the negative (-) battery terminal notices before proceeding with work.

    Click here

  • Because the order of diagnosis is important to allow correct diagnosis, make sure to begin troubleshooting using How to Proceed with Troubleshooting when CAN communication system related DTCs are output.

    Click here

  • After performing repairs, perform the DTC check procedure and confirm that the DTCs are not output again.

  • DTC check procedure: Drive the vehicle at a speed of 60 km/h (37 mph) or more for 5 minutes or more, and with the dynamic radar cruise control system operated for 3 seconds or more.

  • After the repair, perform the CAN bus check and check that all the ECUs and sensors connected to the CAN communication system are displayed.

    Click here

Tech Tips


  • Operating the engine switch, any other switches or a door triggers related ECU and sensor communication on the CAN. This communication will cause the resistance value to change.

  • Even after DTCs are cleared, if a DTC is stored again after driving the vehicle for a while, the malfunction may be occurring due to vibration of the vehicle. In such a case, wiggling the ECUs or wire harness while performing the inspection below may help determine the cause of the malfunction.

PROCEDURE


  1. CHECK FOR SHORT TO GND IN CAN BUS LINE (NETWORK GATEWAY ECU)


    1. Disconnect the cable from the negative (-) battery terminal.

    2. Disconnect the J75 network gateway ECU connector.

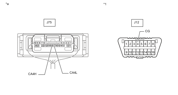
      B008059C10
      *1 DLC3 - -
      *a

      Front view of wire harness connector

      (to Network Gateway ECU)

      - -
    3. Measure the resistance according to the value(s) in the table below.

      Standard Resistance
      Tester Connection Condition Specified Condition
      J75-18 (CA4H) - J12-4 (CG) Cable disconnected from negative (-) battery terminal 200 Ω or higher
      J75-17 (CA4L) - J12-4 (CG)
      Result
      Result Proceed to
      OK A
      NG (w/o Stop and Start System) B
      NG (w/ Stop and Start System) C

    A
    C
    B
  2. CHECK FOR SHORT TO GND IN CAN BUS LINE (ECM)


    1. Reconnect the J75 network gateway ECU connector.

    2. B007XT3C02
      *1 DLC3
      *a

      Front view of wire harness connector

      (to ECM)

      Disconnect the A37 ECM connector.

    3. Measure the resistance according to the value(s) in the table below.

      Standard Resistance
      Tester Connection Condition Specified Condition
      A37-13 (CANH) - J12-4 (CG) Cable disconnected from negative (-) battery terminal 200 Ω or higher
      A37-26 (CANL) - J12-4 (CG)
      Result
      Result
      OK
      NG

    OK
    NG
  3. CHECK FOR SHORT TO GND IN CAN BUS LINE (NO. 7 CAN JUNCTION CONNECTOR)


    1. Reconnect the J75 network gateway ECU connector.

    2. Disconnect the J99 No. 7 CAN junction connector.

    3. Measure the resistance according to the value(s) in the table below.

      B007X0AC22
      *1 DLC3 - -
      *a

      Front view of wire harness connector

      (to No. 7 CAN Junction Connector)

      *b to Engine Stop and Start ECU
      *c to ECM *d to Network Gateway ECU
      Standard Resistance
      Tester Connection Condition Specified Condition Connected to
      J99-9 (CANH) - J12-4 (CG) Cable disconnected from negative (-) battery terminal 200 Ω or higher Engine stop and start ECU
      J99-20 (CANL) - J12-4 (CG)
      J99-10 (CANH) - J12-4 (CG) Cable disconnected from negative (-) battery terminal 200 Ω or higher ECM
      J99-21 (CANL) - J12-4 (CG)
      J99-11 (CANH) - J12-4 (CG) Cable disconnected from negative (-) battery terminal 200 Ω or higher Network gateway ECU
      J99-22 (CANL) - J12-4 (CG)
      Result
      Result Proceed to
      OK A
      NG (Network gateway ECU main line) B
      NG (ECU or sensor bus line) C

    A
    B
    C
  4. CHECK FOR SHORT TO +B IN CAN BUS LINE (ECU, SENSOR)


    1. Reconnect all wire harness connectors.

    2. Disconnect the connector that includes terminals CANH and CANL from the ECU or sensor to which the bus line shorted to GND is connected.

      Click here

    3. Measure the resistance according to the value(s) in the table below.

      B007YX4C12
      *1 DLC3 - -
      *a

      Component with harness connected

      (Network Gateway ECU)

      - -
      Standard Resistance
      Tester Connection Condition Specified Condition
      J75-18 (CA4H) - J12-4 (CG) Cable disconnected from negative (-) battery terminal 200 Ω or higher
      J75-17 (CA4L) - J12-4 (CG)

      Tech Tips

      If the resistance changes to 200 Ω or higher when the connector is disconnected from the ECU or sensor, there may be a short in the ECU or sensor.

      Result
      Result
      OK
      NG

    OK
    NG