SFI SYSTEM

A004GUYE02
Text in Illustration (LHD Models:)
*1 Combination Meter Assembly *2 DLC3
*3 ECM *4 Injector Driver (EDU)
*5 Wide Range Air Fuel Ratio Sensor *6 Oxygen Sensor
*7 Intake Mass Air Flow Meter Sub-assembly *8 Accelerator Pedal Sensor Assembly
*9 Fuel Suction Tube with Pump and Gage Assembly *10 Fuel Pump Control ECU Assembly
A004GT7E02
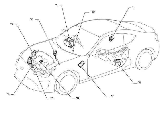
Text in Illustration (RHD Models:)
*1 Combination Meter Assembly *2 Accelerator Pedal Sensor Assembly
*3 Injector Driver (EDU) *4 Wide Range Air Fuel Ratio Sensor
*5 Oxygen Sensor *6 Intake Mass Air Flow Meter Sub-assembly
*7 ECM *8 Fuel Suction Tube with Pump and Gage Assembly
*9 Fuel Pump Control ECU Assembly *10 DLC3
A004GVJE02
Text in Illustration
*1

Throttle Body with Motor Assembly


  • Throttle Position Sensor


  • Throttle Control Motor

*2 Fuel Pressure Sensor (for High Pressure)
*3 Fuel Injector Assembly (for Port Injection) *4 Camshaft Position Sensor (RH, Intake)
*5 Cam Timing Oil Control Valve Assembly (Intake) *6 Cam Timing Oil Control Valve Assembly (Exhaust)
*7 Camshaft Position Sensor (RH, Exhaust) *8 Knock Control Sensor (RH)
*9 Engine Oil Pressure Switch Assembly *10 Oil Temperature Sensor
*11 Spark Plug *12 Camshaft Position Sensor (LH, Exhaust)
*13 Camshaft Position Sensor (LH, Intake) *14 Ignition Coil Assembly
*15 Fuel Pump Assembly (for High Pressure) *16 Fuel Injector Assembly (for Direct Injection)
*17 Knock Control Sensor (LH) *18 Vacuum Switching Valve Assembly
*19 Crank Position Sensor *20 Air Pressure Sensor Assembly
*21 E.F.I. Engine Coolant Temperature Sensor - -