ENTRY AND START SYSTEM(for Entry Function), Diagnostic DTC:B27A2

DTC Code DTC Name
B27A2 Open in Front Passenger Side Electrical Antenna Circuit

DESCRIPTION

When the trigger switch of the front door outside handle assembly (for front passenger door) is pressed, the certification ECU (smart key ECU assembly) generates a request signal and sends it to the No. 2 indoor electrical key antenna assembly (center pillar RH)*1 or No. 2 indoor electrical key antenna assembly (center pillar LH)*2. The electrical key antenna transmits the received signal within an area of approximately 0.7 m (2.30 ft.) from the front passenger door in order to detect the person carrying the electrical key transmitter sub-assembly. DTC B27A2 is stored by the certification ECU (smart key ECU assembly) when an open is detected between the certification ECU (smart key ECU assembly) and No. 2 indoor electrical key antenna assembly (center pillar RH)*1 or No. 2 indoor electrical key antenna assembly (center pillar LH)*2 (between terminals CLG2 and ANTE2, or terminals CG2B and CLGB).

DTC No.

Detection Item

DTC Detection Condition

Trouble Area

Note

B27A2

Open in Front Passenger Side Electrical Antenna Circuit

An open is detected in the circuit between the certification ECU (smart key ECU assembly) and No. 2 indoor electrical key antenna assembly (center pillar RH)*1 or No. 2 indoor electrical key antenna assembly (center pillar LH)*2 (CLG2 - ANTE2, CG2B - CLGB) (This is detected by the malfunction detection circuit in the certification ECU (smart key ECU assembly)) (1 trip detection logic*3).

  • Wire harness or connector

  • No. 2 indoor electrical key antenna assembly (center pillar RH)*1

  • No. 2 indoor electrical key antenna assembly (center pillar LH)*2

  • Certification ECU (smart key ECU assembly)

  • DTC Output Confirmation Operation:

  • Any time

  • *1: for LHD

  • *2: for RHD

  • *3: Only output while a malfunction is present.

Table 1. Vehicle Condition and Fail-safe Operation when Malfunction Detected

Vehicle Condition when Malfunction Detected

Fail-safe Operation when Malfunction Detected

  • Power source mode does not change when engine switch pressed

  • Electrical key transmitter sub-assembly locked inside vehicle

  • Entry lock/unlock function cannot be operated for front passenger door

-

Table 2. Related Data List and Active Test

DTC Code

Data List and Active Test

B27A2

Key diagnostic mode can be used to perform troubleshooting

WIRING DIAGRAM

B286267E59
B286267E56

CAUTION / NOTICE / HINT

Note:
  • The entry and start system (for Entry Function) uses the LIN communication system and CAN communication system. Inspect the communication function by following How to Proceed with Troubleshooting. Troubleshoot the entry and start system (for Entry Function) after confirming that the communication systems are functioning properly.

    Click here

  • When using the GTS with the engine switch off, connect the GTS to the DLC3 and turn a courtesy light switch on and off at intervals of 1.5 seconds or less until communication between the GTS and the vehicle begins. Then select Model Code "KEY REGIST" under manual mode and enter the following menus: Body Electrical / Entry&Start(CAN). While using the GTS, periodically turn a courtesy light switch on and off at intervals of 1.5 seconds or less to maintain communication between the GTS and the vehicle.

  • Before replacing the certification ECU (smart key ECU assembly), refer to entry and start system (for Entry Function) Precaution.

    Click here

  • After repair, confirm that no DTCs are output by performing "DTC Output Confirmation Operation".

  • The No. 2 indoor electrical key antenna assembly (center pillar RH)*1 or No. 2 indoor electrical key antenna assembly (center pillar LH)*2 has an antenna coil between the ANTE2 and CLGB terminals.

  • *1: for LHD

  • *2: for RHD

PROCEDURE

  1. CONFIRM MODEL

    1. Choose the model to be inspected.

    Result

    Result

    Proceed to

    for LHD

    A

    for RHD

    B

    B

    CHECK CONNECTOR CONNECTIONClick here

    A
  2. CHECK CONNECTOR CONNECTION

    1. Turn the engine switch off.

    2. Check that the connectors are properly connected to the certification ECU (smart key ECU assembly) and No. 2 indoor electrical key antenna assembly (center pillar RH).

      OK

      Connectors are properly connected.

    Result

    Proceed to

    OK

    NG

    NG

    CONNECT CONNECTORS PROPERLY

    OK
  3. CHECK HARNESS AND CONNECTOR (CERTIFICATION ECU (SMART KEY ECU ASSEMBLY) - NO. 2 INDOOR ELECTRICAL KEY ANTENNA ASSEMBLY (CENTER PILLAR RH))

    1. Disconnect the E50 certification ECU (smart key ECU assembly) connector.

    2. Disconnect the K33 No. 2 indoor electrical key antenna assembly (center pillar RH) connector.

    3. Measure the resistance according to the value(s) in the table below.

      Standard Resistance

      Tester Connection

      Condition

      Specified Condition

      E50-6 (CLG2) - K33-1 (ANTE2)

      Always

      Below 1 Ω

      E50-23 (CG2B) - K33-3 (CLGB)

      Always

      Below 1 Ω

      E50-6 (CLG2) or K33-1 (ANTE2) - Body ground

      Always

      10 kΩ or higher

      E50-23 (CG2B) or K33-3 (CLGB) - Body ground

      Always

      10 kΩ or higher

    Result

    Proceed to

    OK

    NG

    NG

    REPAIR OR REPLACE HARNESS OR CONNECTOR

    OK
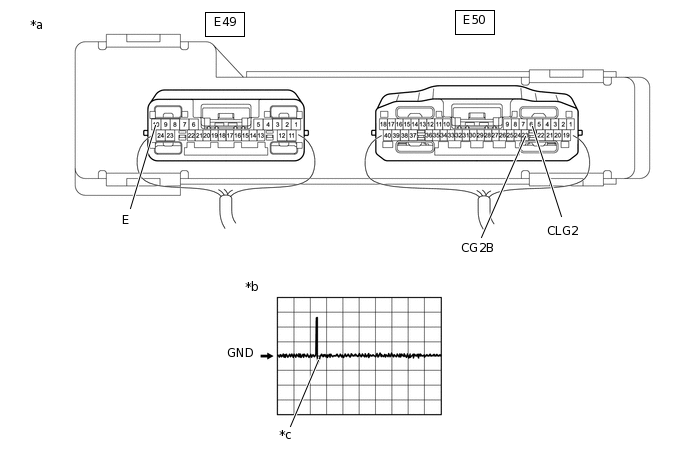
  4. CHECK CERTIFICATION ECU (SMART KEY ECU ASSEMBLY) (OUTPUT TO NO. 2 INDOOR ELECTRICAL KEY ANTENNA ASSEMBLY (CENTER PILLAR RH))

    1. Reconnect the E50 certification ECU (smart key ECU assembly) connector.

    2. Measure the resistance according to the value(s) in the table below.

      Standard Resistance

      Tester Connection

      Condition

      Specified Condition

      E49-10 (E) - Body ground

      Always

      Below 1 Ω

    3. Using an oscilloscope, check the waveform.

      B361610C02

      *a

      Component with harness connected

      (Certification ECU (Smart Key ECU Assembly))

      *b

      Waveform 1

      *c

      Trigger switch ON

      -

      -

      OK

      Tester Connection

      Condition

      Tool Setting

      Specified Condition

      E50-6 (CLG2) - E49-10 (E)

      Procedure:

      1. Engine switch off

      2. All doors closed

      -

      No pulse generation

      Procedure:

      1. Engine switch off

      2. All doors closed

      3. While carrying the electrical key transmitter sub-assembly, press the trigger switch on the front door outside handle assembly (for front passenger door)

      2 V/DIV., 500 ms/DIV.

      Pulse generation

      (See waveform 1)

      E50-23 (CG2B) - E49-10 (E)

      Procedure:

      1. Engine switch off

      2. All doors closed

      -

      No pulse generation

      Procedure:

      1. Engine switch off

      2. All doors closed

      3. While carrying the electrical key transmitter sub-assembly, press the trigger switch on the front door outside handle assembly (for front passenger door)

      2 V/DIV., 500 ms/DIV.

      Pulse generation

      (See waveform 1)

    Result

    Proceed to

    OK

    NG

    NG

    REPLACE CERTIFICATION ECU (SMART KEY ECU ASSEMBLY)

    OK
  5. REPLACE NO. 2 INDOOR ELECTRICAL KEY ANTENNA ASSEMBLY (CENTER PILLAR RH)

    1. Temporarily replace the No. 2 indoor electrical key antenna assembly (center pillar RH) with a new or known good one.

      Click here

    Result

    Proceed to

    NEXT

    NEXT
  6. CLEAR DTC

    1. Clear the DTCs.

      Body Electrical > Entry&Start > Clear DTCs

    Result

    Proceed to

    NEXT

    NEXT
  7. CHECK FOR DTC

    1. Check for DTCs.

      Body Electrical > Entry&Start > Trouble Codes

      OK

      DTC B27A2 is not output.

    Result

    Proceed to

    OK

    NG

    OK

    END (NO. 2 INDOOR ELECTRICAL KEY ANTENNA ASSEMBLY (CENTER PILLAR RH) WAS DEFECTIVE)

    NG

    REPLACE CERTIFICATION ECU (SMART KEY ECU ASSEMBLY)

  8. CHECK CONNECTOR CONNECTION

    1. Turn the engine switch off.

    2. Check that the connectors are properly connected to the certification ECU (smart key ECU assembly) and No. 2 indoor electrical key antenna assembly (center pillar LH).

      OK

      Connectors are properly connected.

    Result

    Proceed to

    OK

    NG

    NG

    CONNECT CONNECTORS PROPERLY

    OK
  9. CHECK HARNESS AND CONNECTOR (CERTIFICATION ECU (SMART KEY ECU ASSEMBLY) - NO. 2 INDOOR ELECTRICAL KEY ANTENNA ASSEMBLY (CENTER PILLAR LH))

    1. Disconnect the E50 certification ECU (smart key ECU assembly) connector.

    2. Disconnect the K19 No. 2 indoor electrical key antenna assembly (center pillar LH) connector.

    3. Measure the resistance according to the value(s) in the table below.

      Standard Resistance

      Tester Connection

      Condition

      Specified Condition

      E50-6 (CLG2) - K19-1 (ANTE2)

      Always

      Below 1 Ω

      E50-23 (CG2B) - K19-3 (CLGB)

      Always

      Below 1 Ω

      E50-6 (CLG2) or K19-1 (ANTE2) - Body ground

      Always

      10 kΩ or higher

      E50-23 (CG2B) or K19-3 (CLGB) - Body ground

      Always

      10 kΩ or higher

    Result

    Proceed to

    OK

    NG

    NG

    REPAIR OR REPLACE HARNESS OR CONNECTOR

    OK
  10. CHECK CERTIFICATION ECU (SMART KEY ECU ASSEMBLY) (OUTPUT TO NO. 2 INDOOR ELECTRICAL KEY ANTENNA ASSEMBLY (CENTER PILLAR LH))

    1. Reconnect the E50 certification ECU (smart key ECU assembly) connector.

    2. Measure the resistance according to the value(s) in the table below.

      Standard Resistance

      Tester Connection

      Condition

      Specified Condition

      E49-10 (E) - Body ground

      Always

      Below 1 Ω

    3. Using an oscilloscope, check the waveform.

      B361610C02

      *a

      Component with harness connected

      (Certification ECU (Smart Key ECU Assembly))

      *b

      Waveform 1

      *c

      Trigger switch ON

      -

      -

      OK

      Tester Connection

      Condition

      Tool Setting

      Specified Condition

      E50-6 (CLG2) - E49-10 (E)

      Procedure:

      1. Engine switch off

      2. All doors closed

      -

      No pulse generation

      Procedure:

      1. Engine switch off

      2. All doors closed

      3. While carrying the electrical key transmitter sub-assembly, press the trigger switch on the front door outside handle assembly (for front passenger door)

      2 V/DIV., 500 ms./DIV.

      Pulse generation

      (See waveform 1)

      E50-23 (CG2B) - E49-10 (E)

      Procedure:

      1. Engine switch off

      2. All doors closed

      -

      No pulse generation

      Procedure:

      1. Engine switch off

      2. All doors closed

      3. While carrying the electrical key transmitter sub-assembly, press the trigger switch on the front door outside handle assembly (for front passenger door)

      2 V/DIV., 500 ms./DIV.

      Pulse generation

      (See waveform 1)

    Result

    Proceed to

    OK

    NG

    NG

    REPLACE CERTIFICATION ECU (SMART KEY ECU ASSEMBLY)

    OK
  11. REPLACE NO. 2 INDOOR ELECTRICAL KEY ANTENNA ASSEMBLY (CENTER PILLAR LH)

    1. Temporarily replace the No. 2 indoor electrical key antenna assembly (center pillar LH) with a new or known good one.

      Click here

    Result

    Proceed to

    NEXT

    NEXT
  12. CLEAR DTC

    1. Clear the DTCs.

      Body Electrical > Entry&Start > Clear DTCs

    Result

    Proceed to

    NEXT

    NEXT
  13. CHECK FOR DTC

    1. Check for DTCs.

      Body Electrical > Entry&Start > Trouble Codes

      OK

      DTC B27A2 is not output.

    Result

    Proceed to

    OK

    NG

    OK

    END (NO. 2 INDOOR ELECTRICAL KEY ANTENNA ASSEMBLY (CENTER PILLAR LH) WAS DEFECTIVE)

    NG

    REPLACE CERTIFICATION ECU (SMART KEY ECU ASSEMBLY)