ДАТЧИК ПОЛОЖЕНИЯ РЫЧАГА ПЕРЕКЛЮЧЕНИЯ ПЕРЕДАЧ УСТАНОВКА

ПОРЯДОК ВЫПОЛНЕНИЯ

  1. УСТАНОВИТЕ ДАТЧИК ПОЛОЖЕНИЯ РЫЧАГА ПЕРЕКЛЮЧЕНИЯ ПЕРЕДАЧ

    1. Установите рычаг переключения передач в положение N.

    2. Временно закрепите датчик положения рычага переключения передач на гибридной трансмиссии в сборе 2 болтами.

      Note:
      • Никогда не используйте датчик положения рычага переключения передач, если он падал или подвергался сильному удару.

      • Не допускайте попадания влаги на контакты разъема.

    3. Установите стопорную пластину на датчик положения рычага переключения передач и закрепите контргайкой.

      6,9 Н*м

      70 кгс*см

      61 фунт-сила-дюйм

    4. Временно установите рычаг приводного вала на датчик положения рычага переключения передач.

    5. C250073N02

      Поверните рычаг приводного вала до упора по часовой стрелке, а затем на 2 прорези против часовой стрелки.

    6. Снимите рычаг приводного вала с датчика положения рычага переключения передач.

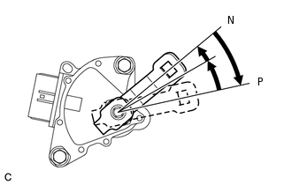
    7. C256277C02

      *a

      Базовая линия нейтрали

      *b

      Индикатор

      *c

      Диапазон люфта

      Совместите индикатор с базовой линией нейтрали.

      Note:

      Индикатор стопорной пластины имеет определенный люфт. Совместите центральную точку диапазона люфта с базовой линией нейтрали.

    8. С помощью SST и разрезной головки на 12 мм затяните болт (A).

      C342521C01

      *a

      Разрезная головка 12 мм

      *b

      Длина плеча динамометрического ключа

      09961-01270

      Номинальный момент затяжки

      13 Н*м

      133 кгс*см

      10 фунт-сила-футов

      Tip:
      • Рассчитайте показание динамометрического ключа при изменении длины рычага динамометрического ключа.

        Нажмите здесьClick hereClick hereClick here

      • При использовании разрезной головки на 12 мм (длина рычага 20 мм (0,787 дюйма)) + SST (длина рычага 200 мм (7,87 дюйма)) и динамометрического ключа (длина рычага 162 мм (6,38 дюйма)):

        5,5 Н*м (56 кгс*см, 49 фунт-сила-дюймов)

    9. Затяните болт (B).

      13 Н*м

      133 кгс*см

      10 фунт-сила-футов

    10. С помощью отвертки с обернутым изолентой концом закрепите контргайку со стопорной пластиной.

    11. Установите рычаг приводного вала и шайбу на датчик положения рычага переключения передач и закрепите гайкой.

      12,7 Н*м

      130 кгс*см

      9 фунт-сила-футов

    12. Подсоедините разъем датчика положения рычага переключения передач.

  2. ПОДСОЕДИНИТЕ ТРОС МЕХАНИЗМА ПЕРЕКЛЮЧЕНИЯ ПЕРЕДАЧ В СБОРЕ

    1. Установите новый фиксатор на кронштейн троса механизма переключения передач № 1.

    2. C245030C10

      *1

      Трос механизма переключения передач в сборе

      *2

      Кронштейн троса механизма переключения передач № 1

      *a

      Замок (A)

      *b

      Замок (B)

      Подсоедините трос механизма переключения передач в сборе к кронштейну троса механизма переключения передач № 1.

      Note:
      • Удостоверьтесь, что захваты (A) на фиксаторе плотно вошли в зацепление в канавках кронштейна.

      • Убедитесь, что трос механизма переключения передач в сборе надежно удерживается в захватах (B) фиксатора.

    3. Подсоедините трос механизма переключения передач в сборе к рычагу приводного вала и закрепите его гайкой.

      12 Н*м

      122 кгс*см

      9 фунт-сила-футов

  3. ПРОВЕРЬТЕ ПОЛОЖЕНИЕ ДАТЧИКА ПОЛОЖЕНИЯ РЫЧАГА ПЕРЕКЛЮЧЕНИЯ ПЕРЕДАЧ

    Нажмите здесьClick here

  4. ОТРЕГУЛИРУЙТЕ ПОЛОЖЕНИЕ ДАТЧИКА ПОЛОЖЕНИЯ РЫЧАГА ПЕРЕКЛЮЧЕНИЯ ПЕРЕДАЧ

    Нажмите здесьClick here

  5. ПРОВЕРЬТЕ ПОЛОЖЕНИЕ РЫЧАГА ПЕРЕКЛЮЧЕНИЯ ПЕРЕДАЧ

    Нажмите здесьClick here

  6. ОТРЕГУЛИРУЙТЕ ПОЛОЖЕНИЕ РЫЧАГА ПЕРЕКЛЮЧЕНИЯ ПЕРЕДАЧ

    Нажмите здесьClick here

  7. УСТАНОВИТЕ ПЕРЕДНИЙ НИЖНИЙ ПОГЛОТИТЕЛЬ ЭНЕРГИИ УДАРА

    Нажмите здесьClick hereClick here

  8. УСТАНОВИТЕ ЗАЩИТУ КАРТЕРА ДВИГАТЕЛЯ № 1

    Нажмите здесьClick hereClick here

  9. УСТАНОВИТЕ НАКЛАДКУ УДЛИНИТЕЛЯ ОТВЕРСТИЯ ПРАВОГО ПЕРЕДНЕГО КОЛЕСА

    Нажмите здесьClick hereClick here

  10. УСТАНОВИТЕ ЗАЩИТУ КАРТЕРА ДВИГАТЕЛЯ № 3

    Нажмите здесьClick hereClick here

  11. УСТАНОВИТЕ НАКЛАДКУ УДЛИНИТЕЛЯ ОТВЕРСТИЯ ЛЕВОГО ПЕРЕДНЕГО КОЛЕСА

    Нажмите здесьClick hereClick here