RADIATOR SUPPORT ASSEMBLY REPLACEMENT

A004L1R

  1. REMOVAL

    Symbol meaning
    A004L9C Remove Weld Points
    A004L2L Remove Weld Points
    A004L6XE03
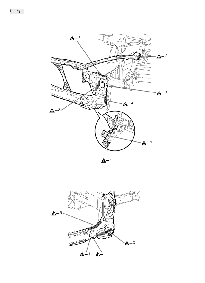
    *a LH Side:
    A004L0WE03
    A004L78E03
    *a RH Side:
    A004L42E03
  2. INSTALLATION

    Symbol meaning
    A004L4Z Plug Weld
    A004L6I Plug Weld

      INSTALLATION POINT

    1. Inspect the fitting of the related parts around the new parts before welding. This affects the appearance of the finish.

    2. Temporarily install the new parts and measure each part of the new parts in accordance with the body dimension diagram. (See the body dimensions)

    3. After applying the top coat, apply anti-rust agent to the internal panel portion of the closed section structural weld points.

    4. Measure the dimensions before installing the headlights.

    Reference Value
    Area Measurement Area Measurement
    *a 1360 mm (53.54 in.) *b 1278 mm (50.31 in.)
    *c 1097 mm (43.19 in.) *d 888 mm (34.96 in.)
    *e 881 mm (34.68 in.) *f 889 mm (35.00 in.)
    *g 805 mm (31.69 in.) - -
    A004L3DE01
    LH Side
    *1 RADIATOR SUPPORT SUB-ASSEMBLY
    A004L6B
    A004L8EE01
    *1 RH Side:
    A004L9P
    A004L34E01