CAN COMMUNICATION SYSTEM(for RHD) PRECAUTION

  1. CAN COMMUNICATION SYSTEM TROUBLESHOOTING

    1. Because the order of diagnosis is important to allow correct diagnosis, make sure to begin troubleshooting using How to Proceed with Troubleshooting when CAN communication system related DTCs are output.

      Click here

  2. PRECAUTIONS FOR STEERING SYSTEM HANDLING

    1. Be careful when replacing parts. Incorrect replacement could affect the performance of the steering system and result in hazardous driving.

  3. PRECAUTIONS FOR SRS AIRBAG SYSTEM HANDLING

    1. This vehicle is equipped with a Supplemental Restraint System (SRS) which includes parts such as airbags for the driver and front passenger. Failure to carry out service operations in the correct sequence could cause unexpected SRS deployment during servicing and may cause a serious accident. Before servicing (including removal/installation, inspection and replacement of parts), be sure to read precaution for SRS.

      Click here

  4. BUS WIRE REPAIR

    1. E120441

      After repairing the bus wire with solder, wrap the repaired part with vinyl tape.

      Note:
      • The CANH bus wire and CANL bus wire must be installed together.

      • When installing the CAN bus wires, make sure to twist them.

      • CAN bus wires are likely to be influenced by noise if the bus wires are not twisted together.

      • Leave approximately 80 mm (3.15 in.) loose in the twisted wires around the connectors.

    2. C281172C01

      *1

      By-pass Wire

      Do not use by-pass wiring between the connectors.

      Note:

      The protective effect of the twisted wire harness will be lost if bypass wiring is used.

  5. CONNECTOR HANDLING

    1. E120443C02

      *1

      Tester Probe

      When inserting probes into a connector, insert them from the rear of the connector.

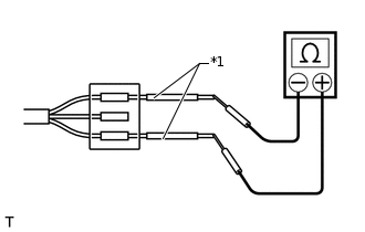
    2. E120444C02

      *1

      Repair Wire

      Use a repair wire to check the connector if it is impossible to check resistance from the rear of the connector.

  6. PRECAUTIONS FOR INSPECTING OR REPLACING CAN JUNCTION CONNECTOR

    1. If the CAN junction connector is removed from the vehicle for inspection or replacement, make sure to install the CAN junction connector and all wire harnesses to their original locations with tape and the clamps.

  7. PRECAUTIONS WHEN REPLACING A GATEWAY FUNCTION EQUIPPED ECU (SUB BUS MONITOR ECU) WITH A USED ONE FROM ANOTHER VEHICLE

    1. When a gateway function equipped ECU (main body ECU) that was previously installed on another vehicle is used as a replacement part, it is necessary to initialize the connection information stored in the ECU.

      Note:

      If the connection information stored in a gateway function equipped ECU that was previously installed on another vehicle is different from the actual ECUs and sensors connected to the corresponding bus, communication DTCs will be detected.

      Tip:

      When an ECU is replaced with one from a vehicle with the same options and specifications (the same connections to the corresponding bus), initialization of ECU connection information is not necessary.

    2. Initialize the connection information of a gateway function equipped ECU (sub bus monitor ECU)

    3. Connect the GTS to the DLC3.

    4. Turn the power switch is on (IG).

    5. Turn the GTS on.

    6. Enter the following menus: Body Electrical / Central Gateway or Main Body / Utility.

    7. Select Initialization from Utility to initialize the ECU.

      Body Electrical > Central Gateway > Utility

      Tester Display

      Initialization

      Body Electrical > Main Body > Utility

      Tester Display

      Initialization

  8. PRECAUTIONS FOR WHEN GATEWAY FUNCTION EQUIPPED ECU (SUB BUS MONITOR ECU) DETECTS COMMUNICATION DTCS FOR ECUS NOT CONNECTED TO THE ECU

    1. Refer to Precautions When Replacing a Gateway Function Equipped ECU (Sub Bus Monitor ECU) with a Used One from Another Vehicle and initialize the connection information of the ECU.

    2. Clear the DTCs and check that no DTCs are output.