POWER BACK DOOR SYSTEM, Diagnostic DTC:B2227

DTC Code DTC Name
B2227 PBD Unit Pulse Sensor RH Circuit

DESCRIPTION

This DTC is output when the multiplex network door ECU detects a power back door unit assembly set RH pulse malfunction.

DTC No.

Detection Item

DTC Detection Condition

Trouble Area

B2227

PBD Unit Pulse Sensor RH Circuit

This DTC is output when the multiplex network door ECU detects a power back door unit assembly set RH pulse malfunction.

  • Multiplex network door ECU

  • Power back door unit assembly set RH

  • Harness or connector

WIRING DIAGRAM

E357347E19

CAUTION / NOTICE / HINT

Note:

If the replacement, removal and installation of the multiplex network door ECU or disconnection of the connectors of the multiplex network door ECU has been performed, initialize the power back door system.

Click here

PROCEDURE

  1. CHECK FOR DTC

    1. Clear the DTCs.

      Click here

      Body Electrical > Back Door > Clear DTCs

    2. Check for DTCs.

      Click here

      Body Electrical > Back Door > Trouble Codes

    Result

    Proceed to

    DTC B2227 is not output

    DTC B2227 is output

    DTC B2227 is not output

    USE SIMULATION METHOD TO CHECK

    DTC B2227 is output
  2. CHECK HARNESS AND CONNECTOR (MULTIPLEX NETWORK DOOR ECU - POWER BACK DOOR UNIT ASSEMBLY SET RH)

    1. Disconnect the U29 multiplex network door ECU connector.

    2. Disconnect the U20 power back door unit assembly set RH connector.

    3. Measure the resistance according to the value(s) in the table below.

      Standard Resistance

      Tester Connection

      Condition

      Specified Condition

      U29-19 (DSG2) - U20-4 (DSG2)

      Always

      Below 1 Ω

      U29-5 (DSV2) - U20-3 (DSV2)

      Always

      Below 1 Ω

      U29-4 (DS22) - U20-6 (DS22)

      Always

      Below 1 Ω

      U29-3 (DS12) - U20-5 (DS12)

      Always

      Below 1 Ω

      U29-19 (DSG2) or U20-4 (DSG2) - Body ground

      Always

      10 kΩ or higher

      U29-5 (DSV2) or U20-3 (DSV2) - Body ground

      Always

      10 kΩ or higher

      U29-4 (DS22) or U20-6 (DS22) - Body ground

      Always

      10 kΩ or higher

      U29-3 (DS12) or U20-5 (DS12) - Body ground

      Always

      10 kΩ or higher

    Result

    Proceed to

    OK

    NG

    NG

    REPAIR OR REPLACE HARNESS OR CONNECTOR

    OK
  3. CHECK MULTIPLEX NETWORK DOOR ECU

    1. E356834C11

      *a

      Front view of wire harness connector

      (to Power Back Door Unit Assembly Set RH)

      Disconnect the power back door unit assembly set RH connector.

    2. Measure the resistance according to the value(s) in the table below.

      Standard Resistance

      Tester Connection

      Condition

      Specified Condition

      U20-4 (DSG2) - Body ground

      Always

      Below 1 Ω

    3. Measure the voltage according to the value(s) in the table below.

      Standard Voltage

      Tester Connection

      Condition

      Specified Condition

      U20-5 (DS12) - Body ground

      Always

      7 V or higher

      U20-6 (DS22) - Body ground

      Always

      7 V or higher

      U20-3 (DSV2) - Body ground

      Always

      7 V or higher

    Result

    Proceed to

    OK

    NG

    NG

    REPLACE MULTIPLEX NETWORK DOOR ECU

    OK
  4. CHECK POWER BACK DOOR UNIT ASSEMBLY SET RH

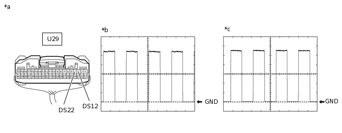
    1. Using an oscilloscope, check the waveform of each terminal from the rear of the multiplex network door ECU U29 connector.

      E356836C15

      *a

      Component with harness connected

      (Multiplex Network Door ECU)

      *b

      Waveform (CH1)

      *c

      Waveform (CH2)

      -

      -

      Measurement Condition

      Item

      Condition

      Tester Connection

      • CH1 : U29-3 (DS12) - Body ground

      • CH2 : U29-4 (DS22) - Body ground

      Tool setting

      2 V/DIV., 2 ms./DIV.

      Vehicle condition

      Open and close the back door by hand.

      Tip:

      The period changes in accordance to the speed at which the back door is opened and closed by hand.

      OK

      The waveform displayed is as shown in the illustration.

    Result

    Proceed to

    OK

    NG

    OK

    REPLACE MULTIPLEX NETWORK DOOR ECU

    NG

    REPLACE POWER BACK DOOR UNIT ASSEMBLY SET RH