AIR CONDITIONING SYSTEM


  1. CONSTRUCTION


    1. A bus connector is used in the wire harness connection, which connects the servo motor to the air conditioning amplifier assembly.

    2. The bus connector has a built-in driver IC with a position detection function that communicates with each servo motor connector and actuates the servo motor. This enables bus communication for the servo motor wire harness with a more lightweight construction and a reduced number of wires.

      Figure 1. Air Conditioning Harness Assembly

      B004ZBIC02
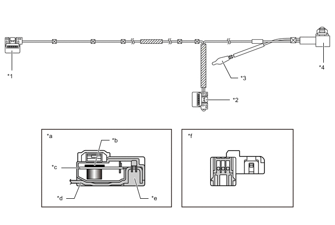
      *1 Bus Connector (to Air Conditioning Amplifier Assembly) *2 Rear Evaporator Temperature Sensor Connector
      *a Driver IC *b Circuit Board
      *c Connector *d Wire Harness
      *e Structure of Bus Connector *f Bus Connector
      *g Air Conditioning Harness Assembly - -

      Figure 2. No. 2 Air Conditioning Harness Assembly

      B004Z67C01
      *1 Bus Connector (to No. 1 Rear Cooling Unit Damper Servo Sub-assembly) *2 Bus Connector (to No. 2 Rear Cooling Unit Damper Servo Sub-assembly)
      *3 Rear Evaporator Temperature Sensor *4 Wire Harness (to Air Conditioning Amplifier Assembly)
      *a Structure of Bus Connector *b Driver IC
      *c Circuit Board *d Wire Harness
      *e Connector *f Side View of Bus Connector