WINDOW GLASS ANTENNA WIRE REPAIR

PROCEDURE


  1. REPAIR WINDOW GLASS ANTENNA WIRE

    A005B4WE12
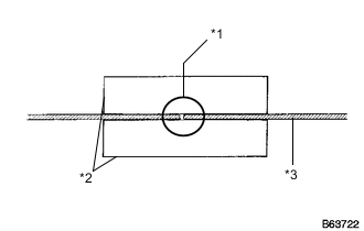
    Text in Illustration
    *1 Repair Point
    *2 Masking Tape
    *3 Broken Wire

    1. Clean the broken wire tips with a grease, wax and silicone remover.

    2. Place masking tape along both sides of the wire to be repaired.

    3. Thoroughly mix the repair agent (Dupont paste No. 4817 or equivalent).

    4. A005CLQE12
      Text in Illustration
      *1 Fine Tip Brush
      *2 Repair Point

      Using a fine tip brush, apply a small amount of the repair agent to the wire.

    5. After a few minutes, remove the masking tape.