СИСТЕМА ПОДУШЕК БЕЗОПАСНОСТИ SRS, диагностические DTC: B1825/56, B1826/56, B1827/56 и B1828/56

Код DTC Наименование DTC
B1825/56 Короткое замыкание в цепи левого бокового пиропатрона
B1826/56 Обрыв цепи левого бокового пиропатрона
B1827/56 Короткое замыкание на GND в цепи левого бокового пиропатрона
B1828/56 Короткое замыкание на B+ в цепи левого бокового пиропатрона

ОПИСАНИЕ

Цепь левого бокового пиропатрона включает центральный блок управления системы SRS и подушку безопасности левого переднего сиденья.

Центральный блок управления системы SRS использует эту цепь для развертывания подушки безопасности, когда выполняются условия развертывания.

Данные коды DTC регистрируются при обнаружении неисправности в цепи левого бокового пиропатрона.

№ DTC

Неисправность

Условие обнаружения DTC

Неисправный участок

Режим диагностики / режим проверки

B1825/56

Короткое замыкание в цепи левого бокового пиропатрона

  • Блок управления системы SRS обнаруживает короткое замыкание в цепи пиропатрона левой боковой подушки безопасности в ходе выполнения первичной проверки.

  • Неисправность левого бокового пиропатрона

  • Неисправность блока управления системы SRS

  • Напольный провод № 2

  • Левый боковой пиропатрон (подушка безопасности левого переднего сиденья в сборе)

  • Центральный блок управления системы SRS

Относится к режиму проверки

B1826/56

Обрыв цепи левого бокового пиропатрона

  • Блок управления системы SRS обнаруживает обрыв в цепи пиропатрона левой боковой подушки безопасности.

  • Неисправность левого бокового пиропатрона

  • Неисправность блока управления системы SRS

  • Напольный провод № 2

  • Левый боковой пиропатрон (подушка безопасности левого переднего сиденья в сборе)

  • Центральный блок управления системы SRS

Относится к режиму проверки

B1827/56

Короткое замыкание на GND в цепи левого бокового пиропатрона

  • Блок управления системы SRS обнаруживает короткое замыкание на массу в цепи пиропатрона левой боковой подушки безопасности.

  • Неисправность левого бокового пиропатрона

  • Неисправность блока управления системы SRS

  • Напольный провод № 2

  • Левый боковой пиропатрон (подушка безопасности левого переднего сиденья в сборе)

  • Центральный блок управления системы SRS

Относится к режиму проверки

B1828/56

Короткое замыкание на B+ в цепи левого бокового пиропатрона

  • Блок управления системы SRS обнаруживает короткое замыкание на B+ в цепи пиропатрона левой боковой подушки безопасности.

  • Неисправность левого бокового пиропатрона

  • Неисправность блока управления системы SRS

  • Напольный провод № 2

  • Левый боковой пиропатрон (подушка безопасности левого переднего сиденья в сборе)

  • Центральный блок управления системы SRS

Относится к режиму проверки

СХЕМА ЭЛЕКТРИЧЕСКИХ СОЕДИНЕНИЙ

C323678E13

ПРЕДОСТЕРЕЖЕНИЕ / ПРИМЕЧАНИЕ / УКАЗАНИЕ

Note:

После выключения зажигания следует подождать некоторое время, прежде чем отсоединять провод от отрицательного (-) вывода вспомогательной аккумуляторной батареи. Поэтому, прежде чем приступать к этой работе, обязательно ознакомьтесь с примечанием относительно отсоединения провода от отрицательного (-) вывода вспомогательной аккумуляторной батареи.

Нажмите здесьClick hereClick hereClick here

Tip:
  • Выполните проверку с имитацией условий возникновения неисправности, выбрав на GTS режим проверки (Signal Check).

    Нажмите здесьClick here

  • Выбрав режим проверки (Signal Check), выполните проверку с имитацией условий возникновения неисправности, пошевелив каждый разъем системы подушек безопасности или совершив поездку по городским дорогам или дорогам без покрытия

    Нажмите здесьClick hereClick hereClick here

ПОРЯДОК ВЫПОЛНЕНИЯ

  1. ПРОВЕРЬТЕ РАЗЪЕМЫ

    1. C238350C01

      *1

      Левая подушка безопасности передних сидений в сборе

      *2

      Центральный блок управления системы SRS

      *3

      Напольный провод № 2

      Выключите питание.

    2. Отсоедините провод от отрицательного (-) вывода вспомогательной аккумуляторной батареи.

      CAUTION:

      После отсоединения провода от отрицательного (-) вывода вспомогательной аккумуляторной батареи подождите не менее 90 с, чтобы предотвратить срабатывание системы SRS.

    3. Проверьте правильность подключения разъемов к подушке безопасности левого переднего сиденья и центральному блоку управления системы SRS.

      OK

      Разъемы подсоединены должным образом.

      Tip:

      Если разъемы подсоединены ненадежно, подсоедините их и перейдите к следующей проверке.

    4. Отсоедините разъемы от подушки безопасности левого переднего сиденья и центрального блока управления системы SRS.

    5. Убедитесь, что контакты разъемов не деформированы и не повреждены.

      OK

      Контакты не деформированы и не повреждены.

    6. Убедитесь, что короткие пружины механизма предотвращения срабатывания в разъеме напольного провода № 2 не деформированы и не повреждены.

      OK

      Короткие пружины не деформированы и не повреждены.

    Result

    Перейти к

    OK

    НЕ СООТВ.

    НЕ СООТВ.

    ЗАМЕНИТЕ НАПОЛЬНЫЙ ПРОВОД № 2

    СООТВ
  2. ПРОВЕРЬТЕ ПОДУШКУ БЕЗОПАСНОСТИ ЛЕВОГО ПЕРЕДНЕГО СИДЕНЬЯ В СБОРЕ

    1. C295801C08

      *1

      Левая подушка безопасности передних сидений в сборе

      *2

      Блок управления системы SRS

      *a

      Вид спереди разъема со стороны жгута проводов:

      (к подушке безопасности левого переднего сиденья в сборе)

      Подсоедините разъем к блоку управления системы SRS.

    2. Подсоедините SST (сопротивление 2,1 Ом) к разъему С.

      CAUTION:

      Никогда не подключайте для измерения диагностический прибор к подушке безопасности левого переднего сиденья в сборе, так как это может привести к серьезной травме вследствие срабатывания подушки безопасности.

      Note:
      • При подсоединении не следует вставлять SST в контакты разъема с усилием.

      • Вставляйте SST в контакты разъема по прямой.

    3. Подсоедините провод к отрицательному (-) выводу вспомогательной аккумуляторной батареи.

    4. Удалите коды DTC, сохраненные в памяти.

      Нажмите здесьClick here

      Body Electrical > SRS Airbag > Clear DTCs

    5. Выключите питание.

    6. Включите питание (IG) и подождите не менее 60 с.

    7. Проверьте наличие кодов DTC.

      Нажмите здесьClick here

      Body Electrical > SRS Airbag > Trouble Codes

      OK

      Код DTC B1825/56, B1826/56, B1827/56 или B1828/56 не выводится.

      Tip:

      На этом этапе могут выводиться коды, отличные от кодов DTC B1825/56, B1826/56, B1827/56 и B1828/56, однако они не связаны с данной проверкой.

    8. Выключите зажигание.

    9. Отсоедините провод от отрицательного (-) вывода вспомогательной аккумуляторной батареи.

      CAUTION:

      После отсоединения провода от отрицательного (-) вывода вспомогательной аккумуляторной батареи подождите не менее 90 с, чтобы предотвратить срабатывание системы SRS.

    10. Отсоедините SST от разъема С.

    09843-18061

    Результат

    Перейти к

    OK

    НЕ СООТВ.

    OK

    ЗАМЕНИТЕ ЛЕВУЮ ПОДУШКУ БЕЗОПАСНОСТИ ПЕРЕДНИХ СИДЕНИЙ

    Нажмите здесьClick hereClick here

    NG
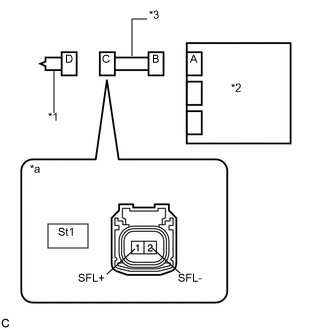
  3. ПРОВЕРЬТЕ НАПОЛЬНЫЙ ПРОВОД № 2

    1. C238352C24

      *1

      Левая подушка безопасности передних сидений в сборе

      *2

      Центральный блок управления системы SRS

      *3

      Напольный провод № 2

      *a

      Вид спереди разъема со стороны жгута проводов:

      (к подушке безопасности левого переднего сиденья в сборе)

      Отсоедините напольный провод № 2 от центрального блока управления системы SRS.

    2. Проверьте, нет ли в цепи короткого замыкания на B+.

      1. Подсоедините провод к отрицательному (-) выводу вспомогательной аккумуляторной батареи.

      2. Включите питание (IG).

      3. Измерьте напряжение в соответствии со значениями, приведенными в таблице.

        Номинальное напряжение

        Подключение диагностического прибора

        Условие

        Заданные условия

        St1-1 (SFL+) - масса

        Питание включено (IG)

        Менее 1 В

        St1-2 (SFL-) - масса

        Питание включено (IG)

        Менее 1 В

      4. Выключите питание.

      5. Отсоедините провод от отрицательного (-) вывода вспомогательной аккумуляторной батареи.

        CAUTION:

        После отсоединения провода от отрицательного (-) вывода вспомогательной аккумуляторной батареи подождите не менее 90 с, чтобы предотвратить срабатывание системы SRS.

    3. Проверьте, нет ли в цепи обрыва.

      1. Измерьте сопротивление в соответствии со значениями, приведенными в таблице ниже.

        Номинальное сопротивление

        Подключение диагностического прибора

        Условие

        Заданные условия

        St1-1 (SFL+) - St1-2 (SFL-)

        Всегда

        Менее 1 Ом

    4. Проверьте, нет ли в цепи короткого замыкания на массу.

      1. Измерьте сопротивление в соответствии со значениями, приведенными в таблице.

        Номинальное сопротивление

        Подключение диагностического прибора

        Условие

        Заданные условия

        St1-1 (SFL+) - масса

        Всегда

        1 МОм или более

        St1-2 (SFL-) - масса

        Всегда

        1 МОм или более

    5. Проверьте, нет ли в цепи короткого замыкания.

      1. Разомкните механизм предотвращения срабатывания, встроенный в разъем B.

        Нажмите здесьClick hereClick here

      2. Измерьте сопротивление в соответствии со значениями, приведенными в таблице ниже.

        Номинальное сопротивление

        Подключение диагностического прибора

        Условие

        Заданные условия

        St1-1 (SFL+) - St1-2 (SFL-)

        Всегда

        1 МОм или более

      3. Верните механизм предотвращения срабатывания разъема B в исходное состояние.

    Result

    Перейти к

    OK

    НЕ СООТВ.

    НЕ СООТВ.

    ЗАМЕНИТЕ НАПОЛЬНЫЙ ПРОВОД № 2

    СООТВ
  4. ПРОВЕРЬТЕ DTC

    1. C238353C01

      *1

      Левая подушка безопасности передних сидений в сборе

      *2

      Центральный блок управления системы SRS

      Подсоедините разъемы к подушке безопасности левого переднего сиденья и центральному блоку управления системы SRS.

    2. Подсоедините провод к отрицательному (-) выводу вспомогательной аккумуляторной батареи.

    3. Удалите коды DTC, сохраненные в памяти.

      Нажмите здесьClick here

      Body Electrical > SRS Airbag > Clear DTCs

    4. Выключите питание.

    5. Включите питание (IG) и подождите не менее 60 с.

    6. Проверьте наличие кодов DTC.

      Нажмите здесьClick here

      Body Electrical > SRS Airbag > Trouble Codes

      OK

      Код DTC B1825/56, B1826/56, B1827/56 или B1828/56 не выводится.

      Tip:

      На этом этапе могут выводиться коды, отличные от кодов DTC B1825/56, B1826/56, B1827/56 и B1828/56, однако они не связаны с данной проверкой.

    Result

    Перейти к

    OK

    НЕ СООТВ.

    OK

    ВЫПОЛНИТЕ ПРОВЕРКУ С ИМИТАЦИЕЙ УСЛОВИЙ ВОЗНИКНОВЕНИЯ НЕИСПРАВНОСТИ

    Нажмите здесьClick hereClick hereClick here

    NG

    ЗАМЕНИТЕ ЦЕНТРАЛЬНЫЙ БЛОК УПРАВЛЕНИЯ СИСТЕМЫ SRS

    Нажмите здесьClick hereClick hereClick here