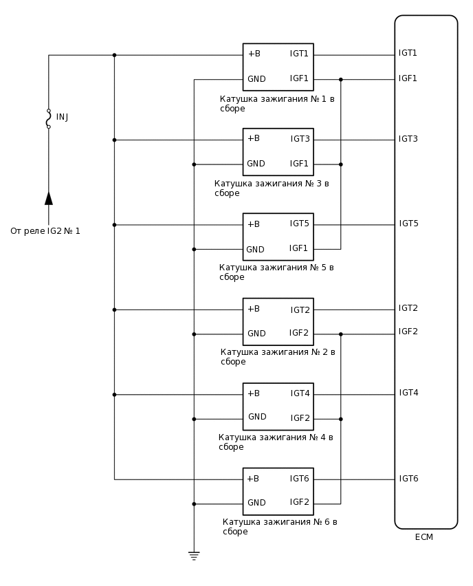
СИСТЕМА ЗАЖИГАНИЯ СХЕМА СИСТЕМЫ

A396142E02