AIRBAG SYSTEM, Diagnostic DTC:B1620/21

DTC Code DTC Name
B1620/21 Side Airbag Sensor RH Circuit Malfunction

DESCRIPTION

The side airbag sensor RH consists of a safing sensor, diagnostic circuit, lateral deceleration sensor, etc.

If the center airbag sensor receives signals from the lateral deceleration sensor, it determines whether the SRS should be activated.

DTC B1620/21 is stored when a malfunction is detected in the side airbag sensor RH circuit.

DTC Code

Detection Condition

Trouble Area

B1620/21

One of the following conditions is met:

  • A side airbag sensor RH malfunction.

  • A center airbag sensor malfunction.

  • Side airbag sensor assembly RH

  • Rear airbag sensor RH (w/ Curtain Shield Airbag)

  • No. 2 floor wire

  • Center airbag sensor assembly

WIRING DIAGRAM

C199306E17

CAUTION / NOTICE / HINT

Note:
  • After turning the ignition switch off, waiting time may be required before disconnecting the cable from the battery terminal. Therefore, make sure to read the disconnecting the cable from the battery terminal notice before proceeding with work (Click here).

  • When disconnecting the cable from the negative (-) battery terminal while performing repairs, some systems need to be initialized after the cable is reconnected (Click here).

PROCEDURE

  1. CHECK CONNECTION OF CONNECTORS

    1. Turn the ignition switch off.

    2. Disconnect the cable from the negative (-) battery terminal, and wait for at least 90 seconds.

    3. Check that the connectors are properly connected to the center airbag sensor and side airbag sensor RH.

      OK

      The connectors are properly connected.

    CONNECT CONNECTORS PROPERLY

  2. CHECK CONNECTORS

    1. C206429E02

      Disconnect the connectors from the center airbag sensor and side airbag sensor RH.

    2. Check that the connectors (on the center airbag sensor side and side airbag sensor RH side) are not damaged.

      OK

      The connectors are not deformed or damaged.

      Table 1. Text in Illustration

      *1

      Side Airbag Sensor RH

      *2

      No. 2 Floor Wire

      *3

      Center Airbag Sensor

    REPLACE NO. 2 FLOOR WIRE

  3. CHECK NO. 2 FLOOR WIRE (SIDE AIRBAG SENSOR RH CIRCUIT)

    1. Connect the cable to the negative (-) battery terminal, and wait for at least 2 seconds.

      C363569E01
    2. Measure the voltage according to the value(s) in the table below.

      Standard Voltage

      w/ Curtain Shield Airbag

      Tester Connection

      Switch Condition

      Specified Condition

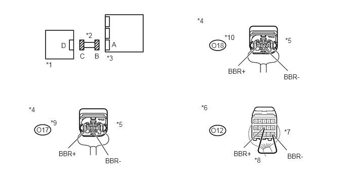
      O17-4 (BBR+) - Body ground

      Ignition switch ON

      Below 1 V

      O17-3 (BBR-) - Body ground

      w/o Curtain Shield Airbag

      Tester Connection

      Switch Condition

      Specified Condition

      O18-2 (BBR+) - Body ground

      Ignition switch ON

      Below 1 V

      O18-1 (BBR-) - Body ground

    3. Turn the ignition switch off.

    4. Disconnect the cable from the negative (-) battery terminal, and wait for at least 90 seconds.

    5. Using a service wire, connect terminals 8 (BBR+) and 11 (BBR-) of connector B.

      Note:

      Do not forcibly insert the service wire into the terminals of the connector when connecting a service wire.

    6. Measure the resistance according to the value(s) in the table below.

      Standard Resistance

      w/ Curtain Shield Airbag

      Tester Connection

      Condition

      Specified Condition

      O17-4 (BBR+) - O17-3 (BBR-)

      Always

      Below 1 Ω

      w/o Curtain Shield Airbag

      Tester Connection

      Condition

      Specified Condition

      O18-2 (BBR+) - O18-1 (BBR-)

      Always

      Below 1 Ω

    7. Disconnect the service wire from connector B.

    8. Measure the resistance according to the value(s) in the table below.

      Standard Resistance

      w/ Curtain Shield Airbag

      Tester Connection

      Condition

      Specified Condition

      O17-4 (BBR+) - O17-3 (BBR-)

      Always

      1 MΩ or higher

      O17-4 (BBR+) - Body ground

      O17-3 (BBR-) - Body ground

      w/o Curtain Shield Airbag

      Tester Connection

      Condition

      Specified Condition

      O18-2 (BBR+) - O18-1 (BBR-)

      Always

      1 MΩ or higher

      O18-2 (BBR+) - Body ground

      O18-1 (BBR-) - Body ground

    Table 2. Text in Illustration

    *1

    Side Airbag Sensor RH

    *2

    No. 2 Floor Wire

    *3

    Center Airbag Sensor

    *4

    Rear view of wire harness connector

    (to Side Airbag Sensor RH)

    *5

    Connector C

    *6

    Rear view of wire harness connector

    (to Center Airbag Sensor)

    *7

    Connector B

    *8

    Service Wire

    *9

    w/ Curtain Shield Airbag

    *10

    w/o Curtain Shield Airbag

    REPLACE NO. 2 FLOOR WIRE

  4. CHECK SIDE AIRBAG SENSOR RH

    1. C146230E27

      Interchange the side airbag sensor LH with RH and connect the connectors to them.

    2. Connect the cable to the negative (-) battery terminal, and wait for at least 2 seconds.

    3. Turn the ignition switch to ON, and wait for at least 60 seconds.

    4. Clear the DTCs stored in the memory (Click here).

    5. Turn the ignition switch off.

    6. Turn the ignition switch to ON, and wait for at least 60 seconds.

    7. Check for DTCs (Click here).

      Table 3. Result

      Result

      Proceed to

      DTC B1620 and B1625 are not output

      A

      DTC B1625 is output

      B

      DTC B1620 is output (w/o Curtain Shield Airbag)

      C

      DTC B1620 is output (w/ Curtain Shield Airbag)

      D

      Tip:

      Codes other than DTC B1620 and B1625 may be output at this time, but they are not related to this check.

      Table 4. Text in Illustration

      *1

      Side Airbag Sensor LH

      *2

      Center Airbag Sensor

    8. Turn the ignition switch off.

    9. Disconnect the cable from the negative (-) battery terminal, and wait for at least 90 seconds.

    10. Return the side airbag sensor LH and RH to their original positions and connect the connectors to them.

    USE SIMULATION METHOD TO CHECK

    REPLACE SIDE AIRBAG SENSOR ASSEMBLY RH

    REPLACE CENTER AIRBAG SENSOR ASSEMBLY

  5. CHECK CONNECTION OF CONNECTORS

    1. Check that the connector is properly connected to the rear airbag sensor RH.

      OK

      The connector is properly connected.

    CONNECT CONNECTORS PROPERLY

  6. CHECK CONNECTORS

    1. C206430E06

      Disconnect the connectors from the side airbag sensor RH and rear airbag sensor RH.

    2. Check that the connector (on the rear airbag sensor RH side) is not damaged.

      OK

      The connector is not deformed or damaged.

      Table 5. Text in Illustration

      *1

      Rear Airbag Sensor RH

      *2

      No. 2 Floor Wire

      *3

      Side Airbag Sensor RH

    REPLACE NO. 2 FLOOR WIRE

  7. CHECK NO. 2 FLOOR WIRE (REAR AIRBAG SENSOR RH CIRCUIT)

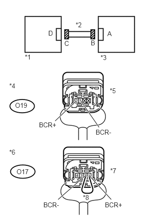
    1. U122992E02

      Connect the cable to the negative (-) battery terminal, and wait for at least 2 seconds.

    2. Measure the voltage according to the value(s) in the table below.

      Standard Voltage

      Tester Connection

      Switch Condition

      Specified Condition

      O19-2 (BCR+) - Body ground

      Ignition switch ON

      Below 1 V

      O19-1 (BCR-) - Body ground

    3. Turn the ignition switch off.

    4. Disconnect the cable from the negative (-) battery terminal, and wait for at least 90 seconds.

    5. Using a service wire, connect terminals 1 (BCR+) and 2 (BCR-) of connector B.

      Note:

      Do not forcibly insert the service wire into the terminals of the connector when connecting a service wire.

    6. Measure the resistance according to the value(s) in the table below.

      Standard Resistance

      Tester Connection

      Condition

      Specified Condition

      O19-2 (BCR+) - O19-1 (BCR-)

      Always

      Below 1 Ω

    7. Disconnect the service wire from connector B.

    8. Measure the resistance according to the value(s) in the table below.

      Standard Resistance

      Tester Connection

      Condition

      Specified Condition

      O19-2 (BCR+) - O19-1 (BCR-)

      Always

      1 MΩ or higher

      O19-2 (BCR+) - Body ground

      O19-1 (BCR-) - Body ground

    Table 6. Text in Illustration

    *1

    Rear Airbag Sensor RH

    *2

    No. 2 Floor Wire

    *3

    Side Airbag Sensor RH

    *4

    Rear view of wire harness connector

    (to Rear Airbag Sensor RH)

    *5

    Connector C

    *6

    Rear view of wire harness connector

    (to Side Airbag Sensor RH)

    *7

    Connector B

    *8

    Service Wire

    REPLACE NO. 2 FLOOR WIRE

  8. CHECK FOR DTC

    1. C198521E01

      Connect the connectors to the side airbag sensor RH.

    2. Connect the cable to the negative (-) battery terminal, and wait for at least 2 seconds.

    3. Turn the ignition switch to ON, and wait for at least 60 seconds.

    4. Clear the DTCs stored in the memory (Click here).

    5. Turn the ignition switch off.

    6. Turn the ignition switch to ON, and wait for at least 60 seconds.

    7. Check for DTCs (Click here).

      OK

      DTC B1620 is output.

      Table 7. Result

      Result

      Proceed to

      OK

      A

      NG (w/ Rear No. 2 Seat)

      B

      NG (w/o Rear No. 2 Seat)

      C

      Tip:

      Codes other than B1620 may be output at this time, but they are not related to this check.

      Table 8. Text in Illustration

      *1

      Rear Airbag Sensor RH

      *2

      Side Airbag Sensor RH

    REPLACE REAR AIRBAG SENSOR RH

    REPLACE REAR AIRBAG SENSOR RH

  9. CHECK SIDE AIRBAG SENSOR RH

    1. C146230E28

      Interchange the side airbag sensor LH with RH and connect the connectors to them.

    2. Connect the cable to the negative (-) battery terminal, and wait for at least 2 seconds.

    3. Turn the ignition switch to ON, and wait for at least 60 seconds.

    4. Clear the DTCs stored in the memory (Click here).

    5. Turn the ignition switch off.

    6. Turn the ignition switch to ON, and wait for at least 60 seconds.

    7. Check for DTCs (Click here).

      Table 9. Result

      Result

      Proceed to

      DTC B1620 and B1625 are not output

      A

      DTC B1625 is output

      B

      DTC B1620 is output

      C

      Tip:

      Codes other than DTC B1620 and B1625 may be output at this time, but they are not related to this check.

      Table 10. Text in Illustration

      *1

      Side Airbag Sensor LH

      *2

      Center Airbag Sensor

    8. Turn the ignition switch off.

    9. Disconnect the cable from the negative (-) battery terminal, and wait for at least 90 seconds.

    10. Return the side airbag sensor LH and RH to their original positions and connect the connectors to them.

    USE SIMULATION METHOD TO CHECK

    REPLACE SIDE AIRBAG SENSOR ASSEMBLY RH

    REPLACE CENTER AIRBAG SENSOR ASSEMBLY