СИСТЕМА ОСВЕЩЕНИЯ Цепь реле системы подфарников, включаемых при движении в светлое время суток

Код DTC Наименование DTC
Цепь реле системы подфарников, включаемых при движении в светлое время суток

ОПИСАНИЕ

Включение подфарников (габаритных фонарей в сборе), включаемых при движении в светлое время суток, и габаритных фонарей осуществляется под управлением ЭБУ системы управления фарами.

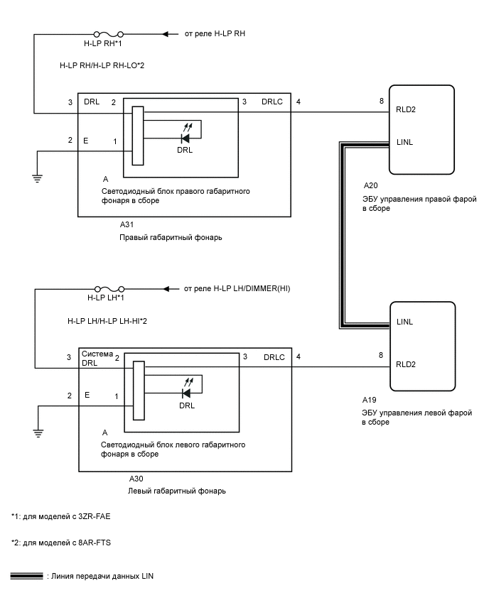
СХЕМА СОЕДИНЕНИЙ

E308250E01

ПРЕДОСТЕРЕЖЕНИЕ / ПРИМЕЧАНИЕ / УКАЗАНИЕ

Note:

Перед выполнением следующей процедуры проверки проверьте предохранители цепей, относящихся к данной системе.

ПОРЯДОК ВЫПОЛНЕНИЯ

  1. ВЫПОЛНИТЕ АКТИВНУЮ ДИАГНОСТИКУ С ПОМОЩЬЮ GTS (DAYTIME RUNNING LIGHT)

    1. При помощи GTS выполните активную диагностику.

      Нажмите здесьЩелкните по следующей ссылке

      Body Electrical > HL AutoLeveling > Active Test

      Информация на дисплее прибора

      Измеряемая величина

      Диапазон регулирования

      Замечание по диагностике

      Clearance Light

      Включает фары адаптивного головного бокового освещения

      ON (ВКЛ) или OFF (ВЫКЛ)

      -

      Подфарник, включаемый при движении в светлое время суток

      Включает подфарники, включаемые при движении в светлое время суток

      ON (ВКЛ) или OFF (ВЫКЛ)

      -

      Body Electrical > HL AutoLeveling > Active Test

      Информация на дисплее прибора

      Clearance Light

      Body Electrical > HL AutoLeveling > Active Test

      Информация на дисплее прибора

      Подфарник, включаемый при движении в светлое время суток

    Result

    Result

    Перейдите к

    Испытание Active Test выполняется должным образом

    A

    Испытание Active Test не выполняется должным образом только для правой фары

    B

    Испытание Active Test не выполняется должным образом только для левой фары

    C

    A

    ПЕРЕЙДИТЕ К СЛЕДУЮЩЕМУ ПРЕДПОЛАГАЕМОМУ УЧАСТКУ, УКАЗАННОМУ В ТАБЛИЦЕ ПРИЗНАКОВ НЕИСПРАВНОСТЕЙ

    C

    ПРОВЕРЬТЕ ЖГУТ ПРОВОДОВ И РАЗЪЕМ (ЛЕВЫЙ ГАБАРИТНЫЙ ФОНАРЬ В СБОРЕ - АККУМУЛЯТОРНАЯ БАТАРЕЯ И МАССА)Щелкните по следующей ссылке

    B
  2. ПРОВЕРЬТЕ ЖГУТ ПРОВОДОВ И РАЗЪЕМ (ПРАВЫЙ ГАБАРИТНЫЙ ФОНАРЬ В СБОРЕ - АККУМУЛЯТОРНАЯ БАТАРЕЯ И МАССА)

    1. E299153C03

      *a

      Вид спереди разъема со стороны жгута проводов:

      (к правому габаритному фонарю в сборе)

      Отсоедините разъем правого габаритного фонаря в сборе.

    2. Измерьте напряжение в соответствии со значениями, приведенными в таблице.

      Номинальное напряжение

      Контакты для подключения диагностического прибора

      Положение переключателя

      Номинальное значение

      A31-3 (DRL) - масса

      Питание включено (IG)

      11 - 14 В

    3. Измерьте сопротивление в соответствии со значениями, приведенными в таблице ниже.

      Номинальное сопротивление

      Подключение диагностического прибора

      Условие

      Номинальное значение

      A31-2 (E) - масса

      Всегда

      Менее 1 Ом

    Результат

    Перейти к

    OK

    НЕ СООТВ.

    НЕ СООТВ.

    ОТРЕМОНТИРУЙТЕ ИЛИ ЗАМЕНИТЕ ЖГУТ ПРОВОДОВ ИЛИ РАЗЪЕМ

    СООТВ
  3. ПРОВЕРЬТЕ ЖГУТ ПРОВОДОВ И РАЗЪЕМ (ПРАВЫЙ ЭБУ УПРАВЛЕНИЯ ОСВЕЩЕНИЕМ В СБОРЕ - ПРАВЫЙ ГАБАРИТНЫЙ ФОНАРЬ В СБОРЕ)

    1. Отсоедините разъем А20 ЭБУ управления правой фарой в сборе.

    2. Отсоедините разъем A31 правого габаритного фонаря в сборе.

    3. Измерьте сопротивление в соответствии со значениями, приведенными в таблице.

      Номинальное сопротивление

      Подключение диагностического прибора

      Условие

      Номинальное значение

      A20-8 (RLD2) - A31-4 (DRLC)

      Всегда

      Менее 1 Ом

      A20-8 (RLD2) или A31-4 (DRLC) - масса

      Всегда

      10 кОм или более

    Результат

    Перейти к

    OK

    НЕ СООТВ.

    НЕ СООТВ.

    ОТРЕМОНТИРУЙТЕ ИЛИ ЗАМЕНИТЕ ЖГУТ ПРОВОДОВ ИЛИ РАЗЪЕМ

    СООТВ
  4. ПРОВЕРЬТЕ ПРАВЫЙ ГАБАРИТНЫЙ ФОНАРЬ В СБОРЕ

    1. Снимите правый габаритный фонарь в сборе.

      для повторителя указателя поворота со светодиодом:

      Нажмите здесьЩелкните по следующей ссылке

      для повторителя указателя поворота с лампой накаливания:

      Нажмите здесьЩелкните по следующей ссылке

    2. Проверьте правый габаритный фонарь в сборе.

      для повторителя указателя поворота со светодиодом:

      Нажмите здесьЩелкните по следующей ссылке

      для повторителя указателя поворота с лампой накаливания:

      Нажмите здесьЩелкните по следующей ссылке

    Результат

    Перейти к

    OK

    НЕ СООТВ.

    OK

    ЗАМЕНИТЕ ПРАВЫЙ ЭБУ УПРАВЛЕНИЯ ОСВЕЩЕНИЕМ В СБОРЕ

    NG
  5. ПРОВЕРЬТЕ ПРАВЫЙ ГАБАРИТНЫЙ ФОНАРЬ В СБОРЕ

    1. E299171E02

      Снимите правый габаритный фонарь в сборе.

      для повторителя указателя поворота со светодиодом:

      Нажмите здесьЩелкните по следующей ссылке

      для повторителя указателя поворота с лампой накаливания:

      Нажмите здесьЩелкните по следующей ссылке

    2. Снимите светодиодный блок правого габаритного фонаря в сборе с правого габаритного фонаря в сборе.

      для повторителя указателя поворота со светодиодом:

      Нажмите здесьЩелкните по следующей ссылке

      для повторителя указателя поворота с лампой накаливания:

      Нажмите здесьЩелкните по следующей ссылке

    3. Измерьте сопротивление в соответствии со значениями, приведенными в таблице ниже.

      Номинальное сопротивление

      Подключение диагностического прибора

      Условие

      Номинальное значение

      A-1 - B-2 (E)

      Всегда

      Менее 1 Ом

      A-2 - B-3 (DRL)

      Всегда

      Менее 1 Ом

      A-3 - B-4 (DRLC)

      Всегда

      Менее 1 Ом

    Результат

    Перейти к

    OK

    НЕ СООТВ.

    OK

    ЗАМЕНИТЕ СВЕТОДИОДНЫЙ БЛОК ПРАВОГО ГАБАРИТНОГО ФОНАРЯ В СБОРЕ

    для повторителя указателя поворота со светодиодом:

    Нажмите здесьЩелкните по следующей ссылке

    для повторителя указателя поворота с лампой накаливания:

    Нажмите здесьЩелкните по следующей ссылке

    NG

    ЗАМЕНИТЕ ПРАВЫЙ ГАБАРИТНЫЙ ФОНАРЬ В СБОРЕ

    для повторителя указателя поворота со светодиодом:

    Нажмите здесьЩелкните по следующей ссылке

    для повторителя указателя поворота с лампой накаливания:

    Нажмите здесьЩелкните по следующей ссылке

  6. ПРОВЕРЬТЕ ЖГУТ ПРОВОДОВ И РАЗЪЕМ (ЛЕВЫЙ ГАБАРИТНЫЙ ФОНАРЬ В СБОРЕ - АККУМУЛЯТОРНАЯ БАТАРЕЯ И МАССА)

    1. E299153C04

      *a

      Вид спереди разъема со стороны жгута проводов:

      (к левому габаритному фонарю в сборе)

      Отсоедините разъем левого габаритного фонаря в сборе.

    2. Измерьте напряжение в соответствии со значениями, приведенными в таблице.

      Номинальное напряжение

      Контакты для подключения диагностического прибора

      Положение переключателя

      Номинальное значение

      A30-3 (DRL) - масса

      Питание включено (IG)

      11 - 14 В

    3. Измерьте сопротивление в соответствии со значениями, приведенными в таблице ниже.

      Номинальное сопротивление

      Подключение диагностического прибора

      Условие

      Номинальное значение

      A30-2 (E) - масса

      Всегда

      Менее 1 Ом

    Результат

    Перейти к

    OK

    НЕ СООТВ.

    НЕ СООТВ.

    ОТРЕМОНТИРУЙТЕ ИЛИ ЗАМЕНИТЕ ЖГУТ ПРОВОДОВ ИЛИ РАЗЪЕМ

    СООТВ
  7. ПРОВЕРЬТЕ ЖГУТ ПРОВОДОВ И РАЗЪЕМ (ЭБУ УПРАВЛЕНИЯ ЛЕВОЙ ФАРОЙ В СБОРЕ - ЛЕВЫЙ ГАБАРИТНЫЙ ФОНАРЬ В СБОРЕ)

    1. Отсоедините разъем А19 ЭБУ управления левой фарой в сборе.

    2. Отсоедините разъем A30 левого габаритного фонаря в сборе.

    3. Измерьте сопротивление в соответствии со значениями, приведенными в таблице ниже.

      Номинальное сопротивление

      Подключение диагностического прибора

      Условие

      Номинальное значение

      A19-8 (RLD2) - A30-4 (DRLC)

      Всегда

      Менее 1 Ом

      A19-8 (RLD2) или A30-4 (DRLC) - масса

      Всегда

      10 кОм или более

    Результат

    Перейти к

    OK

    НЕ СООТВ.

    НЕ СООТВ.

    ОТРЕМОНТИРУЙТЕ ИЛИ ЗАМЕНИТЕ ЖГУТ ПРОВОДОВ ИЛИ РАЗЪЕМ

    СООТВ
  8. ПРОВЕРЬТЕ ЛЕВЫЙ ГАБАРИТНЫЙ ФОНАРЬ В СБОРЕ

    1. Снимите левый габаритный фонарь в сборе.

      для повторителя указателя поворота со светодиодом:

      Нажмите здесьЩелкните по следующей ссылке

      для повторителя указателя поворота с лампой накаливания:

      Нажмите здесьЩелкните по следующей ссылке

    2. Проверьте левый габаритный фонарь в сборе.

      для повторителя указателя поворота со светодиодом:

      Нажмите здесьЩелкните по следующей ссылке

      для повторителя указателя поворота с лампой накаливания:

      Нажмите здесьЩелкните по следующей ссылке

    Результат

    Перейти к

    OK

    НЕ СООТВ.

    OK

    ЗАМЕНИТЕ ЭБУ УПРАВЛЕНИЯ ЛЕВОЙ ФАРОЙ В СБОРЕ

    NG
  9. ПРОВЕРЬТЕ ЛЕВЫЙ ГАБАРИТНЫЙ ФОНАРЬ В СБОРЕ

    1. E299171E02

      Снимите правый габаритный фонарь в сборе.

      для повторителя указателя поворота со светодиодом:

      Нажмите здесьЩелкните по следующей ссылке

      для повторителя указателя поворота с лампой накаливания:

      Нажмите здесьЩелкните по следующей ссылке

    2. Снимите светодиодный блок левого габаритного фонаря в сборе с левого габаритного фонаря в сборе.

      для повторителя указателя поворота со светодиодом:

      Нажмите здесьЩелкните по следующей ссылке

      для повторителя указателя поворота с лампой накаливания:

      Нажмите здесьЩелкните по следующей ссылке

    3. Снимите распределительный блок панели приборов в сборе.

    4. Измерьте сопротивление в соответствии со значениями, приведенными в таблице.

      Номинальное сопротивление

      Подключение диагностического прибора

      Условие

      Номинальное значение

      A-1 - B-2 (E)

      Всегда

      Менее 1 Ом

      A-2 - B-3 (DRL)

      Всегда

      Менее 1 Ом

      A-3 - B-4 (DRLC)

      Всегда

      Менее 1 Ом

    Результат

    Перейти к

    OK

    НЕ СООТВ.

    OK

    ЗАМЕНИТЕ СВЕТОДИОДНЫЙ БЛОК ЛЕВОГО ГАБАРИТНОГО ФОНАРЯ В СБОРЕ

    для повторителя указателя поворота со светодиодом:

    Нажмите здесьЩелкните по следующей ссылке

    для повторителя указателя поворота с лампой накаливания:

    Нажмите здесьЩелкните по следующей ссылке

    NG

    ЗАМЕНИТЕ ЛЕВЫЙ ГАБАРИТНЫЙ ФОНАРЬ В СБОРЕ

    для повторителя указателя поворота со светодиодом:

    Нажмите здесьЩелкните по следующей ссылке

    для повторителя указателя поворота с лампой накаливания:

    Нажмите здесьЩелкните по следующей ссылке