BACK DOOR GLASS REMOVAL

PROCEDURE

  1. REMOVE BACK DOOR CENTER GARNISH

  2. REMOVE BACK DOOR SIDE GARNISH LH

  3. REMOVE BACK DOOR SIDE GARNISH RH

  4. REMOVE BACK DOOR TRIM BOARD ASSEMBLY

  5. REMOVE REAR SPOILER

  6. REMOVE REAR WIPER ARM COVER

  7. REMOVE REAR WIPER ARM AND BLADE ASSEMBLY

  8. REMOVE NO. 1 REAR WIPER LINK PIVOT WASHER

  9. REMOVE REAR WIPER MOTOR ASSEMBLY

  10. REMOVE BACK DOOR GLASS

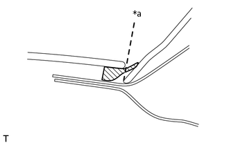
    1. E268581C02

      *a

      Cut

      Using a knife, cut off the moulding as shown in the illustration.

      Tip:

      Do not damage the body with the knife.

    2. Remove the remaining moulding.

    3. Disconnect the rear window defogger connector.

    4. E268584C01

      *1

      Protective Tape

      *2

      No. 1 Window Glass Spacer

      *3

      No. 2 Window Glass Spacer

      *4

      Back Door Glass Spacer

      *5

      Piano Wire

      Apply protective tape to the outer surface of the vehicle body to prevent scratches.

      Note:

      When separating the back door glass from the vehicle, be careful not to damage the vehicle paint or interior/exterior ornaments.

    5. From the interior, insert a piano wire between the vehicle body and back door glass as shown in the illustration.

    6. Tie objects that can serve as handles (for example, wooden blocks) to both wire ends.

    7. E268585C01

      *1

      Matchmark

      Place matchmarks over the glass and vehicle body at the locations indicated in the illustration.

      Tip:

      Matchmarks do not need to be placed if the glass is not going to be reused.

    8. Cut through the adhesive by pulling the piano wire around the back door glass.

      Note:

      Leave as much adhesive on the vehicle body as possible when removing the back door glass.

    9. Using suction cups, remove the back door glass.

  11. REMOVE BACK WINDOW LOWER MOULDING

    E271072C01

    *A

    Back Side

    1. When reusing the back door glass:

      1. Using a scraper, remove the back door window lower moulding.

        Note:
        • Be careful not to damage the back door glass.

        • Be sure to replace the back door window lower moulding with a new one.

  12. REMOVE BACK WINDOW OUTSIDE MOULDING LH

    E271071C02

    *A

    Back Side

    1. When reusing the back door glass:

      1. Using a scraper, remove the back door window outside moulding LH.

        Note:
        • Be careful not to damage the back door glass.

        • Be sure to replace the back door window outside moulding LH with a new one.

  13. REMOVE BACK WINDOW OUTSIDE MOULDING

    Tip:

    Use the same procedure described for the LH side.

  14. REMOVE BACK DOOR GLASS SPACER

    1. When reusing the back door glass:

      1. E268588C02

        *A

        Back Side

        *1

        Back Door Glass Spacer

        Using a scraper, remove the back door glass spacer.

        Note:
        • Be careful not to damage the back door glass.

        • Be sure to replace the back door glass spacer with a new one.

  15. REMOVE NO. 1 BACK DOOR GLASS SPACER

    1. When reusing the back door glass:

      1. E268589C02

        *A

        Back Side

        *1

        Back Door Glass Spacer

        Using a scraper, remove the No. 1 back door glass spacer.

        Note:
        • Be careful not to damage the back door glass.

        • Be sure to replace the No. 1 back door glass spacer with a new one.

  16. REMOVE NO. 2 BACK WINDOW GLASS SPACER

    Tip:

    Use the same procedure described for the other side.

  17. CLEAN BACK DOOR GLASS

    E268586
    1. Clean the outer edge of the back door glass with non-residue solvent.

      Note:
      • Do not touch the back door glass surface after cleaning it.

      • Be careful not to damage the glass.

      • Even if using a new back door glass, clean the back door glass with non-residue solvent.

  18. CLEAN VEHICLE BODY

    E268587C01

    *1

    Adhesive

    *2

    Vehicle Body

    1. Using a scraper, remove the moulding and adhesive from the back door glass.

    2. Clean and shape the contact surface of the vehicle body.

      1. On the contact surface of the vehicle body, use a knife to cut away excess adhesive as shown in the illustration.

        Tip:

        Leave as much adhesive on the vehicle body as possible.

        Note:

        Be careful not to damage the vehicle body.

      2. Clean the contact surface of the vehicle body with cleaner.

        Tip:

        Even if all the adhesive has been removed, clean the vehicle body.