СИСТЕМА МЕХАНИЧЕСКОЙ ТРАНСМИССИИ


  1. CONSTRUCTION


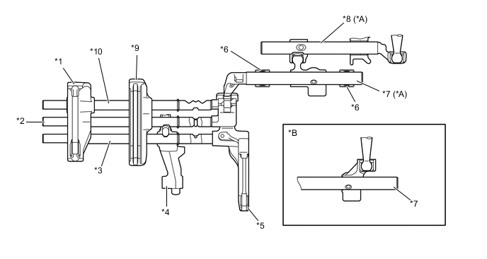
    1. The shift and select mechanism consists of 3 gear shift fork shafts, 3 gear shift forks, a reverse shift fork, a reverse shift arm and a shift and select lever.

    2. An aluminum die-cast shift fork with superior anti-friction performance is used for the No. 1 gear shift fork and No. 2 gear shift fork.

    3. A gear shift fork pad is provided on the tip of the No. 3 gear shift fork to reduce sliding resistance.

    4. A reverse mis-shift prevention mechanism and a reverse 1-way mechanism have been provided to ensure reliability.

    5. Slide ball bearings are provided on the support portion of the shift and select lever to reduce sliding resistance. As a result, a smooth shift change is possible.

      A01KXGRC01
      *A Models with Large Console Box *B Models with Small Console Box
      *1 No. 2 Gear Shift Fork *2 No. 1 Gear Shift Fork Shaft
      *3 No. 3 Gear Shift Fork Shaft *4 Reverse Shift Fork
      *5 No. 3 Gear Shift Fork *6 Slide Ball Bearing
      *7 Shift and Select Lever *8 Control Shaft
      *9 No. 1 Gear Shift Fork *10 No. 2 Gear Shift Fork Shaft