ОГРАНИЧИТЕЛЬ ПРИЖИМНОЙ ПЛАСТИНЫ ЗАМЕНА

ПОРЯДОК ВЫПОЛНЕНИЯ

  1. СНИМИТЕ ОГРАНИЧИТЕЛЬ ПРИЖИМНОЙ ПЛАСТИНЫ

    1. B244166C10

      *a

      Клейкая лента

      *b

      Прижимная пластина

      *c

      Сломанный ограничитель прижимной пластины

      Сдвиньте прижимную пластину выше положения установки ограничителя прижимной пластины и временно закрепите ее клейкой лентой.

    2. С помощью плоскогубцев удалите все остатки первоначального ограничителя прижимной пластины из ремня безопасности.

      Note:

      Соблюдайте осторожность, чтобы не повредить ремень безопасности при ремонте.

  2. УСТАНОВИТЕ ОГРАНИЧИТЕЛЬ ПРИЖИМНОЙ ПЛАСТИНЫ

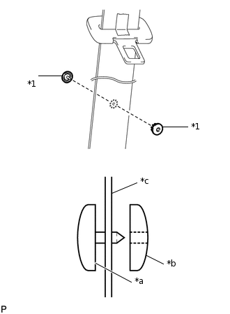
    1. B245036C51

      *1

      Ограничитель прижимной пластины

      *a

      Вилка

      *b

      Розетка

      *c

      Корд ремня безопасности

      Установите новый ограничитель прижимной пластины в отверстие ремня безопасности.

      Tip:

      Убедитесь, что ограничитель прижимной пластины установлен в направлении, показанном на рисунке.

    2. B244167C11
      V100155

      Защитная клейкая лента

      Зафиксируйте ограничитель прижимной пластины в отверстии ремня с помощью разводного ключа и поверните регулировочный винт разводного ключа рукой, чтобы сжать ограничитель прижимной пластины.

      Note:
      • При использовании разводного ключа убедитесь, что охватывающая и охватываемая части ограничителя прижимной пластины установлены параллельно друг другу.

      • Не сжимайте штырь ограничителя прижимной пластины плоскогубцами. Это может привести к повреждению ограничителя прижимной пластины и корда ремня.

      Tip:

      Перед использованием разводного ключа оберните его губки лентой.

    3. B244168N02

      Если регулировочный винт разводного ключа более не поворачивается вручную, затяните его с помощью регулируемых шарнирных клещей таким образом, чтобы толщина ограничителя прижимной пластины составляла 4,5-5,0 мм (0,177-0,197 дюйма). (См. рисунки.)

      Table 1. Номинальный зазор

      Область

      Расстояние

      a

      4,5 - 5,0 мм (0,177 - 0,197 дюйма)

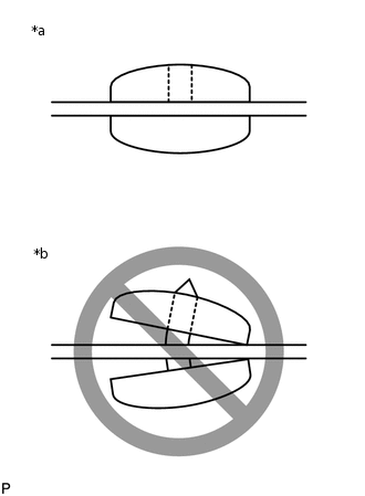
    4. B245037C03

      *a

      Правильно

      *b

      Неправильно

      Удостоверьтесь, что штырь с охватываемой стороны ограничителя прижимной пластины равномерно вошел в отверстие охватывающей части и надежно удерживается в корде ремня. (См. рисунки.)