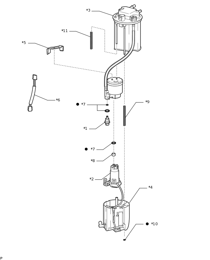
CANISTER(w/o Canister Pump Module) COMPONENTS
ILLUSTRATION
*1 |
FUEL PRESSURE REGULATOR ASSEMBLY |
*2 |
FUEL PUMP ASSEMBLY WITH FILTER |
*3 |
FUEL SUCTION PLATE SUB-ASSEMBLY (CANISTER) |
*4 |
NO. 1 FUEL SUB-TANK |
*5 |
NO. 1 FUEL SUCTION SUPPORT |
*6 |
FUEL PUMP HARNESS |
*7 |
O-RING |
*8 |
FUEL PUMP SPACER |
*9 |
NO. 3 FUEL TANK CUSHION |
*10 |
FUEL TANK PIPE SETTING HOLDER |
*11 |
NO. 2 FUEL TANK CUSHION |
- |
- |
● |
Non-reusable part |
- |
- |