ENTRY AND START SYSTEM(for Entry Function) OPERATION CHECK

  1. CHECK ENTRY AND START SYSTEM (for Entry Function) OPERATION

    Note:

    Make sure that the entry and start system (for Entry Function) has not been canceled before performing this inspection.

    1. Check the entry unlock function (driver door, front passenger door).

      1. Perform a wireless lock operation to lock the door, touch the unlock sensor built into the backside of the front door outside handle assembly of the driver door while carrying the electrical key transmitter sub-assembly and check that the door unlocks.

        Tip:

        To perform a wireless lock operation, press the lock button of the electrical key transmitter sub-assembly while standing near the front door outside handle assembly.

      2. B340882C04

        *a

        0.7 to 1 m (2.30 to 3.28 ft.)

        Inspect the entry unlock detection area. Hold the electrical key transmitter sub-assembly at the same height as the front door outside handle assembly and approximately 0.7 m (2.30 ft.) from the vehicle as shown in the illustration and check that the LED (red) of the electrical key transmitter sub-assembly blinks.

      3. With the system in unlock standby mode, grasp the front door outside handle assembly and check that the door unlocks.

        Tip:
        • The system is in unlock standby mode when the electrical key transmitter sub-assembly is in the detection area and the key ID code sent by the electrical key transmitter sub-assembly matches the key ID code stored by the certification ECU (smart key ECU assembly).

        • Communication may not be possible if the electrical key transmitter sub-assembly is within 0.2 m (0.656 ft.) of the front door outside handle assembly.

        • Inspect the front passenger door using the same procedure.

      4. B323961C01

        *a

        Unlock Sensor (Backside)

        Check the unlock response sensitivity. With the system in unlock standby mode, touch the area shown in the illustration and check that the door unlocks.

        Note:

        If the sensor is touched too quickly or released too slowly, the sensor may not react and the door will not unlock.

    2. B313855C01

      *a

      Lock Sensor

      Check the entry lock function (driver door, front passenger door).

      Note:

      If the electrical key transmitter sub-assembly is in the vehicle but outside the detection area (on the instrument panel, in the glove box, on the floor) and a door lock operation is performed, the key lock-in prevention function will not operate and the electrical key transmitter sub-assembly will be locked inside the vehicle.

      1. With the door closed and unlocked, touch the lock sensor of the front door outside handle assembly of the driver door while carrying the electrical key transmitter sub-assembly and check that the door locks.

        Tip:

        If the door does not lock even when touching the lock sensor, touch it with your palm.

      2. B340882C04

        *a

        0.7 to 1 m (2.30 to 3.28 ft.)

        Inspect the entry lock operating range. Hold the electrical key transmitter sub-assembly approximately 0.1 m (0.328 ft.) below the bottom edge of the door glass and approximately 0.3 m (0.984 ft.) from the vehicle as shown in the illustration, touch the lock sensor and check that the door locks.

        Tip:
        • If the door does not lock even when touching the lock sensor, touch it with your palm.

        • As communication may not be possible if the electrical key transmitter sub-assembly is within 0.2 m (0.656 ft.) of the front door outside handle assembly, the door may not lock if the lock sensor is touched with the same hand that is carrying the electrical key transmitter sub-assembly, etc.

        • If the key lock-in prevention function buzzer sounds, electric waves from the indoor electrical key antenna may be leaking from the vehicle.

        • Inspect the front passenger door using the same procedure.

        • The door lock operation cannot be performed more than 3 times consecutively.*

          *: w/ Wireless Door Lock Buzzer Answer Back Function

    3. Check the entry back open function.

      1. B340883C01

        *1

        Back Door Opener Switch Assembly (Open Switch)

        *a

        Approximately 0.7 m (2.30 ft.)

        Perform a wireless lock operation to lock the doors, operate the unlock switch of the back door opener switch while carrying the electrical key transmitter sub-assembly and check that the door unlocks.

      2. Inspect the entry back door open operating range. While standing at the rear of the vehicle, hold the electrical key transmitter sub-assembly so that it is facing the direction shown in the illustration at the same height as the back door opener switch assembly and approximately 0.7 m (2.30 ft.) from the vehicle, press the unlock switch of the back door opener switch assembly and check that the door unlocks.

    4. Check the entry back door lock function.

      Note:

      If the electrical key transmitter sub-assembly is inside the vehicle and a door lock operation is performed, it is possible that the electrical key transmitter sub-assembly may be locked inside the vehicle.

      1. With the door closed and unlocked, press the lock switch of the back door opener switch assembly while carrying the electrical key transmitter sub-assembly outside of the vehicle and check that the door locks.

      2. B340883C01

        *1

        Back Door Opener Switch Assembly (Lock Switch)

        *a

        Approximately 0.3 m (0.984 ft.)

        Inspect the entry back door lock operating range. Hold the electrical key transmitter sub-assembly so that it is facing the direction shown in the illustration at the same height as the top edge of the rear bumper and approximately 0.3 m (0.984 ft.) from the vehicle, press the lock of the back door opener switch assembly and check that the door locks.

        Tip:
        • Communication may not be possible if the electrical key transmitter sub-assembly is within 0.2 m (0.656 ft.) of the rear bumper.

        • If the key lock-in prevention function buzzer sounds, electric waves from the indoor electrical key antenna assembly may be leaking from the vehicle.

    5. Check the key lock-in prevention function (vehicle interior).

      Note:

      In order to prevent the electrical key transmitter sub-assembly from being locked inside the vehicle, perform this inspection with the window of a door open.

      1. Turn the power switch off.

      2. Place the electrical key transmitter sub-assembly on a front or rear seat.

      3. Close the door, making sure the doors are unlocked.

      4. Touch a door lock sensor and check that the doors do not lock and the key lock-in prevention function buzzer (external) sounds for approximately 5 seconds.

    6. Check the push start function.

      1. With the power switch off, move the shift lever to P, depress the brake pedal while carrying the electrical key transmitter sub-assembly. Then, press the power switch and check that the hybrid control system starts.

      2. With the brake pedal released and the power switch off, press the power switch while carrying the electrical key transmitter sub-assembly and check that the power source mode changes as follows: off → on (ACC) → on (IG) → off.

      3. Stop the vehicle, press the power switch and check that the power source mode changes to off (the hybrid control system stops and all electrical systems are off).

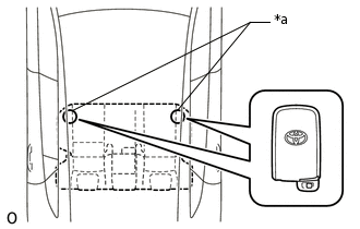
      4. B340886C01

        *a

        Inspection Point

        Inspect the push start operating range (front floor). Place the electrical key transmitter sub-assembly on the front seat at either inspection point so that it is facing in the direction shown in the illustration and check that the hybrid control system can be started.

        Note:
        • Even if the electrical key transmitter sub-assembly is within the vehicle interior detection area, the electrical key transmitter sub-assembly may not be properly detected if it is on the instrument panel, in the glove box or on the floor.

        • Communication may not be possible if the electrical key transmitter sub-assembly is within 0.2 m (0.656 ft.) of the shift lever.

        Tip:

        Perform the inspection for both inspection points.

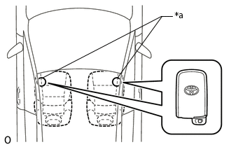
      5. B340887C01

        *a

        Inspection Point

        Inspect the push start operating range (rear floor). Place the key on the rear seat at either inspection point so that it is facing in the direction shown in the illustration and check that the hybrid control system can be started.

        Note:
        • Even if the key is within the vehicle interior detection area, the key may not be properly detected if it is on the instrument panel, in the glove box or on the floor.

        • Communication may not be possible if the key is within 0.2 m (0.66 ft.) of the center of the rear seat cushion.

        Tip:

        Perform the inspection for both inspection points.

      6. B340884C01

        *a

        Inspection Point

        Inspect the push start operating range (inside luggage). Place the key at either inspection point and check that the hybrid control system can be started.

        Note:
        • Even if the key is within the vehicle interior detection area, the key may not be properly detected if it is on the instrument panel, in the glove box or on the floor.

        • Communication may not be possible if the key is within 0.2 m (0.66 ft.) of the center of the luggage.

        Tip:

        Perform the inspection for both inspection points.

    7. Check the push start function.

      1. With the power switch off, depress the clutch pedal while carrying the electrical key transmitter sub-assembly. Then, press the power switch and check that the hybrid control system starts.

      2. With the clutch pedal released and the power switch off, press the power switch while carrying the electrical key transmitter sub-assembly and check that the power source mode changes as follows: off → on (ACC) → on (IG) → off.

      3. Stop the vehicle, press the power switch and check that the power source mode changes to off (the hybrid control system stops and all electrical systems are off).

      4. B340886C01

        *a

        Inspection Point

        Inspect the push start operating range (front floor). Place the electrical key transmitter sub-assembly on the front seat at either inspection point so that it is facing in the direction shown in the illustration and check that the hybrid control system can be started.

        Note:
        • Even if the electrical key transmitter sub-assembly is within the vehicle interior detection area, the electrical key transmitter sub-assembly may not be properly detected if it is on the instrument panel, in the glove box or on the floor.

        • Communication may not be possible if the electrical key transmitter sub-assembly is within 0.2 m (0.656 ft.) of the shift lever.

        Tip:

        Perform the inspection for both inspection points.

      5. B340887C01

        *a

        Inspection Point

        Inspect the push start operating range (rear floor). Place the key on the rear seat at either inspection point so that it is facing in the direction shown in the illustration and check that the hybrid control system can be started.

        Note:
        • Even if the key is within the vehicle interior detection area, the key may not be properly detected if it is on the instrument panel, in the glove box or on the floor.

        • Communication may not be possible if the key is within 0.2 m (0.66 ft.) of the center of the rear seat cushion.

        Tip:

        Perform the inspection for both inspection points.

      6. B340884C01

        *a

        Inspection Point

        Inspect the push start operating range (inside luggage). Place the key at either inspection point and check that the hybrid control system can be started.

        Note:
        • Even if the key is within the vehicle interior detection area, the key may not be properly detected if it is on the instrument panel, in the glove box or on the floor.

        • Communication may not be possible if the key is within 0.2 m (0.66 ft.) of the center of the luggage.

        Tip:

        Perform the inspection for both inspection points.

    8. Check the transmitter battery saving function.

      1. Press the unlock button of the electrical key transmitter sub-assembly twice while pressing the lock button and check that the electrical key transmitter sub-assembly LED blinks 4 times and enters transmitter battery saving mode.

      2. Check that the entry and start system (for Entry Function) does not operate while in transmitter battery saving mode.

        Tip:

        To cancel transmitter battery saving mode, press a button of the electrical key transmitter sub-assembly.

    9. Check the entry cancel function.

      1. Cancel the entry and start system and check that all the functions of the entry and start system (for Entry Function) no longer operate.

        Tip:
        • Refer to the following procedures to cancel the entry and start system (for Entry Function).

          Click here

        • While the entry and start system is canceled, it is possible to lock and unlock the doors with the wireless operation, and the start system can be operated by holding the electrical key transmitter sub-assembly near the power switch.

      2. While the key cancel function (entry cancel function) is on, check that all functions of the entry and start system cannot be operated.

    10. Check the answer-back function (hazard warning light flashing and buzzer sounding).

      Entry Operation

      Wireless Buzzer*

      Hazard Warning Light

      Entry Door Lock

      Sounds once

      Flashes once

      Entry Door Unlock

      Sounds twice

      Flashes twice

      Entry Back Door Lock

      Sounds once

      Flashes once

      Entry Back Door Unlock

      Sounds twice

      Flashes twice

      • *: w/ Wireless Door Lock Buzzer Answer Back Function

  2. KEY DIAGNOSTIC MODE (Using GTS)

    Tip:
    • With key diagnostic mode, it is possible to check if the electrical key transmitter sub-assembly is operating properly with the selected electrical key antenna and within the selected detection area by the sounding of the wireless buzzer.

    • If the buzzer sounds with [CH1] displayed but not with [CH2], the electrical key transmitter sub-assembly cannot be detected by channel 2 due to a malfunction, such as wave interference.

    1. Enter the following menus: Body Electrical / Entry&Start / Utility / Communication Check (Key Diag Mode).

    2. Inspect the appropriate item according to the following table.

      Tester Display

      Inspection Item

      [CH1/CH2] Overhead + Driver Side*1

      Front door outside handle assembly (electrical key antenna) [for Driver Side]

      [CH1] Overhead + Driver Side*1

      [CH2] Overhead + Driver Side*1

      [CH1/CH2] Overhead + Passenger Side*2

      Front door outside handle assembly (electrical key antenna) [for Front Passenger Side]

      [CH1] Overhead + Passenger Side*2

      [CH2] Overhead + Passenger Side*2

      [CH1/CH2] Overhead + Front Room*3

      No. 1 indoor electrical key antenna assembly (front floor)

      [CH1] Overhead + Front Room*3

      [CH2] Overhead + Front Room*3

      [CH1/CH2] Overhead + Rear Room*4

      No. 2 indoor electrical key antenna assembly (rear floor)

      [CH1] Overhead + Rear Room*4

      [CH2] Overhead + Rear Room*4

      [CH1/CH2] Overhead + Back Door*5

      Electrical key antenna (outside luggage)

      [CH1] Overhead + Back Door*5

      [CH2] Overhead + Back Door*5

      [CH1/CH2] Luggage + Back Door (inside)*6

      No. 3 indoor electrical key antenna assembly (inside luggage)

      [CH1] Luggage + Back Door (inside)*6

      [CH2] Luggage + Back Door (inside)*6

      [CH1/CH2] Immobiliser Amp*7

      Amplifier (power switch)

      [CH1] Immobiliser Amp*7

      [CH2] Immobiliser Amp*7

    3. Bring the electrical key transmitter sub-assembly near the selected electrical key antenna and check that the wireless door lock buzzer sounds.

      Tip:

      The buzzer sounds in short, repeated beeps for all items except "Overhead + Rear Room"*4. For "Overhead + Rear Room"*4, the buzzer sounds in one long, continuous beep.

      1. B340881C01

        *a

        0.7 to 1 m (2.30 to 3.28 ft.)

        *1: Front door outside handle assembly (for Driver Side) (for LHD)

        Body Electrical > Entry&Start > Utility

        Tester Display

        Communication Check(Key Diag Mode)

        Tip:
        • Hold the electrical key transmitter sub-assembly at the same height as the front door outside handle assembly in the position shown in the illustration.

        • *2: Perform the same inspection for the front passenger side.

      2. B340882C01

        *a

        0.7 to 1 m (2.30 to 3.28 ft.)

        *1: Front door outside handle assembly (for Driver Side) (for RHD)

        Body Electrical > Entry&Start > Utility

        Tester Display

        Communication Check(Key Diag Mode)

        Tip:
        • Hold the electrical key transmitter sub-assembly at the same height as the front door outside handle assembly in the position shown in the illustration.

        • *2: Perform the same inspection for the front passenger side.

    4. B340886C01

      *a

      Inspection Point

      *3: No. 1 indoor electrical key antenna assembly (front floor)

      Body Electrical > Entry&Start > Utility

      Tester Display

      Communication Check(Key Diag Mode)

      Tip:

      Place the electrical key transmitter sub-assembly on the front seat cushion of the driver seat or front passenger seat.

    5. B340887C01

      *a

      Inspection Point

      *4: No. 2 indoor electrical key antenna assembly (rear floor)

      Body Electrical > Entry&Start > Utility

      Tester Display

      Communication Check(Key Diag Mode)

      Tip:

      Place the electrical key transmitter sub-assembly on the steering column.

    6. B340888C01

      *a

      Approximately 0.7 m (2.30 ft.)

      *5: Electrical key antenna (outside luggage)

      Body Electrical > Entry&Start > Utility

      Tester Display

      Communication Check(Key Diag Mode)

      Tip:

      Hold the electrical key transmitter sub-assembly at the same height as the rear bumper upper surface and align it with the center of the rear of the vehicle as shown in the illustration.

    7. B340884C01

      *a

      Inspection Point

      *6: No. 3 indoor electrical key antenna (inside luggage)

      Body Electrical > Entry&Start > Utility

      Tester Display

      Communication Check(Key Diag Mode)

      Tip:

      Place the electrical key transmitter sub-assembly in the luggage. Even if the electrical key transmitter sub-assembly is in the luggage, the buzzer may not sound.

    8. B323969

      *7: Amplifier (power switch)

      Body Electrical > Entry&Start > Utility

      Tester Display

      Communication Check(Key Diag Mode)

      Tip:

      While facing the logo side of the electrical key transmitter sub-assembly towards the power switch, hold the transmitter near the power switch.