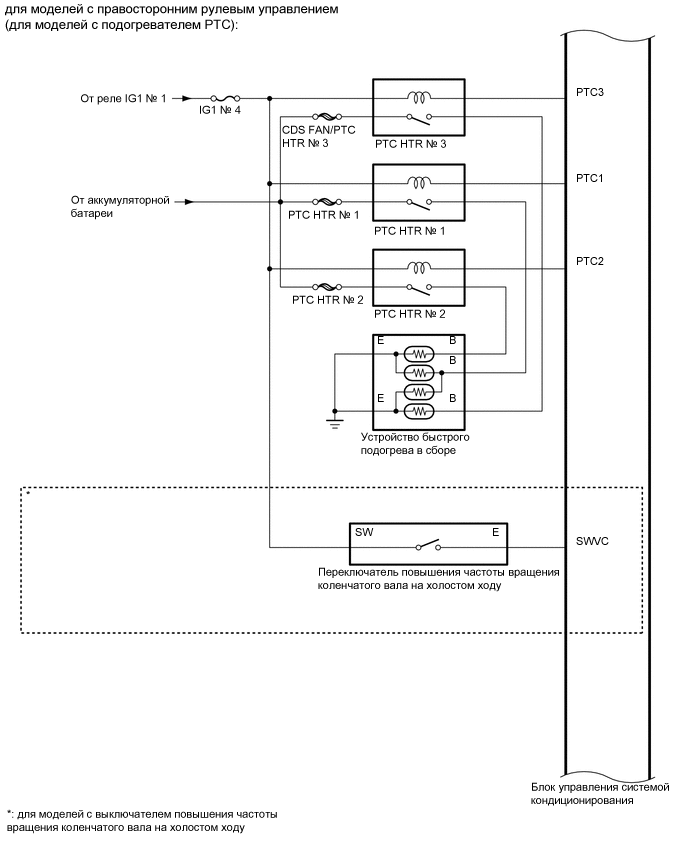
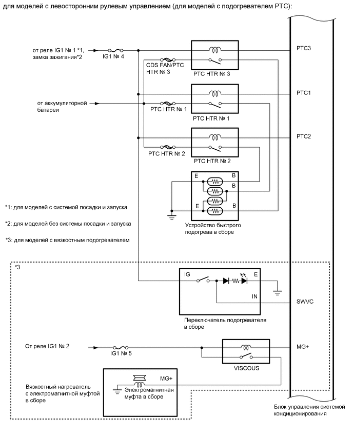
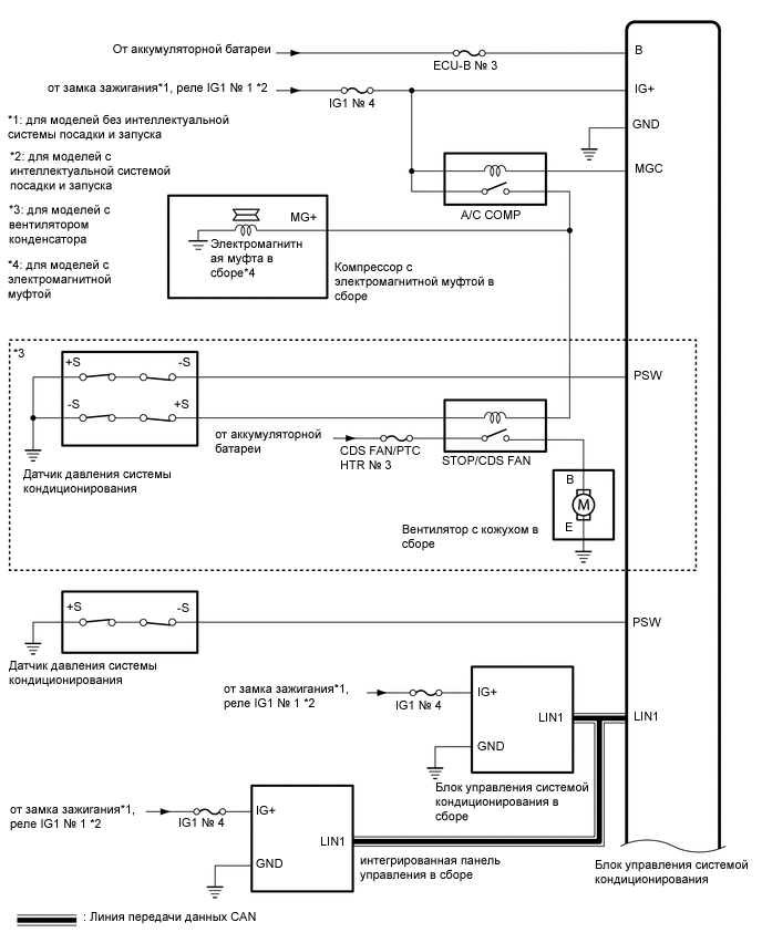
СИСТЕМА КОНДИЦИОНИРОВАНИЯ (для моделей с автоматическим кондиционером) СХЕМА СИСТЕМЫ

B003PI5E02
B003S8NE01
B003KWDE01
B003NJQE01
B003KUFE01
Таблица обмена данными
Передатчик Приемник Сигнал Линия передачи данных
Блок управления системой кондиционирования в сборе ECM Запрос отопителя на повышение частоты вращения коленчатого вала двигателя на холостом ходу CAN
Запрет зарядки
Предварительный запрос управления системой кондиционирования
Запрет отключения при разгоне
Блок управления системой кондиционирования в сборе Щиток приборов в сборе Дисплей температуры окружающего воздуха CAN
ECM Блок управления системой кондиционирования в сборе Информация о типе двигателя 1 CAN
Информация о типе двигателя 2
Информация о типе двигателя 3
Информация о типе двигателя 4
Данные о частоте вращения коленчатого вала двигателя
Температура охлаждающей жидкости
Команда на принудительную рециркуляцию воздуха в салоне при высокой температуре охлаждающей жидкости
Величина продолжительности включения альтернативного поля
Щиток приборов в сборе Блок управления системой кондиционирования в сборе Индикация температуры окружающего воздуха CAN
Данные датчика температуры окружающего воздуха
Сигнал скорости автомобиля (от щитка приборов для других устройств)
Панель управления системой кондиционирования в сборе Блок управления системой кондиционирования в сборе Управление переключателем AUTO LIN
Управление переключателем OFF
Сигнал работы переключателя вентилятора (повышение, понижение)
Срабатывание переключателя режима
Срабатывание выключателя переднего оттаивателя
Срабатывание переключателя режима впуска
Срабатывание выключателя системы кондиционирования
Срабатывание переднего переключателя установки температуры
Блок управления системой кондиционирования в сборе Панель управления системой кондиционирования в сборе Команда отображения на передней панели LIN
Управление индикацией режима AUTO
Команда выключателя системы кондиционирования
Команда переключателя режима
Команда отображения режима работы обогревателя заднего стекла
Команда отображения режима работы оттаивателя ветрового стекла
Команда отображения режима рециркуляции/забора свежего воздуха
Команда отображения установленной температуры в передней части салона
Управление индикацией скорости вентилятора
Интегрированная панель управления в сборе Блок управления системой кондиционирования в сборе Управление индикацией на задней панели LIN
Управление индикацией скорости вентилятора
Управление индикацией режима выпуска воздуха в задней части салона
Блок управления системой кондиционирования в сборе Интегрированная панель управления в сборе Управление переключателем AUTO LIN
Управление переключателем OFF
Управление переключателем, связанным с задним вентилятором (нажатие)
Управление переключателем, связанным с режимом выпуска воздуха в задней части салона (нажатие)